Magnokraft: bezgłośny gwiazdolot z napędem magnetycznym
(2-języcznie po angielsku For English version click on this flag i polsku Dla polskiej wersji kliknij na ta flage)
Uaktualizowano:
21 października 2013


Kliknij "X" lub "No" jeśli np. plansza rzekomych błędów, lub reklama, usiłuje przeszkodzić w oglądnięciu tej strony.


Menu 1:
(Ta strona:)

(Wybór języka:)


(Organizujące:)

Strona główna

Skorowidz

Menu 2

Menu 4

FAQ

Tekst [11] w PDF


(Polskie tutaj:)

Magnokraft

Magnokraft w PDF

Źródłowa replika tej strony

Komora oscylacyjna

Napędy

Aleksander Możajski

Dr inż. Jan Pająk

Wehikuły czasu

Nieśmiertelność

Darmowa energia

Telekinetyczne ogniwo

Grzałka soniczna

Telekinetyka

Samochody bez spalin

Telekineza

Strefa wolna od telekinezy

Telepatia

Trzęsienia ziemi

Sejsmograf

Artyfakt

Koncept Dipolarnej Grawitacji

Totalizm

Pasożytnictwo

Karma

Prawa moralne

Nirwana

Dowód na duszę

Wehikuły czasu

Nieśmiertelność

Napędy

Magnokraft

Komora oscylacyjna

Militarne użycie magnokraftu

Tapanui

Nowa Zelandia

Atrakcje Nowej Zelandii

Dowody działań UFO na Ziemi

Fotografie UFO

Chmury-UFO

Bandyci wśród nas

Tornado

Huragany

Katrina

Lawiny ziemne

Zburzenie hali w Katowicach

Ludobójcy

26ty dzień

Petone

Przepowiednie

Plaga

Podmieńcy

WTC

Columbia

Kosmici

UFOnauci

Formalny dowód na istnienie UFO

Zło

Antychryst

O Bogu naukowo

Dowód na istnienie Boga

Metody Boga

Biblia

Wolna wola

Prawda

O mnie (dr inż. Jan Pająk)

Starsze "o mnie"

Poszukuję pracy

Aleksander Możajski

Świnka z chińskiego zodiaku

Zdjęcia ozdobnych świnek

Radości po 60-tce

Kuramina

Uzdrawianie

Owoce tropiku

Owoce w folklorze

Książka kucharska

Ewolucja ludzi

Wszystko-w-jednym

Grecka klawiatura

Rosyjska klawiatura

Rozwiązanie kostki Rubika 3x3=9

Rozwiązanie kostki Rubika 4x4=16

Wrocław

Malbork

Milicz

Bitwa o Milicz

Św. Andrzej Bobola

Liceum Ogólnokształcące w Miliczu

Klasa Pani Hass z LO Milicz

Absolwenci 1970

Nasz rok

Wykłady 1999

Wykłady 2001

Wykłady 2004

Wykłady 2007

Wieś Cielcza

Wieś Stawczyk

Wszewilki

Zwiedzaj Wszewilki i Milicz

Wszewilki jutra

Zlot "Wszewilki-2007"

Unieważniony Zjazd "2007"

Poprzedni Zlot "2006"

Raport Zlotu "2006"

Korea

Hosta

Lepsza ludzkość

Partia totalizmu

Statut partii totalizmu

FAQ - częste pytania

Replikuj

Memoriał

Sabotaże

Skorowidz

Menu 2

Menu 4

Źródłowa replika strony menu

Tekst [11] w PDF

Tekst [10] w PDF

Tekst [8p/2]

Tekst [8p]

Tekst [7]

Tekst [7/2]

Tekst [7b]

Tekst [6/2]

[5/4]: 1, 2, 3

Tekst [4c]: 1, 2, 3

Tekst [4b]

Tekst [3b]

Tekst [2]

[1/3]: 1, 2, 3

X tekst [1/4]

Monografia [1/4]:
P, 1, 2, 3, E, X

Monografia [1/5]



(English here:)

Magnocraft

Magnocraft in PDF

Source replica of this page

Oscillatory Chamber

Propulsion

Aleksander Możajski

Dr Eng. Jan Pajak

Time vehicles

Immortality

Free energy

Telekinetic cell

Sonic boiler

Telekinetics

Zero pollution cars

Telekinesis

Telekinesis Free Zone

Telepathy

Earthquake

Seismograph

Artefact

Concept of Dipolar Gravity

Totalizm

Parasitism

Karma

Moral laws

Nirvana

Proof of soul

Time vehicles

Immortality

Propulsion

Magnocraft

Oscillatory Chamber

Military use of magnocraft

Tapanui

New Zealand

New Zealand attractions

Evidence of UFO activities

UFO photographs

Cloud-UFOs

Bandits amongst us

Tornado

Hurricanes

Katrina

Landslides

Demolition of hall in Katowice

Predators

26th day

Petone

Prophecies

Plague

Changelings

WTC

Columbia

Aliens

UFOnauts

Formal proof for the existence of UFOs

Evil

Antichrist

About God

Proof for the existence of God

God's methods

The Bible

Free will

Truth

About me (Dr Eng. Jan Pajak)

Old "about me"

My job search

Aleksander Możajski

Pigs from Chinese zodiac

Pigs Photos

Healing

Tropical fruit

Fruit folklore

Cookbook

Evolution of humans

All-in-one

Greek keyboard

Russian keyboard

Solving Rubik's cube 3x3=9

Solving Rubik's cube 4x4=16

Wrocław

Malbork

Milicz

Battle of Milicz

St. Andrea Bobola

Village Cielcza

Village Stawczyk

Wszewilki

Wszewilki of tomorrow

Korea

Hosta

1964 class of Ms Hass in Milicz

TUWr graduates 1970

Lectures 1999

Lectures 2001

Lectures 2004

Lectures 2007

Better humanity

Party of totalizm

Party of totalizm statute

FAQ - questions

Replicate

Memorial

Sabotages

Index of content with links

Menu 2

Menu 4

Source replica of page menu

Text [11] in PDF

Text [8e/2]

Text [8e]

Text [7]

Text [7/2]

Text [6/2]

Text [5/3]

Figs [5/3]

Text [2e]

Figures [2e]: 1, 2, 3

Text [1e]

Figures [1e]: 1, 2, 3

X text [1/4]

Monograph [1/4]:
E, 1, 2, 3, P, X

Monograph [1/5]


(Hier auf Deutsch:)

Freie Energie

Telekinesis

Moralische Gesetze

Totalizm

Über mich

Menu 2

Menu 4

Quelreplica dieser Seite


(Aquí en espańol:)

Energía libre

Telekinesis

Leyes morales

Totalizm

Sobre mí

Menu 2

Menu 4

Reproducción de la fuente de esta página


(Ici en français:)

Énergie libre

Telekinesis

Lois morales

Totalizm

Au sujet de moi

Menu 2

Menu 4

Reproduction de source de cette page


(Qui in italiano:)

Energia libera

Telekinesis

Leggi morali

Totalizm

Circa me

Menu 2

Menu 4

Replica di fonte di questa pagina




Menu 2:

(Przesuwne)

Oto wykaz wszystkich stron które powinny być dostepne pod niniejszym adresem (tj. na tym serwerze), w zestawieniu językowym - w 8 językach. Jest on częściej aktualizowanym powtórzeniem stron zestawionych też w "Menu 1". Wybierz poniżej interesującą Cię stronę manipulując suwakami, potem kliknij na nią aby ją uruchomić:

Tu powinna być wyświetlona strona menu2.htm.

(Ten sam wykaz daje się też wyświetlić z "Menu 1" poprzez kliknięcie tam na "Menu 2".)



Menu 3: (Alternatywne adresy tej strony:)

(Na płatnych serwerach:)

totalizm.pl

energia.sl.pl

totalizm.com.pl

(Na darmowym hostingu z FTP:)

artefact.uhostall.com

bobola.net78.net

cielcza.5GBFree.com

cielcza.iwebs.ws

geocities.ws/immortality

karma.khoai.vn

pajak.fateback.com

proof.t15.org

rex.dasfree.com

soul.frihost.org

tornado.fav.cc

tornado.zxq.net

(Stare bo rzadko aktualizowane:)

quake.hostami.me

bible.webng.com

malbork.webng.com

tornados2005.narod.ru

petone.loomhost.com

energy.atspace.org

dhost.info/nirvana

pajak.fateback.com

morals.mypressonline.com

alert.1hwy.com

capsule.20m.com

free.7host05.com/Pajak

freewebs.com/1970r

newzealand.0me.com

prawda.20fr.com

prism.20fr.com

totalism.50megs.com

totalizm.20fr.com

totalizm.fanspace.com

magnocraft.20fr.com

ufonauci.w.interia.pl




Menu 4:

(Przesuwne)

Oto wykaz adresów wszystkich totaliztycznych witryn działających w dniu aktualizacji tej strony. Pod każdym z owych adresów powinny być dostępne wszystkie totaliztyczne strony wyszczególnione w "Menu 1" i "Menu 2", włączajac w to również ich odmienne wersje językowe (tj. wersje w językach: polskim, angielskim, niemieckim, francuskim, hiszpańskim, włoskim, greckim i rosyjskim). Najpierw więc w poniższym okienku wybierz adres serwera z każdego masz zamiar skorzystać manipulując suwakami, potem kliknij na jego adres, kiedy zaś otworzy się strona reprezentująca ów serwer wówczas wybierz sobie z "Mednu 1" lub z "Menu 2" interesującą cię stronę i kliknij na nią aby ją uruchomić i przeglądnąć:

Tu powinna być wyświetlona strona menu.htm.

(Niniejszy wykaz daje się też wyświetlić z "Menu 1" poprzez kliknięcie tam na "Menu 4".)


Wyobraźmy sobie statek kosmiczny napędzany pulsującym polem magnetycznym. Jego kształt będzie przypominał odwrócony do góry dnem talerz. Wykonany on będzie z przeźroczystego materiału o regulowanym stopniu odbicia i przepuszczania światła. Stąd w obecności silnego światła słonecznego odbijał on będzie promienie słoneczne jak lustro błyszczące metalicznym, srebrzystym kolorem nowej cyny. Natomiast podczas lotów nocami będzie on całkowicie przeźroczysty. Potrafił on będzie mknąć bezgłośnie w przestworzach z ogromnymi szybkościami, a także w razie potrzeby zawisnąć nieruchomo w jednym punkcie jak dzisiejszy balon. Będzie zdolny do latania w próżni kosmicznej, powietrzu, wodzie, rozpalonych gazach i magmie, a nawet w materii stałej takiej jak skały czy budynki - w których drążył będzie szkliste tunele. Będzie w stanie uczynić się całkowicie niewidzialnym dla ludzkich oczu i kamer. Będzie także niezniszczalny dla obecnych ludzkich rodzajów broni, jako że potężne prądy elektryczne które może on indukować w każdym wymaganym momencie, są w stanie eksplozyjnie odparować cały materiał owych broni. Wyniesie on ludzi do gwiazd. Awansuje także naszą cywilizację do statusu międzygwiezdnego. Z tego powodu, nasza planeta przestanie być dla nas więzieniem, a stanie się wyłącznie naszą żywicielką.


Część #A: Informacje wprowadzające tej strony:

      

#A1. Jakie są cele tej strony:

       Głównym celem tej strony jest udostępnienie czytelnikowi napisanego codziennym językiem podsumowania najważniejszych informacji na temat bezszelestnego statku międzygwiezdnego z napędem magnetycznym zwanego "magnokraftem".
       Niniejsza strona podsumowuje w wielkim skrócie najbardziej istotne informacje o "magnokrafcie". Oryginalnie informacje te zaprezentowane są szczegółowo w tomie 3 mojej najnowszej monografii [1/5] o tytule "Zaawansowane urządzenia magnetyczne" . Zasadniczym wynikiem jaki chciałbym osiągnąć poprzez zaprezentowanie tego podsumowania, jest uświadomienie, że istnieje całkowicie już rozpracowany statek międzygwiezdny, który od kilkudziesięciu lat doprasza się aby podjąć jego urzeczywistnianie. Statek ten jest nieporównanie lepszy od prymitywnej techniki rakietowej przy której upierają się tak zawzięcie dzisiejsi eksploratorzy kosmosu. Jego budowa jest też znacząco tańsza i korzystniejsza dla naturalnego środowiska, niż budowa dzisiejszych rakiet kosmicznych. Na dodatek, statek ten może być zrealizowany już przy obecnym poziomie nauki i techniki na Ziemi. Jego realizacji jest w stanie też dokonać nawet małe państwo, a nawet co większa instytucja przemysłowa. Z kolei ci którzy faktycznie urzeczywistnią ten statek, całkowicie przerysują mapy nie tylko naszej planety, ale również i całego wszechświata. Na dodatek, zbudowanie tzw. komory oscylacyjnej wymaganej do nepędu magnokraftu, otworzy też możliwośc zbudowania całego szeregu innych niezwykłych i ogromnie przydatnych urządzeń wykorzystujących ową komorę, włączając w to bezzanieczyszczeniowe samochody, urządzenia darmowej energii, a nawet wehikuły czasu (opisane m.in. na stronie "immortality_pl.htm"0. (Owe "wehikuły czasu pozwolą; ludziom m.in. wydłużać swe życie w nieskończoność poprzez cofanie ich w czasie do lat młodości po każdym osiągnięciu przez nich wieku starczego.)
       Niniejsza strona uzupełnia też i poszerza dwie inne strony o pokrewne tematyce. Pierwsza z tych pokrewnych stron nosi nazwę propulsion_pl.htm. Opisuje ona ową "Tablicę Cykliczności" wspominaną w punkcie #A2 poniżej, z której wyniknęła właśnie możliwość zbudowania magnokraftów na Ziemi. (Owa "Tablica Cykliczności" to jakby odpowiednik "Tablicy Mendelejewa". Tyle że zamiast dla pierwiastków chemicznych obowiązuje ona dla napędów ziemskich. Na podstawie informacji o napędach które ludzie już wynaleźli i zbudowali, tablica ta wskazuje jakie napędy ludzie zbudują w przyszłości.) Druga z owych pokrewnych stron nosi nazwę oscillatory_chamber_pl.htm. Opisuje ona budowę i działanie urządzenia napędowego magnokraftu, czyli owego urządzenia zwanego "komorą oscylacyjną" (po angielsku - "oscillatory chamber").


#A2. Co to takiego ten magnokraft:

       Kiedy Bóg stwarzał nasz świat fizyczny, w swojej nieskończonej mądrości zakodował on w ów świat cały szereg najróżniejszych regularności. Dla przykładu, w naszym świecie wszystko jest rządzone przez odpowiednie prawa, wszystko jest symetryczne, wszystko zostało stworzone w parach, itd., itp. To dlatego, jeśli mówimy o mężczyźnie, zawsze wiemy że istnieje też kobieta, jeśli mówimy o ciele, wówczas możemy być pewni iż istnieje także i dusza, jeśli mówimy o cząsteczce, wówczas wiemy że istnieje też antycząsteczka, kiedy mówimy o zjawisku, wówczas wyczuwamy że istnieje też jego przeciwzjawisko, podobnie każdy plus posiada minus, każde pytanie posiada odpowiedź, każdy problem posiada rozwiązanie, itd., itp.
       Ową boską zasadę, że wszystko posiada odpowiadającą mu parę, wypełniają też urządzenia napędowe. Tzw. "Tablica Cykliczności" opisana na odrębnej stronie o nazwie propulsion_pl.htm, ujawnia nam żelazną regularność której działanie staje się widoczne po historycznej analizie już istniejących urządzeń napędowych. Regularność tą można wyrazić słowami, że dla każdego "silnika" daje się zbudować odpowiadający mu "pędnik". Zgodnie z tą regularnością, przykładowo "silnik" nazywany "wiatrakiem" już posiada odpowiadający mu "pędnik" w postaci "żagla". "Silnik" o nazwie "turbina" już posiada swój "pędnik" o nazwie "śmigło". "Silnik" o nazwie "silnik spalinowy" już posiada swój "pędnik" o nazwie "dysza rakiety" (np. dysza typowej rakiety to cylinder silnika spalinowego z którego usunięto tłok). Itd., itp. Jeśli więc ciągle istnieje jakieś "silnik" dla którego nadal NIE zbudowano jeszcze "pędnika", wówczas na podstawie powyższej regularności możemy być pewni że "pędnik" ten daje się zbudować. Co więcej, analizując historyczne daty jakie znamy z "Tablicy Cykliczności" że opisują one odstęp czasu pomiędzy zbudowaniem jakiegoś "silnika" a zbudowaniem odpowiadającego mu "pędnika", możemy nawet przewidzieć kiedy dokładnie ten nieistniejący "pędnik" będzie zbudowany.
       My wszyscy znamy "silnik" który nadal NIE posiada odpowiadającego mu "pędnika". Silnikiem tym jest wszystkim znany "silnik magnetyczny" - który z uwagi na rodzaj energii jaką on konsumuje, w codziennym życiu nazywany jest "silnikiem elektrycznym". Skoro ów "silnik magnetyczny" NIE posiada jeszcze odpowiadającego mu "pędnika magnetycznego", my wszyscy możemy być pewni że z upływem czasu taki "pędnik magnetyczny" zostanie przez kogoś zbudowany. Omawiana tu "Tablica Cykliczności" ujawnia nawet jak będzie on działał. Wehikuł który będzie nim napędzany, ja już rozpracowałem pod nazwą "magnokraft". Niniejsza strona opisuje ten wehikuł.
       Na podstawie powyższych rozważań jesteśmy więc w stanie zdefiniować czym jest ów opisywany tutaj "magnokraft". Definicja ta stwierdza co następuje. Nazwa "magnokraft" została przyporządkowana do bezgłośnego wehikułu latającego który do lotów wykorzystuje zasadę działania będącą pędnikowym odpowiednikiem dla "silnika magnetycznego" popularnie nazywanego "silnikiem elektrycznym". Innymi słowy, "magnokraft" jest to bezszelestny statek kosmiczny który lata z szybkościami bliskimi światła oraz który wykazuje posiadanie całej gamy niezwykłych możliwości wymienionych na wstępie do tej strony, tylko ponieważ wykorzystuje on do swego napędu te same magnetyczne oddziaływania siłowe oraz te same zjawiska wywoływane przez pulsujące pola magnetyczne, które w chwili obecnej są już wykorzystywane w tzw. "asynchronicznych silnikach elektrycznych".
* * *
       Sercem magnokraftu będzie urządzenie napędowe o kształcie kostki sześciennej, nazywane "komora oscylacyjna". Urządzenie to po prostu jakby bardziej przyszłościowa wersja dzisiejszych elektromagnesów. Komora oscylacyjna jest opisana szczegółowo w tomie 2 monografii [1/5] o tytule "Zaawansowane urządzenia magnetyczne" - upowszechnianej gratisowo poprzez niniejszą stronę internetową. W magnokrafcie komora ta będzie wypełniała funkcje bardzo podobne do tych wypełnianych przez pędniki odrzutowe z dzisiejszych samolotów. Komora oscylacyjna jest również warta naszej uwagi. Dzieje się tak ponieważ komora ta stanowi urządzenie zupełnie nowej konstrukcji, które nie tylko iż generuje ekstremalnie silne pola magnetyczne, oraz które jest w stanie precyzyjnie sterować wszelkimi parametrami wytwarzaneg pola magnetycznego, ale jest ona także w stanie akumulować w sobie nieograniczone ilości energii. Ponadto, po zbudowaniu komora oscylacyjna pozwoli na urzeczywistnienie NIE tylko magnokraftów opisywanych na niniejszej stronie, ale także całej gamy innych niezwykłych urządzeń, włączając w to również wehikuły czasu opisane m.in. na stronie "immortality_pl.htm".
* * *
       Na pierwszy trop zasady działania magnokraftu wpadłem już w 1972 roku - przy okazji opracowywania "Tablicy Cykliczności". Jednak pełne rozpracowanie budowy i działania tego statku kosmicznego zakończyłem dopiero na krótko przed 1980 rokiem. Od pierwszej też chwili kiedy zająłem się badaniami nad tym wehikułem, nieustannie poszukuję instytucji, która sponsorowałaby oficjalne badania i budowę tego statku międzygwiezdnego. Pomimo jednak wielokrotnego zwracania się do setek najróżniejszych instytucji na świecie, z NASA oraz European Space Agency na czele, jak dotychczas instytucji takiej nie znalazłem. Zaczynam więc posądzać, że prawdopodobnie instytucja taka nie istnieje jeszcze na Ziemi i najpierw musi ona być zorganizowana. Co więc jest aż tak szczególnego w owym magnokrafcie i w jego komorze oscylacyjnej, że nasza cywilizacja powinna pilnie zająć się ich zbudowaniem. Ano proponuję rzucić okiem na tą stronę internetową aby się tego dowiedzieć!


#A3. Jak magnokraft wygląda:

       Wygląd magnokraftu jest ściśle uzależniony od magnetycznej zasady działania na jakiej ten statek międzygwiezdny dokonuje swoich lotów. Z kolei owa magnetyczna zasada jego lotów powoduje, że wygląd magnokraftu jest dokładnie opisany całym szeregiem równań matematycznych zestawionych na "Rys. F18" z punktu #E3 poniżej. Najbardziej istotną wielkością owych równań, jest "n" - czyli "liczba pędników bocznych które posiada dany typ magnokraftu". Na poniższym "Rys. A1(b)" pokazano wygląd najmniejszego typu magnokraftu, nazywanego typem "K3". W owym typie K3, liczba pędników bocznych wynosi n=8. Z uwagi na niskie koszty budowy tego typu, na jego poręczność, oraz na jego niewielkie wymiary, typ K3 magnokraftu można będzie uważać za najbardziej popularny, a stąd i najbardziej typowy.
       Magnokraft typu K3 wygląda jak rodzaj latającego talerza lub spodka, w którym kabina załogi mieści się w jego ściankach bocznych, pędnik główny jest zamontowany w jego centrum, zaś n=8 pędników bocznych jest umieszczone w poziomym kołnierzu obiegającym podstawę tego wehikułu.
* * *
       Zauważ że można zobaczyć powiększenie każdej ilustracji z niniejszej strony internetowej. W tym celu wystarczy zwykle kliknąć na tą ilustrację. Ponadto większość tzw. browser'ów które obecnie są w użyciu, włączając w to populany "Internet Explorer", pozwala na załadowanie każdej ilustracji do swojego własnego komputera, gdzie można jej się do woli przyglądać, gdzie daje się ją zredukować lub powiększyć, a także gdzie ją można wydrukować za pomocą posiadanego przez siebie software graficznego.
* * *
       Wszystkie ilustracje które pokazuje ta strona i na które się ona powołuje, są celowo pozaopatrywane w dokładnie te same numery jakie tym samym ilustracjom zostały przyporządkowane w tomie 3 moich gratisowych monografii naukowych oznaczanych symbolami [1/5] oraz [1/4]. Stąd czytelnicy mogą poprzeglądać sobie zarówno owe ilustracje, jak i ilustracje im pokrewne, za pośrednictwem stron oferujących owe gratisowe monografie [1/4] i [1/5], a wyszczególnionych poniżej w punkcie #A4, a także w "Menu 1" i w "Menu 2".
* * *
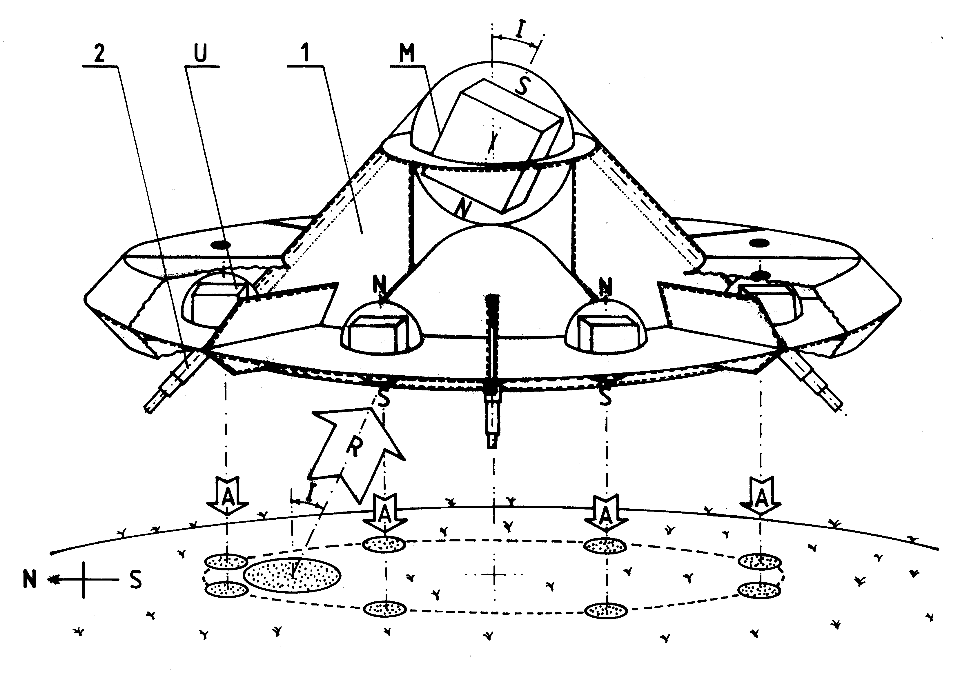
Rys. C1(b)

Rys. C1(b) z [1/5] (oraz G1(a) z [1/5]): Wygląd magnokraftu oglądanego z boku.
       Powyższy rysunek faktycznie jest reprodukcję rysunku C1 "b" (a także G1 "a") z mojej najnowszej monografii [1/5]. Ilustruje on wygląd boczny najmniejszego typu dyskoidalnego magnokraftu, nazywanego typem K3. Kształt i wymiary tego statku są ściśle zdefiniowane zestawem równań wyprowadzonych z warunków konstrukcyjnych i operacyjnych owego statku (równania te są wyszczególnione na rysunku G18 poniżej, który też został zaczerpnięty z monografii [1/5]). Wymiary magnokraftu również są definiowane przez owe równania. Powłoka tego wehikułu wykonana została z lustro-podobnego, przeźroczystego materiału, który jednak ma płynnie sterowalny stopień refleksyjności dla światła. Jednym więc razem (np. podczas przelotów statku w pobliżu słońc) załoga magnokraftu może zmienić tą powłokę w srebrzyście lśniące lustro odbijające całkowicie wszelkie padające na nią światło, innym zaś razem (np. podczas lotów nocnych lub w obszarach o przyciemnionym świetle) może uczynić ją całkowicie przeźroczystą. W przypadku gdy powłoka ta uczyniona zostaje przeźroczystą, postronny obserwator może zobaczyć wewnętrzne podzespoły statku (np. pędniki, kabiny, fotele załogi, poziomy, przegrody, itp.) - jak pokazano na powyższym rysunku #A1(b). Na powyższej ilustracji pokazano siedem kulistych pędnikow bocznych (z całkowitej liczby n=8 tych pędników) osadzonych w poziomym, soczewko-podobnym kołnierzu. Każdy z owych pędników zawiera w sobie szescienną kapsułę dwukomorową złożoną z dwóch komór oscylacyjnych. Osiem pionowych przegród dzieli kołnierz tego wehikułu na osiem oddzielnych pomieszczeń, każde z których zawiera jeden pędnik boczny. Poziomy pierscień separacyjny, wykonany - podobnie jak poszycie kabiny załogi, z materiału nieprzenikalnego dla pola magnetycznego, odseparowywuje bieguny magnetyczne każdego pędnika, zmuszając jego pole do cyrkulowania poprzez otoczenie. Na górnej powierzchni kołnierza widoczne też są trzy lampy SUB (tj. odpowiedniki dla lamp pozycyjnych dzisiejszych samolotów - patrz też rysunek G30 w [1/5]). W centrum wehikułu pokazany jest pojedyńczy pędnik główny wraz z jego kapsułą dwukomorową. W obrębie pierścieniowatej kabiny załogi, wciśniętej pomiędzy pędnik główny i pędniki stabilizacyjne, widoczne jest siedzenie pilota. (Typowa załoga magnokraftu typu K3 obejmuje 3 osoby, mianowicie: pilota, nawigatora, oraz inżyniera pokładowego.)


#A4. Gratisowa oferta monografii z naukowymi opisami magnokraftu:

       Niniejsza strona prezentuje jedynie ogólne podsumowanie najbardziej istotnych informacji o magnokrafcie. Jeśli jednak czytelnika zainteresuje niniejsze krótkie podsumowanie tego statku kosmicznego, wówczas nic NIE stoi na przeszkodzie aby pogłębić sobie poznane tutaj szczegóły poprzez dodatkowe sprowadzenie sobie i poczytanie oferowanych za darmo w internecie bardzo precyzyjnych, bo naukowych, opisów tego statku. Te szeroko ilustrowane opisy są już dostępne w bezpiecznym formacie PDF (do którego jak wiadomo wirusy nie są w stanie się doczepić) w formie gotowej do przeczytania z ekranu, lub gotowej do wydrukowania. Magnokraft zaprezentowany jest w tomach 3 aż dwóch monografii naukowych jakie autoryzuję, a jakie w swoich opracowaniach oznaczam numerami [1/5] i [1/4]. Te gratisowe monografie można sobie załadować z internetu np. po kliknięciu na następujące zielone linki monografia [1/5] lub monografia [1/4]. (Linki te przeniosą czytelnika do odrębnych stron z jakich każdy może sobie załadować owe darmowe tomy 3 z naukowymi opisami magnokraftu.)


Część #B: Poznajmy budowę i działanie magnokraftu:

      

#B1. Zasada działania magnokraftu:

       Najważniejsza zasada działania magnokraftu opiera się na dobrze każdemu znanej obserwacji empirycznej, że każde dwa magnesy o podobnej wielkości magnetycznej muszą się nawzajem odpychać - jeśli tylko zostaną odpowiednio zorientowane względem siebie samych. Stąd jeśli jednym z owych magnesów jest Ziemia, zaś drugim jest szczególnie potężny magnes wykonany przez człowieka i nazywany "pędnikiem magnetycznym", wówczas odpowiednia siła odpychania musi powstać pomiędzy nimi. (Sczególnie kiedy "długość efektywna", albo wymiar magnetyczny, obu tych magnesów są do siebie zbliżone.) Podsumujmy więc tutaj tą najważniejszą zasadę: magnocraft jest w stanie latać, ponieważ potężne "pędniki magnetyczne" jakie są wprowadzone do jego konstrukcji odpychają się od naturalnego pola magnetycznego które otacza Ziemię, Słońce, Galaktykę, itp.
       Oczywiście, siła odpychania magnetycznego używana jest przez magnokraft tylko do wzlotów w górę. Kiedy zaś ten wehikuł zamierza się obniżyć, te same pędniki magnetyczne zaczynają generować siły przyciągania magnetycznego, które zepchną go ku ziemi. Wehikuł ten jest również w stanie generować poziome siły napędowe, poprzez albo pochylanie swoich pędników, albo też generowanie magnetycznego odpowiednika dla tzw. "Efektu Magnusa".
       Jeden pędnik magnetyczny nie jest sam w stanie dostarczyć magnokraftowi wymaganych zdolności lotnych i manewrowych, podobnie jak pojedyńcze koło nie jest w stanie umożliwić zbudowania samochodu. Stąd w opisywanym tutaj statku musi być wykorzystywany cały szereg takich pędników ściśle współpracujących ze sobą (podobnie jak w samochodzie wykorzystywane są co najmniej cztery koła dla zapewnienia jego jazdy i manewrowalności). Najbardziej optymalna konfiguracja pędników, która jest w stanie wypełnić wszystkie wymagania lotu i manewrowania danego wehikułu, nazywana jest tutaj "magnetycznym układem napędowym". Układ taki stosowany w napędzie magnokraftu pokazany jest na rysunku #F3 po prawej stronie (dla uproszczenia wyjaśnień przytoczonych poniżej, układ ten zilustrowany został w stanie magnetycznego zawisania ponad północnym biegunem magnetycznym Ziemi).
       Konfiguracja omawianego tutaj układu napędowego bazuje na kształcie dzwona. Z kolei dzwon jest najbardziej samo-stabilizującą się formą ze wszystkich prostych kształtów znanych fizyce. Bazowanie tej konfiguracji na kształcie dzwona wynika z faktu, że w tym układzie napędowym rozkład sił nośnych i stabilizacyjnych przypomina konfigurację dzwonową, w której pojedynczy punkt zaczepienia dla siły nośnej przyłożony jest w podwyższonym centrum, natomiast pierścień sił stabilizujących umieszczony jest poniżej owego punktu zaczepienia w równych od niego odległościach. Z mechaniki doskonale nam wiadomo, że taki układ dzwonowy reprezentować musi formę fizykalną która wykazywała będzie najwyższą samo-stabilność swego ustawienia w przestrzeni, zaś po ewentualnym wytrąceniu jej z równowagi sama przywróci się do poprzedniej pozycji stabilności.
       Rozważmy teraz najważniejsze podzespoły i zasadę działania tego magnetycznego układu napędowego. Składa się on z dwóch odmiennych rodzajów pędników, tj. pojedynczego pędnika głównego (oznaczonego "M" na rysunku #G3 z [1/5] pokazanego po prawej stronie) zlokalizowanego w centrum, oraz określonej liczby pędników bocznych (na owym rysunku #G3 oznaczonych "U, V, W, X") rozłożonych w stałych odległościach od siebie na obwodzie obniżonego pierścienia. Zgodnie z wymogiem wyjaśnionym w podrozdziale G4.2 monografii [1/5], całkowita liczba "n" pędników bocznych musi być podzielna przez cztery. Pędnik główny w typowych przypadkach lotu magnokraftu jest tak zorientowany, aby odpychać się od pola magnetycznego Ziemi. (Wstępna część podrozdziału G1 w [1/5] wyjaśnia, że na północnym biegunie magnetycznym Ziemi takie odpychające zorientowanie pędników uzyskane będzie kiedy ich północny "N" biegun skierowany zostanie w dół.) Pędniki boczne zwykle są tak zorientowane aby przyciągane były przez pole magnetyczne Ziemi.
       Poprzez zwiększenie wydatku magnetycznego wytwarzanego przez pędnik główny (M) zorientowany względem pola Ziemi w odpychający sposób, uzyskane zostaje zwiększenie siły odpychającej "R". W chwili gdy owa siła odpychająca przekroczy siłę przyciągania grawitacyjnego "G", pędnik magnetyczny (M) zaczyna wzlatywać, wznosząc w powietrze cały podłączony do niego układ napędowy. Gdyby pędnik główny (M) operował w pojedynkę, wtedy jego lot natychmiast zostałby zakłócony poprzez moment magnetyczny jaki starałby się odwrócić orientację jego biegunów tak aby odpychanie magnetyczne "R" zostąpić przyciąganiem "A". Stąd, aby skompensować efekty owego momentu obrotowego wytwarzanego przez pole magnetyczne otoczenia i starającego się obrócić pędnik główny (M), w omawianym tu układzie napędowym konieczne są dodatkowe pędniki boczne (U, V, W, X). Ich zorientowanie magnetyczne jest przeciwstawne do zorientowania pędnika głównego (M), tj. jeśli pędnik główny jest odpychany przez pole otoczenia, wtedy pędniki boczne są przyciągane przez to pole. Jedna z możliwych konfiguracji owych pędników bocznych pokazana została na owym rysunku G3 z [1/5]. Pędniki boczne dostarczają stabilności lotu całemu układowi napędowemu. Poprzez odpowiednie nasterowanie wytwarzanych przez nie strumieni magnetycznych, pędniki boczne mogą wymusić balansowane zorientowanie układu napędowego (a za tym i całego wehikułu) dla dowolnej wysokości i pozycji jaką załoga może sobie zażyczyć.
       Układ napędowy opisany powyżej jest w stanie operować równie efektywnie w dwóch odmiennych pozycjach (patrz rysunek G4 z [1/5]) zwanych "pozycją stojącą" oraz "pozycją wiszącą". Poprzednie opisy referowały do pozycji stojącej. W pozycji wiszącej funkcje obu rodzajów pędników magnetycznych zostają odwrócone, tj. pędnik główny działa jako pojedynczy stabilizator, natomiat pędniki boczne wytwarzają siłę unoszącą. Podczas lotów poziomych w takiej pozycji wiszącej ponad powierzchnią Ziemi przyciąganie grawitacyjne "G" służy jako dodatkowy stabilizator. Stąd pozycja ta łączy lepszą stabilność z mniejszą mocą zaangażowaną we wytwarzanie pola magnetycznego wehikułu. Stąd zwyke będzie ona używana w przypadku gdy obszar lotu nie powinien być zbytnio zakłócony polem magnetycznym statku - np. podczas lotów ponad miastami (jednak dla załogi pozycja ta zapewne jest mniej wygodna).


#B2. Magnetyczny układ napędowy:

       Podsumujmy teraz zasadę działania magnokraftu. Pędnik główny oznaczony "M" na rysunku #G3 poniżej, zorientowany jest odpychająco względem naturalnego pola magnetycznego Ziemi. Aby lepiej zilustrować ową siłę odpychania "R", ten pędnik "M" został pokazany jak zawisa dokładnie ponad północnym "N" biegunem magnetycznym Ziemi, skierowując w dół swój biegun "N". Jednak w rzeczywistości, taka siła magnetycznego odpychania może być formowana nad dowolnym punktem Ziemi, nawet ponad równikiem - tak jak to zostało zilustrowane na następnym rysunku #G21 poniżej. Oczywiście, gdyby pędnik główny "M" pracował samotnie, wówczas natychmiast po wzniesieniu się w górę dokonałby przekoziołkowania i spadł z powrotem na Ziemię. Dlatego jest on otoczony 8 pędnikami bocznymi sztywno z nim związanymi, które na rysunku #G3 poniżej są oznaczone jako "U", "V", "W", oraz "X". Tamte pędniki boczne są przyciągane przez ziemskie pole magnetyczne. Dlatego działają one jako magnetyczne stabilizatory.

Rys. G3.

Rys. G3 z [1/5]: Układ napędowy magnokraftu.
       Zilustrowane zostały: "M" - pojedyńczy pędnik główny wytwarzający oddziaływania odpychające "R" od pola magnetycznego otoczenia (oznaczony przez "M" od angielskiego słowa "main"); "R" – siła oddziaływania odpychającego ("R" przyjęte jest od angielskiego słowa "repulsion"), "U, V, W, X" - osiem pędników bocznych (oznaczonych "U, V, W, X" dla ukazania ich wzajemnych przesunieć fazowych co 90 stopni) zorientowanych w taki sposób aby wytwarzać oddziaływania przyciągające "A" z polem magnetycznym otoczenia; "A" – siły oddziaływań przyciągających (oznaczenie "A" przyjęte jest od angielskiego słowa "attraction"). Zauważ, że w poszczególnych typach magnokraftu ilość "n" pędników bocznych opisana jest równaniem (G6) i (G2): n = 4(K-1). Stąd ilość n=8 pędników bocznych posiada jedynie magnokraft typu K3 (dla którego K=3). Każdy z pędników pokazanego tu układu napędowego zawiera pojedynczą kapsułę dwukomorową (uformowaną z mniejszej komory wewnętrznej wstawionej do wnętrza większej komory zewnętrznej - patrz rysunek F5 poniżej) zamontowaną w kulistej obudowie. Poprzez odpowiednie zesynchronizowanie pulsowań pola wytwarzanego przez poszczególne pędniki boczne, taki układ napędowy może wytwarzać wirujące pole magnetyczne.
       Symbole: N - północny biegun magnetyczny (tj. biegun "wlotowy" (I) jak go wyjaśniono w podrozdziale G5.2 z [1/5]), S - południowy biegun magnetyczny (tj. biegun "wylotowy" (O) jak go wyjaśniono w podrozdziale G5.2 z [1/5]), 1 - konstrukcja nośna jaka łączy razem poszczególne pędniki, d - średnica okręgu przebiegającego przez punkty centralne (tj. geometryczne środki) wszystkich pędników bocznych; "d" reprezentuje więc też maksymalną odległość osi magnetycznych dowolnych dwóch pędników bocznych położonych po przeciwstawnych stronach danego układu napędowego (ów istotny dla magnokraftu wymiar "d" nazywany jest "średnicą nominalną"; "d" daje się zmierzyć gdyż stanowi on średnicę pierścienia wypalanego na ziemi przez pędniki boczne lądującego magnokraftu - patrz rysunek G33 z [1/5]); h - wysokość środka pędnika głównego ponad płaszczyzną podstaw pędników bocznych; R - siła odpychania magnetycznego, A – siła przyciagania magnetycznego.
* * *
       Jeśli układ napędowy opisany powyżej wbudowany zostanie w powłokę ochronną która zawierać będzie hermetyczną kabinę załogi oraz wyposażenie statku, otrzymana zostanie końcowa konstrukcja magnokraftu. Widok ogólny takiej konstrukcji pokazany już został na pierwszym rysunku z tej strony internetowej (tj. C1 "b" lub G1 "b"). (Zauważ, że numeracja ilustracji z tej strony internetowej, odpowiada numeracji rysunków w monografii naukowej [1/5].) Z kolei opisy podzespołów charakterystycznych dla owej powłoki ochronnej magnokraftu stanowi cel podrozdziału G2 monografii [1/5].


#B3. Loty magnokraftu ponad równikiem:

       Magnokraft jest w stanie wygenerować wystarczające siły napędowe praktycznie ponad dowolnym punktem Ziemi, nie zaś jedynie ponad biegunami. Jak tego on dokonuje zilustrowane zostało na rysunku G21 poniżej. Ogólna zasada generowania magnetycznej siły odpychającej "R" ponad danym obszarem Ziemi, sprowadza się do ustawienia jego pędnika głównego w pozycję dokładnie odwrotną do pozycji którą ów pędnik by sam przyjął gdyby pozwolono mu dowolnie się obracać jak potężna igła magnetyczna.

Rys. G21

Rys. G21 z [1/5]: Zasada formowania siły wyporu magnetycznego nad równikiem magnetycznym.
       Pędnik główny magnokraftu posiada swoją oś magnetyczną ustawioną równolegle do lokalnego przebiegu pola magnetycznego otoczenia, natomiast bieguny magnetyczne zwrócone do takich samych biegunów magnetycznych Ziemi (np. biegun "N" magnokraftu zwrócony do bieguna "N" Ziemi, natomiat "S" do "S"). W ten sposób pędnik główny formuje liczące się siły wyporu magnetycznego "RN" i "RS" jakie wynoszą ten wehikuł w przestrzeń. Wyjątkowo duża "długość efektywna" jego pędników magnetycznych jest znacząca nawet gdy porównywana ze średnicą Ziemi (patrz opisy z podrozdziału G5.3 monografii [1/5]). Stąd, na przekór niewielkim fizycznym wymiarom magnokraftu, jego wymiary magnetyczne mogą być zilustrowane w proporcjach pokazanych na powyższym rysunku.


Część #C: Dlaczego dzisiejsi naukowcy są tak wrogo nastawieni do magnokraftu:

      

#C1. Problemy niektórych z uznaniem realności zasady działania magnokraftów:

       Zasada działania magnokraftu wykorzystuje cały szereg tematów dotyczących pola magnetycznego tego wehikułu. Niektóre z nich są niezwykle ważne lub dotyczą drażliwych zagadnień. Przykłady najbardziej drażliwych z nich obejmują:
       #1. Tzw. "długość efektywną" pędników magnokraftu, w skonfrontowaniu z tzw. "jednorodnym charakterem" pola magnetycznego Ziemi.
       #2. Nieprzyciąganie przedniotów ferro-magnetycznych przez lecący magnokraft.
       Wszelkie takie główne problemy związane z napędem magnokraftu są już obecnie rozwiązane i opublikowane w tomie 3 monografii [1/5]. Niestety, wielu ludzi zwykle najpierw wygłasza swoje zastrzeżenia, zanim mieli okazję choćby rzucić okiem na obszerną teorię stojącą poza tym wehikułem. Dlatego rozwiązanie np. dla sprawy "długości efektywnej" pędników magnokraftu jest zwykle przeaczane przez większość osób wysuwających pod adresem tego statku krytyczne uwagi dotyczące tzw. "jednorodności" pola magnetycznego Ziemi. Podobnie się dzieje z ludźmi mającymi zastrzeżenia do nieprzyciągania przez pole magnokraftu przedniotów ferro-magnetycznych. Stąd, gdyby osoby które wysuwają tego typu zastrzeżenia zapoznały się najpierw z pełną treścią moich dedukcji, zanim publicznie zaczynają wykrzykiwać swoje poglądy, wiele niepotrzebnych emocji oraz bezproduktywnego krytykanctwa mogłoby zostać uniknięte. Dla tego powodu, niektóre problemy dotyczące pola magnetycznego magnokraftu muszą zostać poruszone i na tej stronie internetowej, aby dostarczyć czytelnikowi całkowitego zrozumienia naukowych fundamentów u podwalin tego wehikułu. Takie zrozumienie umożliwi też czytelnikowi obronienie konceptu tego statku, kiedy nieuzasadnienie atakowany on będzie przez różnych "sceptyków" którzy nie pofatygowali się nawet aby zapoznać się ze szczegółami "Teorii Magnokraftu", jednak którzy są dosyć entuzjastyczni w jego atakowaniu. Na nieszczęście, podstawowe zagadnienia dotyczące pola magnetycznego tego wehikułu są dosyć trudne do przyswojenia, a także ich pełne zrozumienie zdaje się wymagać solidnych podstaw w znajomości nauki i techniki. Stąd niektórzy czytelnicy mogą znaleźć następne punkty #C2 i #C3 raczej trudnymi. Aby więc zminimalizować straty dla tych osób, którzy zdecydują się przeskoczyć przez materiał o polu magnetycznym magnokraftu, tak uformowałem punkty #C2 i #C3 oraz resztę niniejszej strony, że pominięcie ich czytania nie powinno pomniejszyć zrozumienia pozostałego materiału. Dla tych jednak z czytelników, którzy są w stanie zapoznać się z punktami #C2 i #C3 poniżej, gorąco zalecam aby ze zrozumieniem przegryźli się przez zaprezentowany w nich materiał. Wszakże magnokraft otwiera nadzieję na lepszą przyszłość dla rasy ludzkiej, jako więc taki jest wart poznania w pełnym zakresie.


#C2. Jak "efektywna" bije "jednorodne":

       Rozmiar magnetyczny każdego magnesu definiowany jest przez tzw. "długość efektywną", tj. długość bąbla przestrzeni w której panuje pole magnetyczne z danego magnesu. Stąd, aby pędnik magnetyczny odpychał się od ziemskiego pola magnetycznego, jego "długość efektywna" musi być porównywalna do średnicy naszej planety. Długość efektywna pędnika magnetycznego zależy od wartości strumienia magnetyczngo jaki pędnik ten wytwarza. (Aby obrazowo zilustrować tą zależność, strumień magnetyczny może być porównywany do gazu pompowanego w powłokę gumowego balonu, tj. im więcej gazu tego zostanie tam wpompowane, tym większą objętość przestrzeni powłoka ta zajmie, a więc także i tym większa będzie jej "długość efektywna".) Jeśli strumień magnetyczny wytwarzany przez dany pędnik przekroczy wartość tzw. "strumienia startu", wtedy jego rozmiar magnetyczny zacznie być porównywalny do wymiarów Ziemi. Stąd łatwo wówczas pokona on tzw. "jednorodny" charakter pola ziemskiego oraz wygeneruje znaczącą siłę magnetyczną netto. Po więcej szczegółów na temat "długości efektywnej" pędników magnokraftu patrz podrozdział G5.3 z tomu 3 monografii [1/5].
       Każdy pędnik magnokraftu wytwarza pole magnetyczne o ogromnej "długości efektywnej". Kiedyś dokonałem odpowiednich obliczeń (opublikowanych w podrozdziale G5.3 monografii [1/5]) i wyznaczyłem, że przykładowo pole magnetyczne pędnika o długości fizycznej 1 metra, przyjmie długość efektywną jaka w nawet najbardziej niekorzystnych warunkach przekroczy odległość 1000 kilometrów. Praktycznie to oznacza, że jednometrowy pędnik magnokraftu, w swoim działaniu zachowywał się będzie jak hipotetyczny magnes o ogromnej długości około 1000 kilometrów. Stąd pole z tego pędnika pokona "jednorodność" ziemskiego pola magnetycznego i wytworzy liczącą się siłę magnetyczną netto. Siła ta z kolei spowoduje napędzanie magnokraftu w kierunku zdefiniowanym przez jego komputer sterujący.


#C3. Nieprzyciąganie przedmiotów ferro-magnetycznych:

       Pulsujące pole magnetyczne generowane przez komory oscylacyjne z pędników owego statku odznacza sie niezwykłą cechą. Mianowicie, w normalnych warunkach pole magnetyczne magnokraftu NIE przyciąga przedmiotów ferro-magnetycznych. Stąd na przekór używania napędu magnetycznego, pole tego wehikułu zachowuje się bardziej jak hipotetyczne "pole antygrawitacyjne" niż jak pole magnetyczne. Zasada powodująca takie niezwykłe zachowywanie się pola magnokraftu została wyjaśniona szczegółowo w podrozdziale F7.3 z monografii [1/5], a także podsumowana w skrócie w punkcie #E2 na stronie internetowej o komorze oscylacyjnej. Być może jest warto rzucić okiem na tamte wyjaśnienia.


Część #D: Urządzenie napędzające magnokraft też już zostało wynalezione:

      

#D1. Komora oscylacyjna z pędników magnokraftu:

       Sercem magnokraftu jest urządzenie nazywane "komora oscylacyjna. W magnokrafcie właśnie to urządzenie używane jest jako pędnik magnetyczny, znaczy do realizowania wszelkich funkcji napędowych oraz do zasilania w energię. Czyli owa komora oscylacyjna w magnokrafcie jest odpowiednikiem "silników" oraz "zbiorników paliwa" z obecnych helikopterów. Funkcja napędowa jest w niej osiągana dzięki siłom przyciągającym i odpychającym jakie komora ta wytwarza podczas oddziaływań z naturalnymi polami Ziemi, Słońca, lub Galaktyki. Z kolei "paliwem" jakie owo urządzenie używa, jest energia przywiązana do pola magnetycznego które urządzenie to wytwarza. A jak wiemy z dzisiejszych magnesów, zawartość energetyczna potężnych pól magnetycznych może być ogromna. Dla przykładu proste obliczenia opublikowane w podrozdziale G5.5 z tomu 3 monografii [1/5] wskazują że pole magnetyczne z najmniejszego magnokraftu typu K3 zawiera energię będącą odpowiednikiem około 2 miesięcy konsumpcji wszystkich form energii przez całe państwo takie jak Nowa Zelandia.
       "Komora oscylacyjna" jest urzadzeniem mojego własnego wynalazku. Początkowo zostało ono wynalezione w celu generowania ekstremalnie silnych pól magnetycznych. Jednak później się okazało że może ona również realizować cały szereg innych funkcji. Byłoby poprawnym stwierdzenie, że komora oscylacyjna jest rodzajem szczególnie silnego, sterowalnego "magnesu" (tj. magnesu tak silnego, że owa komora jest w stanie odepchnąć siebie sama od pola magnetycznego Ziemi i wznieść się w przestrzeń, tylko dzięki odpychającym oddziaływaniom z ziemskim polem magnetycznym). Działanie owej komory oscylacyjnej bazuje na całkowicie nowej zasadzie, wcześniej nieznanej na Ziemi, opisanej w szczegółach w rozdziale F z tomu 2 monografii [1/5]. Komora ta zwykle przyjmuje kształt przeźroczystego sześcianu, pustego wenątrz. Wzdłuż ścian bocznych tego sześcianu utrzymywane są oscylujące iskry elektryczne, które są tak sterowane aby wirowały wzdłuż obwodu kwadratu. Z kolei kwadratowe rotowanie tych iskier elektrycznych formuje potężne pole magnetyczne. Stąd pojedyńcza komora oscylacyjna jest rodzajem potężnego magnesu, jaki jest zdolny do wzniesienia się (razem z ciężkim wehikułem dołączonym do niego) wyłącznie w wyniku odpychania się od pola magnetycznego Ziemi, Planet, Słońca czy Galaktyki. Aby owo wzniesienie było możliwe, wydatek magnetyczny komory oscylacyjnej musi przekraczać wartość jaka wyrażona jest stałą magnetyczną nazywaną "strumieniem startu". Ów strumień startu zdefiniowany jest jako "najmniejszy wydatek ze źródła pola magnetycznego, który to wydatek po odpychającym zorientowaniu względem pola Ziemi, powoduje przezwyciężenie przyciągania ziemskiego i wzlot tego źródła pola w przestrzeń kosmiczną". Wartość strumienia startu jest wyliczona w podrozdziale G5.1 z monografii [1/5]. Dla obszaru Polski wynosi ona Fs=3.45 [Wb/kg].
       Oto jak w przybliżeniu wygląda sześcienna komora oscylacyjna:

Rys. S6 (left).

Rys. S6 (lewa część) z [1/5]: Komora oscylacyjna.
       Oto rysunek S6 (lewa strona) a takze rysunek F3 "a" z monografii [1/5]. Ilustruje on wygląd ogólny unikalnego urządzenia nazywanego właśnie "komora oscylacyjna". Urządzenie to wygląda jak przeźroczysta kostka. Ujawnia ona przez swoje przeźroczyste ścianki procesy jakie następują w jego wnętrzu, np. przeskoki iskier elektrycznych, gęstość upakowania energii, działanie urządzeń sterujących, itp. Stąd zaciekawiony obserwator działania takich komór zobaczyłby przed sobą typowy "kryształ". Wyglądałby on jak lśniąca kostka sześcienna cała wyszlifowana z przeźroczystego materiału. Wzdłuż wewnętrznych powierzchni tej kryształowej kostki, jasno-złociste oscylujące iskry będą migotały. Iskry te sprawią wrażenie zamrożonych w tych samych pozycjach, aczkolwiek od czasu do czasu dokonujących nagłych poruszeń jak kłębowisko uśpionych ognistych węży. Ich drogi będą ciasno przylegały do wewnętrznych powierzchni ścianek komory, dociskane do nich przez elektromagnetyczne siły odchylające (siły te opisane są w punkcie 2 strony internetowej o komorze oscylacyjnej). Wnętrze kostki będzie wypełnione potężnym pulsującym polem magnetycznym oraz rozrzedzonym gazem dielektrycznym. Pole to, gdy obserwowane z kierunku prostopadłego do jego linii sił, będzie pochłaniało światło. Stąd sprawi ono wrażenie gęstego czarnego dymu wypełniającego wnętrze tego przeźroczystego kryształu.
* * *
       Komora oscylacyjna jest tak istotnym i unikalnym urządzeniem, a także ma ona tak wiele odmiennych zastosowań, że aby opisać ją szczegółowo, utworzona została odrębna strona internetowa. Stronę tą można odwiedzić poprzez kliknięcie na komorę oscylacyjną w "Menu 1".


#D2. Konfiguracje komór oscylacyjnych:

       Wydatek z jednej komory oscylacyjnej byłby bardzo trudny do sterowania. Wszakże taka komora wypełniona jest po brzegi ogromną ilością energii magnetycznej. Dlatego, w celu lepszego sterowania tym urządzeniem, dwie unikalne konfiguracje komór oscylacyjnych będą formowane. Konfiguracje te są nazywane: (1) "kapsuła dwukomorowa" oraz (2) "konfiguracja krzyżowa".
       "Kapsuła dwukomorowa" pokazana została w części (c) rysunku C1 (zreprodukowanego poniżej) oraz na rysunku F5 monografii [1/5]. Kapsuła taka składa się z większej zewnętrznej komory oscylacyjnej (O), we wnętrzu której zawieszona jest bezdotykowo mniejsza komora wewnętrzna (I). Bieguny magnetyczne N/S komory wewnętrznej (I) zostały odwrócone w stosunku do biegunów komory zewnetrznej (O), tak że wydatki obu komór nawzajem się odejmują. W rezultacie część wydatku magnetycznego (C) z komory o większej wydajności jest zakrzywiana z powrotem i cyrkuluje bezpośrednio do komory o mniejszej wydajności, formując tzw. "strumień krążący" (C) jaki nie wydostaje się na zewnątrz kapsuły. Jedynie nadwyżka wydatku wydajniejszej z komór nie związana strumieniem krążącym odprowadzana jest do otoczenia, formując tzw. "strumień wynikowy" (R) jaki stanowi użyteczny wydatek kapsuły. Podział energii magnetycznej zawartej w kapsule na "strumień wynikowy" (R) i "strumień krążący" (C) umożliwia niezwykle szybkie i efektywne przesterowywanie wydatku kapsuły, bez konieczności zmiany ilości energii w niej zawartej. Przesterowywanie to polega na zwykłej zmianie wzajemnych proporcji pomiędzy wydatkiem (C) cyrkulowanym wewnątrz kapsuły i wydatkiem (R) wydostającym się z niej na zewnątrz. Istnieje więc możliwość takiego pokierowania pracą kapsuły, że na jej zewnątrz nie odprowadzany jest żaden wydatek (nastąpi to gdy całe pole kapsuły uwięzione zostanie w strumieniu krążącym "C"), lub też że do otoczenia odprowadzane jest prawie całe zawarte w kapsule pole magnetyczne. Możliwe jest też płynne nasterowywanie dowolnego wydatku pomiędzy tymi dwoma skrajnościami. Z kolei takie efektywne sterowanie kaspułą dwukomorową zapewnia precyzyjną kontrolę lotu wehikułu napędzanego wynikowym wydatkiem magnetycznym (R) odprowadzanym do otoczenia przez to urządzenie.

Rys. C1(c).

Rysunki C1 (c) oraz F5 z monografii [1/5]: Kapsuła dwukomorowa.
       Pokazano tu kapsułę formowaną z komór oscylacyjnych pierwszej generacji. Kapsuła taka stanowi podstawową konfigurację dwóch komór oscylacyjnych, formowaną w celu zwiększenia ich sterowalności. Powstaje ona poprzez osadzenie dwóch przeciwstawnie zorientowanych komór oscylacyjnych pierwszej generacji, jedna we wnętrzu drugiej. Z uwagi na potrzebę swobodnego "pływania" komory wewnętrznej (I) zawieszonej w środku komory zewnętrznej (O), boki "a" obu tych komór muszą wypełniać równanie (F9): ao=ai/(sqrt(3)). Z powodu przeciwstawnego zorientowania biegunów magnetycznych obu komór kapsuły, wynikowe pole magnetyczne (R) odprowadzane z tej konfiguracji do otoczenia, stanowi algebraiczną różnicę pomiędzy wydatkami jej komór składowych. Zasada formowania takiego strumienia wynikowego została zilustrowana na rysunku F7. Kapsuły dwukomorowe umożliwiają łatwe sterowanie wszystkimi atrybutami wytwarzanego przez nie pola. Przedmiotem tego sterowania są następujące własności strumienia wynikowego (R): (1) moc pola - regulowana płynnie od zera do maksimum; (2) okres pulsowań (T) lub częstość pulsowań (f); (3) stosunek amplitudy pulsowań pola do jego składowej stałej (dF/Fo - patrz rysunek F12 z monografii [1/5]); (4) charakter pola, tj. czy jest ono stałe, pulsujące, czy przemienne; (5) krzywa zmian w czasie F=f(t), np. czy jest to pole liniowe, sinusoidalne, czy zmieniane według "krzywej dudnienia"; (6) biegunowość (tj. z której strony kapsuły panuje biegun N a z której biegun S). Symbole: O - komora zewnętrzna (outer), I - komora wewnętrzna ("inner"), C - strumień krążący ("circulating flux") uwięziony we wnętrzu kapsuły, R - strumień wynikowy ("resultant flux") odprowadzany z kapsuły do otoczenia.
* * *
       Niezależnie od konfiguracji nazywanej "kapsuła dwukomorowa" a opisanej powyżej, komory oscylacyjne mogą być także zestawione w jeszczed jedną konfigurację nazywaną "konfiguracją krzyżową". Szczegółowy opis konfiguracji krzyżowej zawarty jest na odrębnej stronie internetowej w całości poświęconej opisowi komory oscylacyjnej jaka jest dostępne poprzez "Menu 1".


#D3. Pędniki magnetyczne:

       W konstrukcji magnokraftu wszystkie "kaspuły dwukomorowe" zamontowanie są we wnętrzu kulistych obudów, oraz zaopatrzone w odpowiednie urządzenia kontrolne jakie pozwalają załodze precyzyjnie sterować kierunkiem i wielkością wydatku magnetycznego (a w ten sposób również i siłą napędową statku). Takie indywidualne moduły napędowe magnokraftu, jakie obejmują kapsułę dwukomorową (lub konfigurację krzyżową), razem z ich urządzeniami sterującymi oraz kulistą obudową która je okrywa, nazywane są "pędnikami magnetycznymi".
       Każdy magnokraft posiada pojedynczy pędnik główny (M) zlokalizowany w centrum tego wehikułu, oraz "n" pędników bocznych (U, V, W, X) zamontowanych naokoło obwodu wehikułu w specjalnym poziomym kołnierzu bocznym.


#D4. Teoretycznie nieograniczona pojemność na energię pędników magnokraftu:

       Komory oscylacyjne używają bardzo unikalnej zasady działania, która opisana jest w rozdziale F z tomu 2 monografii [1/5]. Zasada ta pozwala jej na osiągnięcie cechy, która w dzisiejszych czasach może wydawać się niemal niemożliwością, mianowicie są zdolne do "akumulowania nieograniczonej ilości energii". Ta nieograniczona pojemność na energię powoduje, że komory oscylacyjne użyte w magnokrafcie są w stanie wypełniać nie tylko funkcje napędowe, ale także funkcje akumulatorów energii statku. Stąd w magnokrafcie funkcjonują one nie tylko jak śmigła z dzisiejszych helikopterów, magnetycznie wynosząc ten statek w przestrzeń, ale także jako helikopterowe zbiorniki paliwa, zawierające w swym wnętrzu całą energię która jest konieczna do skompletowania ich lotów. Stąd niezależnie od komór oscylacyjnych, magnokraft NIE posiada już żadnych innych urządzeń napędowych, generujących energię, czy spalających paliwo.
       Ogromna pojemność na energię komór oscylacyjnych magnokraftu posiada aż kilka różnych następstw. Jednym z nich jest, że komory owe mogą być też używane w wielu innych zastosowaniach jako doskonałe akumulatory energii - co dokładniej wyjaśnione zostało m.in. w punkcie #D2 odrębnej strony eco_cars_pl.htm.


Część #E: Kształty i typy całych magnokraftów:

      

#E1. Budowa i podzespoły magnokraftu:

       Oto rysunek jaki pokazuje jak magnokraft wygląda w środku, jeśli jego powłoka aerodynamiczna okrywająca pędniki boczne zostaje wycięta z przedniej części tego wehikułu:

Rys. C1(a).

Rys. C1 (a) z [1/5]: Przekrój pionowy magnokraftu typu K3 ukazujący jego konstrukcję i główne podzespoły.
       Wycięcie w aerodynamicznej osłonie kołnierza bocznego służy ukazaniu jego wewnętrznej budowy. Krawędzie wszystkich ścianek wykonanych z materiału nieprzenikalnego dla pola magnetycznego na rysunku obwiedzione zostały przerywaną linią. Pozostałe ścianki (tj. powłoki aerodynamiczne wszystkich pędników) wykonane są z materiału przenikalnego dla pola. Z uwagi na swą zasadę działania, magnokraft lata z podstawą ustawioną prostopadle do linii sił pola magnetycznego otoczenia. Jednakże podczas manewru lądowania, zilustrowanego na powyższym rysunku, statek ten ustawia swą podstawę równolegle do powierzchni gruntu oraz wysuwa teleskopowe nogi "2". Pędniki "M, U" lądującego magnokraftu typu K3 pozostawiają na ziemi wypalony magnetycznie (jakby promieniowaniem kuchenki mikrofalowej) pierścień roślinności o nominalnej średnicy d = 3.1 metrów (gdzie średnica gabarytowa "D" wehikułu wynosi D = 4.39 metrów). Pędnik główny "M" oddziaływuje odpychająco z polem magnetycznym otoczenia (którym może być pole ziemskie, słoneczne, lub pole galaktyczne). W ten sposób wytwarza on siłę nośną "R". Natomiast n=8 pędników bocznych "U" oddziaływuje przyciągająco z polem otoczenia wytwarzając siły stabilizacyjne "A". Symbole: N,S - bieguny magnetyczne i - kąt nachylenia ziemskiego pola magnetycznego, 1 - kabina załogi, 2 - jedna z czterech nóg wysuniętych na czas lądowania.
* * *
       Magnokraft posiada dwa rodzaje pędników magnetycznych: główny (M) i boczne (U) - patrz część (a) rysunku C1. Pojedynczy pędnik główny (M) zawieszony jest w centrum tego wehikułu. Bieguny magnetyczne tego pędnika są tak zorientowane, że odpychają go one od pola magnetycznego otoczenia (którym może być pole Ziemi, Słońca, lub Galaktyki). W ten więc sposób pędnik (M) wytwarza siłę nośną (na rysunku C1 (a) oznaczoną jako "R" od angielskiego "repulsion") która wydźwiga i utrzymuje magnokraft w przestrzeni. Oś magnetyczna pędnika (M) jest prawie zawsze utrzymywana w położeniu stycznym do linii sił pola magnetycznego otoczenia istniejącego w obszarze działania tego statku. Stąd najbardziej efektywne zorientowanie magnokraftu w locie jest kiedy jego podstawa ustawiona zostaje prostopadle do lokalnego kierunku ziemskiego pola magnetycznego. Czasami jednakże owo zorientowanie musi zostać nieco zmienione aby wehikuł ten mógł manewrować lub lądować.
       Każdy magnokraft posiada także określoną liczbę "n" pędników bocznych (U), umieszczonych w równych odstępach od siebie na obwodzie tego dyskoidalnego statku. Bieguny magnetyczne tych pędników są zorientowane tak aby przyciągały one pole magnetyczne otoczenia. W ten sposób pędniki boczne wytwarzają cały szereg "n" sił przyciągających (na rysunku C1 (a) oznaczonych jako siły "A" - od angielskiego "attraction"), które stabilizują ten wehikuł i utrwalają jego orientację w przestrzeni. Dla zwiększenia stabilności tego statku, pędniki boczne są zamontowane nieco poniżej pędnika głównego, tworząc razem z nim rodzaj konfiguracji dzwonowej jaka w fizyce znana jest ze swojej wysokiej stabilności. Wszystkie owe "n" pędników bocznych zamontowane są w poziomym kołnierzu jaki otacza podstawę magnokraftu. Kołnierz ten, wraz z zawartymi w nim pędnikami, osłonięty jest specjalną soczewko-kształtną owiewką aerodynamiczną wykonaną z materiału przenikalnego przez pole magnetyczne.


#E2. Kompletna konstrukcja magnokraftu:

       W magnokrafcie kabina załogi zawarta jest pomiędzy pędnikiem głównym (M) i pędnikami bocznymi (U) - patrz (1) w części (a) rysunku C1. Przyjmuje ona kształt stożkowatego pierścienia i wygląda jak ścianki boczne spodka odwróconego do góry dnem. Poszycie (powłoka) tej kabiny wykonane jest z materiału nieprzenikalnego dla pola magnetycznego (tj. wykazującego właściwość zwaną "magnetorefleksyjnością" - czyli odbijaniem pola magnetycznego w sposób podobny jak lustro odbija światło, patrz jej opisy w podrozdziale G2.2.1 monografii [1/5]). Wzdłuż wewnętrznych (nachylonych) ścianek kabiny załogi zamontowane są teleskopowe nogi (2) wehikułu. Nogi te wysuwane są jedynie na czas lądowania.
       Powłoka magnokraftu jest to mechanicznie wytrzymała skorupa ochronna z materiału magnetorefleksyjnego, jaka utrzymuje wszystkie urządzenia statku w wymaganych położeniach oraz oddziela wnętrze statku od otaczającej go przestrzeni. Wykonana jest ona z przeźroczystego materiału, który jednak ma płynnie sterowalny stopień refleksyjności dla światła. Jednym więc razem (np. podczas przelotów statku w pobliżu słońc) załoga magnokraftu może zmienić tą powłokę w srebrzyście lśniące lustro odbijające całkowicie wszelkie padające na nią światło, innym zaś razem (np. podczas lotów nocnych lub w obszarach o przyciemnionym świetle) może uczynić ją całkowicie przeźroczystą. W przypadku gdy powłoka ta uczyniona zostaje przeźroczystą, postronny obserwator może zobaczyć wewnętrzne podzespoły statku (np. pędniki, kabiny, poziomy, fotele załogi, itp.) - jak pokazano na rysunku C1 (b). Poprzez przeźroczystą powłokę statku mogą też być zaobserwowane jego obwody magnetyczne. Obwody te to pęki linii sił pola magnetycznego, jakie jest aż tak zagęszczone, że przechwytuje ono światło sprawiając wrażenie solidnych tworów. Kiedy obserwowane z wnętrza magnokraftu, obwody te wyglądają jak gałęzie i korzenie ogromnego drzewa (w opisach "raju" nazywane "drzewem życia" - patrz podrozdział P6.1 z [1/5]), które rozdzielają się na wiele "gałęzi" na wierzchu statku, a również rozchodzą się na wiele mniejszych "korzeni" pod przeźroczystą podłogą statku. Odnotuj ze istnieje juz sporo monografii ktore szczegolowo opisuja magnokraft - jako ich przyklad patrz tom 3 z monografii [1/5], a takze nieco starsze monografie [2e] i [1e] dostepne za posrednictwem "Menu 1".
       Końcowa konstrukcja magnokraftu obejmuje jego powłokę, system napędowy (pędniki), kabinę załogi, komputer pokładowy, system podtrzymywania życia załogi, oraz inne istotne podzespoły i urządzenia. Wygląd ogólny tej końcowej konstrukcji pokazano na rysunku C1 (b) z początka tej strony.
* * *
       Wygląd dyskoidalnego magnokraftu pierwszej generacji, pokazanego w widoku bocznym, ilustruje część (b) rysunku C1. Z kolei jego konstrukcję zilustrowano w części (a) tego samego rysunku C1. Kształt zewnętrzny tego wehikułu przypomina dysk lub spodek odwrócony do góry dnem.
       Układ napędowy magnokraftu zestawiony jest z urządzeń nazywanych "komorami oscylacyjnymi" (na rysunku C1 komory te pokazano jako przeźroczyste kostki sześcienne zawarte w wnętrzu kulistych powłok). Magnokraft posiada pojedynczy pędnik główny oraz "n" pędników bocznych. Liczba "n" pędników bocznych zawartych w danym typie magnokraftu jest ściśle zdefiniowana przez warunki konstrukcyjne opisywane w podrozdziale G4.2 monografii [1/5]. Opisuje ją równanie n = 4(K-1). Liczba ta bardzo jednoznacznie charakteryzuje dany typ magnokraftu.


#E3. Równania opisujące kształt magnokraftu:

       Magnokraft jest bardzo wyrafinowanym statkiem. Dla przykładu, konstrukcja fizyczna tego wehikułu musi wypełniać cały zbiór bardzo ostrych warunków, które wynikają z zasad jego działania, ze zjawisk jakie on sobą wzbudza, z cech pola magnetycznego, itp. Doskonałym przykładem takich warunków jest wymóg że siły magnetyczne jakie wytwarzane są przez pędniki tego wehikułu muszą nawzajem się równoważyć. (Jak czytelnik zapewne jest tego świadomy, pędnik główny "M" magnokraftu przyciąga do siebie każdy z pędników bocznych, formując w ten sposób całą wiązkę sił "dośrodkowych" które ściskają ów wehikuł w kierunku jego centrum. Z kolei każdy pędnik boczny odpycha się od wszystkich innych pędników bocznych, w ten sposób formując cały pęk sił "odśrodkowych" które rozrywają ten wehikuł na boki. Stąd jest koniecznym takie zaprojektowanie konstrukcji fizycznej magnokraftu, aby owo ściskanie "dośrodkowe" było w równowadze z rozrywaniem "odśrodkowym", w ten sposób faktycznie wehikuł nie jest ani ściskany ani rozrywany siłami magnetycznymi.) Jak to zostało zdefiniowane przez dedukcje ilościowe opublikowane w podrozdziale G4.3 z monografii [1/5], magnokraft osiąga stan równowagi siłowej kiedy jego współczynnik spłaszczenia "K" wyrażający stosunek jego średnicy gabarytowej "D" do wysokości gabarytowej "H" wypełnia równanie: K = D/H = n/4 + 1 (gdzie "n" jest całkowitą liczbą pędników bocznych). Dlatego wszystkie wehikuły magnokrafto-podobne muszą być skonstruowane w ten sposób że ich "współczynnik spłaszczenia" (K = D/H) jest równy jednej z liczb integer, tj. równy albo K=3, albo K=4, ..., albo K=10. To z kolei oznacza, że może istnieć 8 zasadniczych typów magnokraftu, dla których ich współczynnik "K" przyjmuje jedną z wartości pomiędzy K=3 do K=10. Oczywiście, również wszystkie inne wymiary magnokraftu muszą wypełniać zbiór bardzo ścisłych równań. Dla przykładu gabarytowa średnica zewnętrzna "D" tego wehikułu opisana jest równaniem (G16): D = 0.5486*2**K metrów (tj. "D" jest równe kosmicznej jednostce długości wynoszącej Cc = 0.5486 metra, pomnożonej przez "2" do potęgi "K"). Oto wykaz owych równań, razem z graficzną interpretacją wymiarów które są w nich używane:

Rys. G18.

Rys. G18 z [1/5]: Zestawienie najważniejszych równań jakie wyrażają związki matematyczne pomiędzy istotnymi wymiarami i parametrami konstrukcyjnymi opisującymi powłokę magnokraftu.
       Wymiary wehikułu występujące w tych równaniach na powyższym rysunku zinterpretowano na zarysie magnokraftu typu K10. Interpretacja tych samych symboli dla magnokraftów innych typów pokazana też została na rysunkach G15, G20 i G38 monografii [1/5]. Oznaczenia: "H" jest wysokością gabarytową magnokraftu (od podstawy do wierzchołka); "D" jest średnicą gabarytową magnokraftu (średnica ta wyrażona jest przez równanie (G16): D=0.5486*2**K, stąd dla pokazanego tutaj magnokraftu typu K10 wynosi ona D=561.76 metrów); "DM" i "DS" są średnicami zewnętrznymi kulistych obudów jakie utrzymują pędnik główny i pędniki boczne; "K" reprezentuje współczynnik konstrukcyjny zwany "Krotność" który w kolejnych typach magnokraftu przyjmuje wartości "integer" rozciągające się od K=3 do K=10 (dla wehikułu typu K10 współczynnik ten przyjmuje wartość K = 10); "n" reprezentuje liczbę pędników bocznych (w magnokrafcie typu K10 liczba ta wynosi n = 36).


#E4. Jak identyfikować typ magnokraftu:

       Ponieważ konstrukcja kolejnych typów magnokraftu musi wypełniać serię bardzo ścisłych równań wyszczególnionych w punkcie #E3, typy te mogą być bardzo łatwo identyfikowane przez postronnego obserwatora. Oto wykaz głównych metod identyfikowania typu zaobserwowanego wehikułu magnokrafto-podobnego:

Rys. G20.

Rys. G20 z [1/5]: Zestawienie łatwych w użyciu metod identifikowania typu magnokraftu poprzez wyznaczenie jego współczynnika typu "K".
       Ponieważ wszystkie szczegóły techniczne danego magnokraftu wynikają z owego współczynnika typu "K", stąd znajomość tego współczynnika umożliwia albo odczytanie pozostałych wymiarów i parametrów tego wehikułu z tablicy G1 w [1/5] albo tez ich wyliczenie z odpowiednich równań zestawionych na rysunku G18.
       #1. Metoda polegająca na znalezieniu proporcji wymiarów gabarytowych danego statku. Umożliwia ona bezpośrednie wyznaczenie wartości współczynnika "K" poprzez zmierzenie pozornej wysokości gabarytowej "H" danego wehikułu (podstawa do wierzchołka) i następne odliczenie ile razy wysokość ta mieści się w gabarytowej średnicy "D" tego magnokraftu (wynik podziału K=D/H reprezentuje wartość "K" która musi przyjąć jedną z następujących liczb typu "integer": K=3, K=4, K=5, K=6, K=7, K=8, K=9, lub K=10). W przykładzie pokazanym na tym rysunku wysokość pozorna "H" zawarta jest trzy razy w pozornej średnicy "D" wehikułu, stąd zilustrowany magnokraft jest typu K3 (tj. jego współczynnik typu jest równy K=3).
       #2. Metoda polegająca na policzeniu ilości "n" pędników bocznych. Współczynnik "K" jest potem wyznaczany z następującego równania (G9): K=1+n/4 (patrz też równania G2 i G6 oraz rysunek G28 w [1/5]).
       #3. Metoda polegająca na policzeniu ilości lamp systemu "SUB". Współczynnik "K" jest potem wyznaczany z następującego równania: K=(SUB)/2 + 1.
       #4. Metoda polegająca na policzeniu liczby "f" fal magnetycznych. Współczynnik "K" jest potem wyznaczany z następującego równania: K=1+f, gdzie f=n/4 (patrz też podrozdział G7.2 oraz rysunki P19D i P29 w [1/5]).
       #5. Metoda polegająca na liczeniu liczby członków "załogi" (nie mylić ich z pasażerami). Współczynnik "K" jest równy tej liczbie: K=załoga (patrz tablica G1 w [1/5]).
       #6. Metoda polegająca na pomiarze średnicy nominalnej "d" pierścieniowych śladów wypalonych na glebie przez pędniki boczne danego wehikułu podczas jego lądowania. Zależność pomiędzy tą średnicą oraz współczynnikiem "K" wyraża się równaniem (G34): d = 0.7758*2**K [metrów]. Stąd znając "d" możliwe jest albo obliczenie wartości współczynnika "K", albo też jego znalezienie z kolumn "K" i "d" tablicy G1 w [1/5].
       #7. Metoda polegająca na zidentyfikowaniu zarysów danego magnokraftu poprzez ich porównanie do zarysów wszystkich ośmiu typów tego wehikułu zestawionych na rysunku G19 z [1/5] ("K" jest określany poprzez tą identyfikację).
       #8. Metoda polegająca na identyfikowaniu charakterystycznych atrybutów wnętrza wehikułu. Danych do tej metody dostarcza podrozdział G2.5 z [1/5]. Z kolei przykład użycia tej metody opisany jest w podrozdziale P6.1 z [1/5].


Część #F: Inne pokrewne napędy i wehikuły wykorzystujące zasadę działania Magnokraftów:

      

#F1. Inne magnokrafto-podobne wehikuły i napędy:

       Podstawowa konstrukcja dyskoidalnego magnokraftu opisanego powyżej może następnie zostać zmodyfikowana w celu uzyskania napędów i wehikułów pochodnych. Dwie najużyteczniejsze takie pochodne od dyskoidalnego magnokraftu to "napęd osobisty" opisywany w rozdziale E monografii [1/5], oraz "magnokraft czteropędnikowy" opisywany w rozdziale D najnowszej monografii [1/5]. (Szczegółowy opis ich konstrukcji, zasad działania, oraz atrybutów, wraz z odpowiednimi ilustracjami, zawarty też został w starszych monografiach [1/4], [1/3], [1/2], [3/2], [3] i [2].)
       Magnokraft czteropędnikowy uzyskiwany jest poprzez doczepienie do czterech rogów przenośnego pomieszczenia (np. podobnego do barakowozu) odpowiednio sporządzonych pędników w kształcie tzw. konfiguracji krzyżowych. Jak to wyjaśniono na stronie internetowej o komorze oscylacyjnej, takie konfiguracje krzyżowe są prostymi zestawami komór oscylacyjnych alternatywnymi do kapsuł dwukomorowych, w których pojedyncza komora centralna otoczona jest czterema komorami bocznymi. Wynikowa konfiguracja z wyglądu przypomina więc beczkę, zaś jej działanie stanowi jakby miniaturowy magnokraft pozbawiony kabiny załogi. Gdy cztery takie konfiguracje krzyżowe napędzają osadzone pomiędzy nimi pomieszczenie transportowe, efekt przypomina nieco domek kampingowy unoszony na rogach przez cztery niniaturowe magnokrafty. Głośne niegdyś w Polsce uprowadzenie Jana Wolskiego z Emilcina odbyło się właśnie na pokład statku typu magnokraft czteropędnikowy (jego opis zaprezentowany jest w podrozdziale Q1 z [1/5]).
       Napęd osobisty jest to magnokraft budowany w formie kombinezonu przywdziewanego przez użytkownika, w którym dwa zminiaturyzowane pędniki główne zamontowane są w podeszwach butów, natomiast osiem pędników bocznych - w specjalnym pasie ośmiosegmentowym. Otrzymany w ten sposób napęd pozwala użytkownikowi na loty w powietrzu, chodzenie po suficie lub po wodzie, czy skoki na olbrzymie wysokości lub odległości bez użycia widocznego wehikułu.
* * *
       Wszystkie systemy napędowe opisane poprzednio wykorzystują do lotów wyłącznie siły magnetycznego przyciągania i odpychania. Jednak komory oscylacyjne posiadają również tą zdolność, że są w stanie wygenerować bardziej zaawansowane zjawiska magnetyczne, np. zjawisko technicznej telekinezy. Dlatego jest również możliwym zbudowanie następnych generacji magnokraftów, które będą latały na odmiennych zasadach, np. na zasadzie "ruchu telekinetycznego". Owe bardziej zaawansowane magnokrafty nazywane są magnokraftami drugiej i trzeciej generacji. Ich szczegółowy opis zawarty jest w rozdziałach LC i M monografii [1/5].


#F2. Magnokraft cztero-pędnikowy:

       Magnokraft cztero-pędnikowy faktycznie jest rodzajem kostki sześciennej lub domku kampingowego, jaki unoszony jest w powietrzu przez cztery pędniki magnetyczne doczepione do jego czterech narożników. Oto jak ten wehikuł wygląda:

Rys. D1 (a).

Rys. D1 (a) z [1/5]: Magnokraft czteropędnikowy.
       Statek ten, razem z "dyskoidalnym magnokraftem" opisywanym na tej stronie, oraz "magnetycznym napędem osobistym", reprezentuje jedno z trzech podstawowych zastosowań pędników magnetycznych wykorzystujących komorę oscylacyjną. Powyzszy rusunek pokazuje wygląd ogólny wehikułu czteropędnikowego. Zilustrowane zostały: kształt, podzespoły, oraz najważniejsze wymiary tego wehikułu. Symbole: 1 - dach w kształcie piramidki; 2 - sześcienny korpus główny statku zawierający jego przestrzeń życiową (tj. kabinę załogi, kabiny pasażerów, powietrze, zapasy, komputer pokładowy, itp.); 3 - jeden z czterech pędników; 4 - rdzeń słupa pola magnetycznego wydzielanego przez każdy z pędników tego wehikułu (rdzeń ten formowany jest z pola produkowanego przez główną "M" komorę oscylacyjną); 5 - otoczka z wirujących segmentów pola magnetycznego wydzielanego z komór bocznych U, V, W, X każdego pędnika; 6 - jeden z czterech wypalonych śladów pozostawianych na powierzchni gruntu przez taki nisko zawisający statek którego pędniki pracują w trybie dominacji strumienia wewnętrznego (patrz podrozdziały D3 i F7.2 z [1/5]). Wymiary: H, Z, G, W - opisują rozmiary prostokątnej lub sześciennej kabiny załogi (reprezentują one: wysokość gabarytową, wysokość dachu, wysokość ścian, oraz szerokość statku); d, l, lw, lb (dla sześcianu lw=lb=l) - opisują rozstaw osi magnetycznych wehikułu (rozstaw ten musi być zgodny z rozstawem pędników bocznych dyskoidalnego magnokraftu tego samego typu); h - opisuje wysokość pędników wehikułu.


#F3. Magnetyczny napęd osobisty:

       Zasada działania "magnetycznego napędu osobistego" jest niemal identyczna do zasady działania dyskoidalnego magnokraftu. Tyle że napęd osobisty używa pędników magnetycznych zamontowanych we wnętrzu ośmiosegmentowego pasa, oraz w podeszwach butów. Dlatego użytkownicy tego napędu są w stanie bezgłośnie latać w powietrzu bez jakiegokolwiek widocznego wehikułu. Ponieważ "magnetyczny napęd osobisty" został opisany na kilku odmiennych stronach internetowych oscillatory_chamber_pl.htm - o komorze oscylacyjnej oraz propulsion_pl.htm - o napędach magnetycznych (dostępnych poprzez "Menu 1"), być może czytelnik zechce odwiedzić owe strony i zapoznać się tam z dalszymi opisami tego napędu.


Część #G: Osiągi i możliwości Magnokraftów:

      

#G1. Cechy magnokraftu:

       Nazwa "magnokraft" nadana została zupełnie nowemu rodzajowi międzygwiezdnych wehikułów latających pokazanych na rysunku G1 (powyzej), jakie napędzane są pulsującym polem magnetycznym. Wynalezienie i rozpracowanie magnokraftu miałem honor dokonać osobiście. Głównym celem, jaki starałem się osiągnąć przez ten wynalazek, jest upowszechnienie takiej konstrukcji i zasady działania statku międzygwiezdnego, które umożliwiłyby jego zbudowanie przez niewielkie państwo (takie jak Polska lub Nowa Zelandia) lub nawet większą organizację przemysłową. Jak blisko jesteśmy osiągnięcia tego celu uzmysławia następujący przegląd właściwości magnokraftu:
       #1. Jego działanie nie wymaga obecności ruchomych części. Teoretycznie więc biorąc, magnokrafty można ukształtować w całości z pojedynczej części (powłoki), formując je jak plastykowe balony. Ich koszt spadnie więc do rzędu małego ułamka kosztów współczesnych wehikułów, czyniąc magnokrafty osiągalnymi dla prawie każdej osoby i rodziny. Dla porównania, samolot pasażerski Boeing 747 - 400 skonstruowany w 1988 roku zawiera około 4 miliony indywidualnych części. Każda z tych części musi zaś zostać oddzielnie wyprodukowana, zamontowana i wytestowana. Większość też z nich może zawieść w powietrzu powodując katastrofę całego samolotu. Natomiast współczesny samochód osobowy Mitsubishi zaprojektowany w 1990 roku składa się z około 2000 części. Miniatuirowe, sterowane komputerowo wersje magnokraftu będą też zapewne budowane w przyszłości, jakie pozbawione będą całkowicie ruchomych części, a jednocześnie jakie doskonale będą wypełniały nałożone na nie funkcje. W przypadku zaś dużych, załogowych wersji magnokraftu, ruchome części takie jak drzwi, będą do nich włączane tylko dla wygody załogi i pasażerów. Jak istotnym przełomem jest takie pozbawione ruchomych części konstruowanie magnokraftu, łatwo sobie wyobrazić jeśli uświadomi się produkowanie owych milionów ruchomych części składających się na dzisiejsze wehikuły kosmiczne, oraz jeśli uświadomi się konsekwencje zepsucia się którejś z tych części daleko w przestrzeni kosmicznej.
       #2. Zasoby jego energii są samoodtwarzające się. Praktycznie to oznacza, iż magnokraft, podobnie jak niektóre koleje elektryczne, w próżni kosmicznej będzie tracił swą energię magnetyczną podczas przyspieszania oraz odzyskiwał ją z powrotem podczas wyhamowywania. W sumie więc ten statek po powrocie na Ziemię z wieloletniej podróży międzygwiezdnej przez próżnię kosmosu będzie posiadał prawie tyle samo energii magnetycznej zgromadzonej w swych pędnikach ile miał on w dniu rozpoczęcia tej podróży. Jedyne bowiem straty energii jakich on doświadczy będą następowały podczas lotów w atmosferach, płynach, oraz w ośrodkach stałych.
       #3. Wehikuł ten wykorzystuje tak zaawansowany napęd, iż technicznie, technologicznie i militarnie przewyższa on wszystko co dotychczas zostało zbudowane na Ziemi. Dla przykładu magnokraft może wytworzyć co następuje:
           #3a. Wirujący "wir plazmowy". Wir ten uzyskiwany jest dzięki zawirowywaniu chmury zjonizowanych cząsteczek otaczającego statek ośrodka przez wirujące pole magnetyczne magnokraftu. Z kolei taka chmura wirującej niszczycielskiej plazmy jaka otacza powłokę magnokraftu formuje rodzaj "plazmowej piły tarczowej" która bez trudu wcina się w nawet najtwardsze materiały odparowując w tych materiałach szkliste tunele. To z kolei pozwala magnokraftowi na latanie nawet w ośrodkach stałych, takich jak skały, budynki i bunkry, oraz na wypalanie w tych ośrodkach szklistych tuneli.
           #3b. Lokalny "pęcherz próżniowy". Pęcherz ten formowany jest przez siły odśrodkowe jakie działają na każdą cząsteczkę zawirowanego ośrodka otaczającego ten statek. Z kolei następstwem tego pęcherza jest, że izoluje on powłokę magnokraftu od działania rozpalonych gazów jakie mogą znajdować się przy powierzchni statku. To zaś umożliwia magnokraftowi loty w stopionej magmie oraz rozpalonych gazach, jak również loty w atmosferze z prędkościami wielokrotnie przekraczającymi "barierę ciepła". "Pęcherz próżniowy" pozwala mu na latanie z prędkościami do 70 000 [km/godź] w atmosferze i bliskimi prędkości światła w próżni kosmicznej. Może on też latać w próżni, powietrzu, wodzie, a nawet ośrodkach stałych.
           #3c. "Pancerz indukcyjny". Pancerz ten formowany jest przez wirujące pole magnetyczne tego wehikułu. Moc indukująca tego pancerza jest wystarczająco potężna aby np. zamieniać metale jakie znalazły się w zasięgu tego wirującego pola w materiał wybuchowy, oraz aby eksplodować te metale na maleńkie odłamki. Ta zdolność powoduje że "magnokraftu kule się nie imają", czyli że jest on niezniszczalny dla dzisiejszych rodzajów broni ludzkiej. W podobny zresztą sposób niezniszczalni są posiadacze magnetycznego napędu osobistego opisanego w punkcie #F3 powyżej.
           #3d. "Szkielet magnetyczny". Jest on formowany z układu nawzajem się balansujących sił magnetycznych wytwarzanych przez pędniki magnokraftu. Z kolei istnienie owego niewidzialnego szkieletu magnetycznego wzmacnia fizyczną konstrukcję statku, uodparniając ją na działanie nawet największych ciśnień i sił zewnętrznych. Szkielet ten pozwala więc magnokraftowi bezpiecznie wlatywać do obszarów o ogromnych ciśnieniach, takich jak np. dna rowów oceanicznych, czy nawet wnętrza Ziemi, Planet lub Słońca.
           #3e. "Soczewkę magnetyczną". Soczewka ta pozwala magnokraftowi np. stać się niewidzialnym dla obserwacji wizualnej i radarowej. Soczewka taka powstaje dzięki nasyceniu przestrzeni przez lecący magnokraft energią magnetyczną o takim natężeniu, że jest ona odpowiednikiem miejscowego zwiększenia gęstosci masy (zgodnie z relatywistycznym odpowiednikiem masy i energii). Z kolei owa zwiększona gęstość masy zmienia własności optyczne przestrzeni otaczającej magnokraft, ukształtowując tą przestrzeń na kształt soczewki. Do tego dodaje się optyczna anizotropowość linii sił pola magnetycznego które działają jak pęki włókien fibro-optycznych.
           #3f. Całkowita bezszelestność podczas lotów. Oddziaływania magnetyczne są bezgłośne. Dlatego także loty magnokraftu nie będą wytwarzały żadnego dźwięku.
       Powyższe cechy użytkowe magnokraftu pozwolą temu statkowi wynieść ludzkość do gwiazd. Jednak potrafią również zamienić ten wehikuł w najbardziej potężną broń jaka kiedykolwiek znajdowała się w dyspozycji ludzkiej.
* * *
       Istnieją również dalsze atrybuty magnokraftu które wprowadzają rzucającą się w oczy różnicę pomiędzy faktyczną teorią tego statku międzygwiezdnego, a istniejącymi od dawna spekulacjami na temat przyszłości podróży ludzkości do gwiazd. Te są jak następuje:
       #4. Zbudowanie magnokraftu może zostać dokonane już przy obecnym poziomie naszej wiedzy. Wszystkie zasady działania oraz wszystkie zjawiska wykorzystywane w działaniu magnokraftu bazują na naszym obecnym poziomie wiedzy. Żadna więc część teorii tego statku - włączając w to urządzenie zwane "komora oscylacyjna" które stanowi rodzaj "silnika" dla tego wehikułu, wymaga odkrycia nowego prawa fizyki, nowego zjawiska, lub nowej zasady działania.
       #5. W sposób teoretyczny wszystkie problemy wstrzymujące budowę magnokraftu zostały już rozwiązane (włącznie z zasadą działania jego urządzenia napędowego opisanego tu pod nazwą "komora oscylacyjna"). Dlatego realizacja techniczna tego wehikułu może zostać zapoczątkowana niemal natychmiast. To zaś oznacza, że w przypadku jeśli faktycznie znajdę od dawna poszukiwanego promotora oraz otrzymam wymagane finansowanie na badania, pierwszy latający prototyp magnokraftu może zostać dostrzeżony na naszym niebie jeszcze przed końcem następnej dekady.
       Wszystkie powyższe cechy magnokraftu wzięte razem czynią jego urzeczywistnianie jednym z najatrakcyjniejszych ambicji naukowych naszego stulecia.


#G2. Niewidzialność dla ludzkich oczu:

       Nawykliśmy myśleć, że nic nie może stać się całkowicie niewidzialne dla ludzkich oczu. Jednak zwykle nie jesteśmy świadomi, że potężne pole magnetyczne może uformować tzw. "soczewkę magnetyczną" która jest niemal identyczna do znanych nam soczewek optycznych. Aby było nawet bardziej interesujące, taka "soczewka magnetyczna" nie posiada wyraźnie zdefiniowanych powierzchni, które odbijałyby światło tak jak czynią to soczewki optyczne. Dlatego magnokraft owinięty w taką soczewkę magnetyczną może pozostawać całkowicie niewidzialny dla ludzkich oczu, dla naszych kamer, a także dla naszego radaru. W podobny sposób użytkownicy "magnetycznego napędu osobistego" opisanego poprzednio w punkcie #F3 tej strony, również mogą uczynić się zupełnie niewidzialni dla ludzi, po otoczeniu się właśnie taką "soczewką magnetyczną". Dlatego posiadacze takiego "magnetycznego napędu osobistego" mogą postępować niemal jak "duchy" lub jak starożytni "bogowie", znaczy mogą całkowicie znikać z ludzkiego widoku, lub pojawiać się przed ludźmi na każde swoje życzenie. (Faktycznie zresztą różni dowcipnisie posiadający taki napęd, będą czynili psikusy i straszyli tych mniej zorientowanych od siebie.) Poniżej pokazałem ilustrację która wyjaśnia jak soczewką magnetyczna jest formowana przez magnokraft (po dalsze szczegóły owej soczewki patrz podrozdział G10.3 w monografii [1/5]):

Rys. G32.

Rys. G32 z [1/5]: Wyjaśnienie dla efektu "soczewki magnetycznej".
       Efekt taki może zostać wytworzony na życzenie przez wszystkie wehikuły magnokrafto-podobne. Postronny obserwator który śledzi (lub fotografuje) taki wehikuł, gdy ów efekt został włączony, w najbardziej korzystnym przypadku może jedynie zarejestrować kwadratową komorę oscylacyjną z pędnika głównego, podczas gdy cała powłoka statku pozostaje dla niego niewidzialna (patrz też rysunek F6 w [1/5]). Najczęściej jednak nie jest w stanie zobaczyć ani sfotografować niczego z danego wehikułu, który może znajdować się tuż przed jego nosem. Aby wytworzyć taką soczewkę magnetyczną, dany wehikuł otacza się stałym polem magnetycznym. Konfiguracja tego pola jest tak wysterowana, aby moc uwięziona w centralym obwodzie magnetycznym (tj. obwodzie którego linie sił przebiegają jedynie przez pędnik główny) przewyższała wielokrotnie moc krążącą w międzypędnikowych i bocznych obwodach magnetycznych (tj. obwodach których linie sił przebiegają przez pędnik główny i pędniki boczne). Stąd ów centralny obwód magnetyczny hermetycznie zawija w sobie nie tylko cały korpus statku, ale także jego pozostałe dwa obwody. Linie sił skoncentrowanego pola magnetycznego tego obwodu centralnego zachowują się jak wiązka włókien optycznych oddziaływujących na światło odbite do obserwatora. Ich oddziaływanie manifestuje się na dwa następujące sposoby: (1) powoduje ono zakrzywianie światła którego droga powinna przebiegać w poprzek linii sił pola magnetycznego (tj. światło odbite od korpusu statku zostaje tak ugięte że nie dociera ono do osoby obserwującej), ale (2) umożliwia ono swobodne przejście światła którego droga przebiega wzdłuż linii sił pola magnetycznego (tj. tylko światło pochodzące z pędnika głównego może bez przeszkód dosięgnąć obserwatora stojącego dokładnie pod statkiem). Stąd najkorzystniej ustawiona osoba która patrzy na taki magnokraft dokładnie spod spodu (tj. wzdłuż linii sił obwodu centralnego), może co najwyżej zobaczyć kwadratowy lub romboidalny kształt kapsuły dwukomorowej z pędnika głównego, podczas gdy cała reszta statku - hermetycznie zawinięta w linie sił pola magnetycznego nie jest dla osoby tej widoczna. Dla wszystkich innych osób, które patrzą na statek pod znacznie większymi kątami, cały wehikuł staje się niewidzialny (patrz także rysunki F6, S5 i S4 z [1/5]). Oznaczenia: 1 - droga po której światło nie jest w stanie się przedostać, 2 - droga po której światło bez przeszkód dociera do obserwatora.
       Powyższa ilustracja ujawnia, ze magnokraft owinięty w soczewkę magnetyczną może zostać zobaczony jedynie w przypadku kiedy obserwator patrzy na niego dokładnie od spodu, oraz kiedy jednocześnie ów statek wznosi się w górę. Natomiast dla wszystkich innych kątów patrzenia, a także przy wszystkich innych manewrach, taki magnokraft jest w stanie stać się całkowicie niewidzialnym dla ludzi - jeśli jego załoga życzy sobie pozostać nieodnotowana.


#G3. Odparowanie podziemnych tuneli:

       Jedną z najbardziej niezwykłych zdolności magnokraftu jest, że statek ten potrafi przelatywać przez dowolną materię stałą, oraz formować w niej szkliste tunele. Efekty wizualne jakie towarzyszyły będą odparowywaniu tych tuneli są identyczne do tych które widzieliśmy podczas "zawalania" się budynków WTC w dniu 11 września 2001 roku. Mianowicie, materia stała topi się przed tym statkiem jak masło na gorącej patelni, podczas gdy odparowana materia stała formuje intensywną chmurę pary skalnej. Chmura ta zostaje następnie wydmuchana z owych podziemnych tuneli aby opaść na ziemię w formie miałkiego jak mąka proszku, który dokładnie pokrywa cały pobliski obszar. Aby było jeszcze bardziej niezwykłe, podczas odparowywania owych tuneli w materii stałej magnokraft jest w stanie pozostawać całkowicie niewidzialny dla ludzkich oczu i kamer, ponieważ ukrywa się on poza zasłona np. swojej soczewki magnetycznej. Oto ilustracja zasady odparowywania tuneli podziemnych przez magnokraft, a także cechy tych tuneli jakie wynikają z owej zasady:

Rys. G31

Rys. G31 z [1/5]: Formowanie oraz charakterystyczne cechy tuneli wypalanych w skale podczas podziemnych przelotów magnokraftu.
       Ich szczegóły ukazano tak jakby gleba była przeźroczysta i stąd ujawiała tunel oraz wypalający go statek. Końcowy kształt tych tuneli wypalanych przez magnokrafty jest zdefiniowany przez fakt, że magnokraft zawsze podczas lotu stara się utrzymywać swą podstawę prostopadle do lokalnego przebiegu linii sił ziemskiego pola magnetycznego. (Zauwaz ze niniejszy rysunek z dnia 8 marca 1998 roku zastępuje starszą i mniej ilustratywną swoją wersję pokazującą tą samą zasadę formowania tuneli.)
       (a) Zasada wypalania podziemnych tuneli. Pokazuje ona penetrację skały rodzimej przez "piłę plazmową" Magnokraftu jaki zmienił kierunek lotu z początkowego kierunku południe ku północy, na końcowy kierunek ze wschodu na zachód zilustrowany na tym rysunku. Oznaczenia: 1 - magnokraft, 2 - wirujaca tarcza obwodów magnetycznych statku które jak ogromna piła plazmowa wcinają się w skałę i odparowują tunel, 3 - odparowana skała rozprężająca się wzdłuż już wypalonego odcinka tunelu, 4 - gruz skalny jaki opada na dno tunelu po przelocie statku.
       (b) Przebicie z tunelu. Jest to naturalna szczelina lub skała przerwana ciśnieniem sprężonych w tunelu gazów. Sprężone w tunelu opary skalne umykają nim ku powierzchni. Może ono potem być użyte jako dodatkowe wejście do tunelu. Symbole: 5 - rozsiew skroplonej skały tunelu formujący jakby miniaturkę wulkanu przy szczelinie wylotowej (jego obecność zdradza to przebicie), 6 - kanał w skale przez który sprężone opary skalne przedzierają się ku powierzchni.
       (c) Eliptyczny tunel pozostawiony przez magnokraft poruszający się w kierunku północ/południe. Tunel taki ma przekrój eliptyczny ponieważ powstaje on przez odwzorowanie w skale kolistego obwodu wehikułu lecącego z podstawą prostopadłą do linii sil miejscowego pola magnetycznego otoczenia - patrz też cześci (b) i (d) rysunku V6 z [1/5]. Symbole: 7 - szkliste ściany i sufit tunelu (ich powierzchnia będzie ukazywała bąble zastygnięte w skale), 8 - aerodynamiczna podłoga pozorna będąca górną powierzchnią "mostu skalnego" - w tunelach poziomych podłoga ta jest płaska, relatywnie równa i sucha, zaś w tunelach biegnących pod kątem ma ona formę poprzerywanych "zasp" i "mostków" przez które przebija się woda, 9 - "most skalny" uformowany z warstwy zastygłych i stwardniałych oparów stopionej przez statek skały rodzimej (leży on na powierzchni gruzu skalnego), 10 - gruz skalny wypełniający spodnią część tunelu i zakrywający jego rzeczywistą podłogę, 11 - woda gromadząca się w szczelinach gruzu skalnego i formująca strumień przepływający pod podłogą pozorną tunelu, 12 - podłoga rzeczywista tunelu po której spływa woda, 13 - zasięg termicznych i magnetycznych zmian skały rodzimej, spowodowanych oddziaływaniem na nią plazmy i pola statku.
       (d) Trójkątny tunel formowany podczas lotów magnokraftu w kierunkach wschód/zachód. Kształt tego tunelu wynika z odwzorowania w nim przekroju bocznego wytapiającego go wehikułu - patrz też cześć (a) rysunku O6. Oznaczenia: I - kąt inklinacji ziemskiego pola magnetycznego definiujący nachylenie statku podczas podziemnego lotu i stąd również nachylenie tuneli o przekroju trójkątnym oraz stopień spłaszczenia tuneli o przekroju eliptycznym (a ściślej stosunek długości osi poziomej elipsy do jej osi pionowej). Symbole 7 do 13 noszą znaczenie już wyjaśnione w części (c) tego rysunku.
* * *
       Dalsze szczegóły na temat zasad odparowywania tuneli podziemnych przez magnokrafty, jak również cechy oraz przykłady takich tuneli, są zaprezentowane w podrozdziałach G10.1.1, V5.3.1 i V8.1 z tomów 3 i 17 monografii [1/5].


#G4. Odnotuj ten tunel:

       Oto gładki, długi, prosty, geometrycznie ukształtowany i namagnesowany tunel zwany "Deer Cave" (tj. "Jelenia Jaskinia"), jaki penetruje poprzez masyw gory na tropikalnej Wyspie Borneo. Posiada on wszystkie cechy które muszą być obecne w tunelach uformowanych podczas podziemnych przelotów wehikułu magnokrafto-podobnego - jak owe atrybuty zostały wyjaśnione przez "Teorię Magnokraftu" oraz zilustrowane na rysunku G31 powyżej. Końcowy kształt tego tunelu (tj. eliptyczny w obszarze ujętym na powyższym zdjęciu - który jest zorientowany z południa na północ, oraz trójkątny w obszarach gdzie ów tunel skręca w kierunku wschód-zachód) ilustruje wymóg, że podstawa spodko-kształtnego magnokraftu musi przez cały czas pozostawać prostopadła do linii sił lokalnego pola magnetycznego. Razem z innymi tunelami zilustrowanymi na rysunku V6 z monografii [1/5], ten podziemny tunel doskonale ilustruje jak muszą wyglądać tunele odparowane przez magnokrafty, oraz jakie cechy muszą być w nich obecne:

Rys. V6 (d).

Rys. V6 (d) z [1/5]: Tzw. "Deer Cave" (czyli "Jelenia Jaskinia") z Mulu Cave System w Północnym Borneo.
       Powyższe zdjęcie pokazuje około jednej trzeciej długości owej Deer Cave (tj. Jeleniej Jaskini) z Mulu na Północnym Borneo. Sfotografowany odcinek ukazuje wygląd początka tej jaskini przy jej południowym wejściu używanym przez turystów. Cała owa jaskinia ma kształt litery "S", zaś jej długość całkowita wynosi około 1 kilometra. Sufit tej jaskini wznosi się na około 120 metrów ponad podłogą pozorną. Stąd jej wymiary odpowiadają dosyć dokładnie tym spodziewanym przez jaskinie odparowane przez cygaro uformowane z dwóch magnokraftów typu K8 (tj. przez konfigurację magnokraftów dosyć podobną do tej pokazanej tutaj na rysunku G1 "c"). Na powyższej fotografii ujęta została płaska podłoga pozorna, rumowiska skalne odpadłe od zawalonego sufitu, a także część wytopionego oryginalnie zaokrąglonego sklepienia - patrz na około 1/3 długości zjęcia w jego górnej-lewej części.
       Warto tu odnotować, że z powodów wyjaśnionych szerzej w "części #L" tej strony, podobnych tuneli "odparowanych technologicznie przez już zbudowane magnokrafty" istnieje na Ziemi znacznie więcej - np. wejście do jednego z nich znane było kiedyś nawet w Polsce na Babiej Górze (po szczegóły owego "babiogórskiego tunelu" patrz polskojęzyczny traktat [4b]). Zdjęcia i opisy niektórych już zidentyfikowanych z owych tuneli przytoczone są w podrozdziałach V5.3 z tomu 17 monografii [1/5], a także np. na "Fot. #F1" do "Fot. #F3" ze strony newzealand_pl.htm, czy np. na "Fot. #11" ze strony korea_pl.htm.


Część #H: Magnetyczne sprzęganie Magnokraftów w latające konfiguracje:

      

#H1. Połączenia magnokraftów:

       Jednym z najważniejszych atrybutów pędników magnokraftu jest że pozwalają one na łatwe i całkowite sterowanie wytwarzanym przez nie wydatkiem magnetycznym, zorientowaniem biegunów magnetycznych, oraz kierunkiem w jaki wydatek ten jest odprowadzany. Stąd, niezależnie od ich funkcji napędowych, pędniki te mogą także być użyte jako urządzenia sprzęgające, umożliwiając w ten sposób na łatwe dołączanie jednego wehikułu do innego bez widocznego zakłócania możliwości lotnych któregokolwiek z nich. Siły jakie łączą razem sprzęgane magnokrafty formowane są poprzez magnetyczne oddziaływania ich pędników zbliżonych do siebie w efekcie łączenia. Praktycznie więc magnokrafty mogą się wzajemnie łączyć ze sobą na tej samej zasadzie jak kilka małych magnesów może się połączyć nawzajem formując jeden większy magnes. Co ciekawsze, jak to opisano w podrozdziale G3.2 monografii [1/5], magnokrafty mogą się łączyć i rozłączać w trakcie swego lotu. Taki łatwy sposób magnetycznego łączenia ze sobą kilku magnokraftów w latającą konfigurację, w powiązaniu z licznymi zaletami jakich jest on źródłem, powoduje że łączenie tych wehikułów razem będzie bardzo powszechnym zjawiskiem. Stąd obserwatorzy tych statków przy jednej okazji będą mogli zobaczyć je jako pojedyncze wehikuły w kształcie odwróconego spodka, podczas gdy przy innej okazji mogą odnotować je jako kule, cygara, platformy, krzyże, oraz setki innych możliwych kształtów które mogą zostać stworzone z kilku magnokraftów sprzężonych ze sobą razem. (patrz rysunki poniżej). Wszystkie owe latające konfiguracje magnokraftów mogą być poklasyfikowane aż na sześć odrębnych klas zilustrowanych na rysunkach z rozdziału G w tomie 3 monografii [1/5] oraz omówionych w punkcie #H2 tej strony. Trzy przykłady połączeń pokazane poniżej wyjaśniają zasady formowania takich latających połączeń. Dwie pierwsze z nich (tj. kula i cygaro) należą do klasy #1 "latające kompleksy" z punktu #H2 tej strony. Z kolei ostatni przykład (tj. układ podwieszony) należy do klasy #4 "platformy nośne" z punktu #H2 tej strony. Jedna z bardziej powszechnych takich latających konfiguracji magnokraftów będzie zapewne latające cygaro pokazane tutaj na rysunku G1 (c). Cygaro takie jest formowane poprzez wstawianie wypukłego wierzchołka jednego wehikułu we wklęsłą podłogę innego, itp. Wynik jest podobny do stosu talerzy w kuchni powstawianych jeden na drugim. Co jednak najważniejsze, zarówno takie cygaro, jak i wszystkie inne omawiane tutaj konfiguracje magnokraftów są w stanie latać i manewrować równie efektywnie jak pojedyńczy magnokraft.
Rys. G1(b)

Rys. G1 (b) z [1/5]: Latający kompleks kulisty sprzężony z dwóch magnokraftów typu K3.
       Zauważ, że łączenie razem magnokraftów większego typu (tj. typów K4 do K10 - patrz rysunek G19 z [1/5]) formować będzie kompleks o bardziej spłaszczonym kształcie.

Rys. G1(c)

Rys. G1 (c) z [1/5]: Widok boczny kompleksu latającego sprzężonego z szesciu magnokraftów typu K3, zwany "cygarem posobnym".
       Kompleks ten powstaje przez osadzenie wklęsłej podstawy każdego statku na wypukłą kopułę górną statku poprzedniego. Wynikowa konfiguracja przypomina stos talerzy w kuchni osadzonych jeden na drugim. Wymiary gabarytowe magnokraftów typu K3 wynoszą: D=4.39, H=1.46 metrów. Po wylądowaniu, n = 8 pędników bocznych tych wehikułów wypala w glebie pierścień o średnicy nominalnej d = 3.10 metrów - patrz równania (G12), (G16) i (G34) z [1/5].

Rys. G6(4)

Rys. G6 (4) z [1/5]: Przyklad tzw. "układu podwieszonego", tj. konfiguracji formowanej kiedy kilka mniejszych magnokraftów podwiesza się pod podstawą większego statku matki.
       Cechą charakterystyczną tego układu jest że pędnik główny każdego podwieszonego magnokraftu przylega do pędnika bocznego statku matki. Siły które łączą wszystkie statki razem formowane są w rezultacie wzajemnego przyciągania się pomiędzy pędnikami bocznymi statku matki oraz pędnikami głównymi statków podwieszonych pod nią. Rysunek pokazuje cztery magnokrafty typu K3 podwieszone pod podstawą magnokraftu typu K5 (z całkowitej liczby ośmiu statków typu K3 możliwych do przenoszenia przez szesnaście pędników bocznych statku matki typu K5).


#H2. Sześć klas połączeń magnokraftu:

       #1. Latające kompleksy. Ich przykladami sa: kompleks kulisty i cygaro posobne pokazane na rysunkach G1 "b" i G1 "c" z tomu 3 monografii [1/5], zaś powtórzone na "Rys. #G1(b)" i "Rys. #G1(c) powyżej na tej stronie. Są to najprostsze fizyczne (stykowe) połączenia magnokraftów umożliwiające ich załogom bezpośrednie przechodzenie z pokładu jednego statku na drugi. Stąd w praktyce stosowane one będą i widywane najczęściej. Otrzymywane są one gdy w łączonych wehikułach: (a) pędnik główny zawsze konfrontuje inny pędnik główny, zaś pędniki boczne zawsze konfrontują inne pędniki boczne, (b) wszystkie pędniki formują wyłącznie oddziaływania przyciągające, oraz (c) sposób połączenia zapewnia kontakt trwały.
       #2. Konfiguracje semizespolone. (Ich przyklad pokazano na rysunku G9 z monografii [1/5]). Razem z konfiguracjami niezespolonymi omówionymi w następnym punkcie, są to najłatwiejsze do uzyskania i najszybsze do przeprowadzenia połączenia magnokraftów. Stąd stosowane będą często do prowizorycznego łączenia wehikułów rozdzielonych uprzednio. W tych połączeniach: (a) konfrontowanie pędników jest takie same jak w latających kompleksach (tj. główny do głównego, boczne do bocznych), (b) oddziaływania przyciągające formowane są jedynie przez pędniki główne, podczas gdy pędniki boczne obu łączonych wehikułów odpychają się od siebie, oraz (c) kontakt pomiędzy wehikułami jest chwiejny (tj. następuje w punkcie zetknięcia się dwóch wypukłych czaszy kulistych). Na przekór takiemu chwiejnemu kontaktowi, konfiguracja jest trwała i sztywna ponieważ zestawienie ze sobą magnetycznych oddziaływań przyciągających oraz odpychających dostarcza wymaganej stabilności.
       #3. Konfiguracje niezespolone. Ich przyklady pokazano na rysunku G10 z monografii [1/5]. W tych: (a) pędniki są konfrontowane w taki sam sposób jak w kompleksach fizycznych i konfiguracjach semizespolonych, (b) charakter oddziaływań pomiędzy pędnikami jest odwróceniem oddziaływań w konfiguracjach semizespolonych, tj. pędniki główne obu wehikułów odpychają się wzajemnie od siebie, natomiast pędniki boczne przyciągają się wzajemnie, oraz (c) nie istnieje fizyczny kontakt pomiędzy sprzeganymi wehikułami tak że utrzymują się one oddzielnie w odpowiedniej odległości od siebie. Jednak oddziaływania magnetyczne pomiędzy wehikułami są tak silne i stabilne, że wehikuły utrzymują stabilną i trwałą konfigurację. Zauważ, że w konfiguracjach tych dysze wylotowe z pędników bocznych obu wehikułów muszą być połączone ze sobą przez kolumny wysoko skoncentrowanego pola magnetycznego jakie przechwytuje światło i stąd wygląda jak prostokątne "czarne belki" - po ich opisy patrz podrozdział G10.4 z monografii [1/5].
       #4. Platformy nośne. Ich przylad pokazano na rysunku G6 (4) po lewej stronie. Otrzymywane są one gdy: (a) pędnik główny jednego wehikułu konfrontuje pędnik boczny innego wehikułu, (b) wszystkie oddziaływania międzypędnikowe są przyciąganiem, oraz (c) kontakt jest trwały. Konfiguracje takie są najkorzystniejsze kiedy szereg małych magnokraftów ma zostać uniesionych przez większy statek matkę (patrz tez rysunek G11 "a" z monografii [1/5]). Jednak użyte też mogą zostać dla połączenia z sobą dwóch wehikułów tego samego typu (patrz rysunek G11 b z monografii [1/5]).
       #5. Latające systemy. Ich przyklad pokazano na rysunku G12 z monografii [1/5]. Umożliwiają one łączenie ze sobą ogromnej liczby wehikułów tego samego typu (w niektórych okolicznościach setek czy nawet tysięcy wehikułów). Dla tych: (a) pędnik boczny jednego magnokraftu konfrontuje pędnik boczny innego, podczas gdy ich pędniki główne wcale się nie konfrontują, (b) wszystkie oddziaływania pomiędzypędnikowe są przyciągające, oraz (c) kontakt jest trwały. W latających systemach, nie tylko że pojedyncze wehikuły, ale całe latające cygara mogą być sprzęgane ze sobą. W ten sposób całe latające miasteczka mogą być formowane na czas podróży międzygwiezdnych. Latające systemy są konfiguracjami najwyższej rangi dla magnokraftów tego samego typu.
       #6. Latające klustery. Ich przyklad pokazano na rysunku G13 z monografii [1/5]. Są to po prostu różnorodne odmienne konfiguracje sprzęgniętych magnokraftów i pojedynczych wehikułów jakie następnie bezdotykowo łączą się ze sobą w rodzaj magnetycznych pociągów. W latających klusterach: (a) żadne z pędników jednego statku lub konfiguracji nie konfrontują bezpośrednio pędników innego klustrowanego wehikułu lub konfiguracji (tj. we wszystkich konfiguracjach i wehikułach klustrowanych ze sobą osie magnetyczne ich pędników pozostają równoległe do siebie i pozostają w znacznej wzajemnej odległości), (b) dwie kolejne konfiguracje które należą do danego klustera wyrażając to w uproszczeniu przyciągają się do siebie swymi pędnikami głównymi zaś odpychają od siebie swymi pędnikami bocznymi (w praktyce zasady tego przyciągania i odpychania są nieco bardziej złożone - patrz opisy z podrozdziału G3.1.6 w monografii [1/5]), oraz (c) nie występuje fizyczny kontakt pomiędzy indywidualnymi konfiguracjami i wehikułami formującymi dany kluster. Przykładem typowego dwuwymiarowego latającego klustera może być "latający krzyż" pokazany w części #6 rysunku G6 z monografii [1/5].
       Przykłady wszystkich owych sześciu klas zostały zilustrowane na "Rys. #5abcdef" ze strony o nazwie propulsion_pl.htm. W każdej z powyższych klas łączonych magnokraftów wyróżnić się daje szczegółowe połączenia jakie różnią się od siebie kształtem, liczbą sprzęgniętych ze sobą statków, ich wzajemnym zorientowaniem, itp. Faktycznie to magnokrafty mogą formować setki najróżnorodniejszych konfiguracji tego typu, każda z których jest unikalna i każda będzie wyglądała zupełnie odmiennie niż inne.


Część #I: Magnokrafty drugiej i trzeciej generacji:

      

#I1. Trzy generacje magnokraftów:

       Na niniejszej stronie opisany jest tylko magnokraft najbardziej prymitywnej, bo pierwszej generacji. Jego napęd działa na zasadzie magnetycznego odpychania i przyciągania. Niezależnie od niego na Ziemi zbudowane będą też dwie bardziej zaawansowane generacje magnokraftów, których opisy przytoczone są w odrębnych opracowaniach. Będą one nazywane magnokraftami drugiej i trzeciej generacji.


#I2. Magnokrafty drugiej generacji - czyli wehikuły telekinetyczne:

       Magnokrafty drugiej generacji wykorzystują do swego napędu odmienne zjawisko "technicznie indukowanej telekinezy". Opis owych wehikułów telekinetycznych zawarty jest w rozdziale LC z tomu 10 monografii [1/5].


#I3. Magnokrafty trzeciej generacji - czyli "wehikuły czasu":

       "Wehikuły czasu" opisane są dokładniej na dwóch odrębnych stronach internetowych, mianowicie na stronach timevehicle_pl.htm oraz immortality_pl.htm. Duga z tych stron, czyli strona immortality_pl.htm, opisuje jak z pomocą wehikułów czasu ludzie mogliby nieskończenie przedłużać swoje życie poprzez cofanie swego czasu do lat młodości po każdym osiągnięciu wieku starczego. Bardziej szczegółowo "wehikuły czasu" są opisane w rozdziale M z tomu 11 mojej najnowszej monografii [1/5].


Część #J: Jak zmarnowano zapewne jedyną okazję aby magnokraft zbudowany został w Polsce jeszcze w XX wieku:

      

#J1. Kiedy i dlaczego usiłowałem podjąć budowę magnokraftu w Instytucie TBM Politechniki Wrocławskiej:

       W latach 1970 do 1980 Politechnika Wrocławska była zupełnie odmienną uczelnią niż jest nią teraz. Do jej grona naukowego weszła wówczas duża porcja absolwentów mojego rocznika - którzy wykazywali ogromny entuzjazm twórczy oraz jedno z najlepszych przygotowań zawodowych na świecie. W owym czasie uczelnia ta miała też niespotykaną gdzie indziej atmosferę twórczą połączoną z nietypową prężnością, doświadczeniem zawodowym i możliwościami wykonawczymi. Jak ja ustaliłem to potem na bazie swoich wędrówek po uczelniach świata i otwarcie wyjaśniłem w punkcie #E1 odrębnej strony o nazwie rok.htm, w latach 1960 do 1980 Politechnika Wrocławska była jedną z najlepszych, jeśli nie najlepszą, uczelnią świata (dla porównania patrz też punkt #J1.1 poniżej). Przykładowo jej Instytut Technologii Budowy Maszyn miał do swojej dyspozycji wszystko co według mojej oceny byłoby wymagane aby zbudować prototyp działającego magnokraftu. Miał bowiem entuzjastyczną i wysoce twóczą kadrę jednych z najwyżej wykwalifikowanych naukowców inżynierii, intensywnie współpracował z przemysłem (np. ja sam oprócz pracy na uczelni równocześnie pracowałem też w przemyśle na pół etatu jako naukowy doradca w Elwro i w Polmo-Jelcz) - jego kadra naukowa była więc doświadczona i twardo stała na ziemi, utrzymywał nietypowo wysoką atrmosferę twórczą i etykę zawodową, miał doskonale wyposażone laboratoria badawcze, miał wspaniałe prototypownie o niespotykanej na innych uczelniach zdolności wykonawczej, miał też dostęp do obszernych bibliotek oraz szybkiej i efektywnej informacji technicznej, technologicznej i naukowej. Jedyne czego wówczas brakowało jego kierownictwu, to wiary we własne siły i znajomości możliwości swojej kadry, a także projektu takiego jak "budowa magnokraftu" który by mu uświadomił jaki jest prawdziwy potencjał twórczy i wykonawczy tego instytutu.
       W 1986 roku opublikowałem swoją pierwszą polskojęzyczną monografię [1], wyczerpująco opisującą magnokraft. Nosiła ona dane biograficzne: Pająk J.: "Teoria Magnokraftu (monografia o dyskoidalnym statku kosmicznym napędzanym pulsującym polem magnetycznym)". Wydanie I, polskojęzyczne. Marzec 1986, Invercargill, Nowa Zelandia, ISBN 0-9597698-5-4; 136 stron, 58 rysunków. (Monografia ta jest referowana pod numerami [1] i [1Fc] w spisie literatury uzupełniającej z rozdziału Y i z podrozdziału F10 mojej najnowszej monografii [1/5]. Faktycznie była ona "prototypem" dla opisów magnokraftu z mojej dzisiejszej monografii [1/5].) Mając już opublikowaną ową monografię [1], jeszcze w 1986 roku zwróciłem się oficjalnie do Rady Naukowej Instytutu Technologii Budowy Maszyn Politechniki Wrocławskiej o pozwolenie mi na otworzenie w owym instytucie przewodu habilitacyjnego którego zakres tematyczny obejmowałby właśnie budowę i działanie magnokraftu wyjaśnione treścią owej monografii. Niestety, w 1986 roku Rada Naukowa owego I-24 odrzuciła magnokraft jako kwalifikujący się na zakres tematyczny dla mojej rozprawy habilitacyjnej i odmówiła mi prawa otarcia przewodu habilitacyjnego w owym instytucie. A wieka szkoda. Wszakże gdyby wówczas pozwolono mi podjąć tam prace badawcze i rozwojowe nad zbudowaniem owego wehikułu, do końca XX wieku magnokraft z całą pewnością byłby już zbudowany w Polsce. Do dzisiaj zaś prawdopodobnie bym już zbudował i oddała w służbę Polaków nawet jeszcze bardziej zaawansowaną wersję magnokraftu zdolną do podróży przez czas i do cofania nas do lat młodości po każdym osiągnięciu przez nas wieku starczego, która to wersja magnokraftu, na odrębnej stronie o nazwie immortality_pl.htm, jest opisana pod nazwą "wehikułu czasu". Powody dlaczego ja jestem aż taki pewny, iż tamta moja osobista próba zbudowania magnokraftu na Politechnice Wrocławskiej zakończyłaby się sukcesem, wyjaśnia treść punktu #J3 poniżej na tej stronie.


#J2. Renoma Politechniki Wrocławskiej a uszeregowania uczelni według ich jakości:

       Jak ujawniłem to powyżej, moje porównania dokonywane podczas wędrówek "za chlebem" po uczelniach świata, pozwoliły mi ustalić, że w latach 1960 do 1980 Politechnika Wrocławska była jedną z najlepszych, jeśli NIE najlepszą, uczelnią świata - co uzasadniam szerzej w punkcie #E1 odrębnej strony o nazwie rok.htm. Ja jednak NIE jestem jedynym który dokonuje porównań jakości poszczególnych uczelni świata. Z chwilą bowiem kiedy upowszechnienie się "internetu" otworzyło każdemu możliwość publikowania tego co uważa za właściwe, najróżniejsze instytucje na świecie też podjęły temat sporządzania własnych wykazów uczelni świata uszeregowanych pod względem "jakości" (w zrozumieniu owej "jakości" przez danego publikującego). Dlatego w chwili obecnej istnieje już sporo takich list które wskazują opinie ich autorów co do tego które uczelnie na świecie zajmują jakie pozycje pod względem jakości. Aby poznać ile różnych takich list zostało już opracowanych, wystarczy w jakiejś wyszukiwarce, np. w "google.com", wpisać słowa kluczowe: world university rankings. Przykładowo, jedną z instytucji sporządzających takie wykazy uczelni, jest gazeta w UK o nazwie The Times Higher Education Supplement. Gazeta ta bowiem przez wiele lat publikowała dosyć dochodowe ogłoszenia zatrudnieniowe wywodzące się z poszczególnych uczelni świata. Poznała więc relatywnie dobrze te uczelnie od strony kadry jaką zatrudniają. (Nic dziwnego że gazeta ta ujmuje w swoim wykazie praktycznie tylko te uczelnie w których jakieś przedmioty wykładane są w języku angielskim, a stąd które zatrudniają lub zatrudniały angielskojęzycznych wykładowców wyszukanych z pomocą owej gazety. Ponadto, na przekór iż gazeta ta używa najróżniejszych kryteriów oceny owych uczelni, trudno oprzeć się wrażeniu iż pozycja zajmowana przez jakąś uczelnię na jej wykazie zależy od ilości ogłoszeń pracodawczych które uczelnia ta opublikowała w tej gazecie.) Niestety, wykaz owej gazety jest dosyć niezgrabny i niezbyt dobrze dopracowany - np. we wrześniu 2011 roku ciągle brakowało w nim wyszukiwarki która pozwalałaby odnaleźć uczelnie, czy informacje, jakich ktoś poszukuje.
       Najpowszechniej uznawany i cytowany wykaz pozycji poszczególnych uczelni świata publikowany jest w angielskojęzycznym raporcie sporządzanym corocznie (począwszy od 2004 roku) przez instytucję zwaną QS Ltd. (tj. Quacquarelli Symmonds Ltd.). Raport tej instytucji nazywa się "World University Ranking". We wrześniu 2011 roku instutucja ta publikowała pierwszą część tego raportu zawierającą pierwsze 300 uczelni świata (pozycje pozostałych uczelni miały być opublikowane pod koniec 2011 roku). Krótki artykuł [1#J2] o owej instytucji i o jej ocenie uczelni z Malezji, noszący tytuł "UM among top 200 varsities" (tj. "Universiti Malaya w obrębie najlepszych 200 uniwersytetów" - odnotuj że "UM" to uczelnia na której i ja wykładałem w latach 1993 do 1996), opublikowany został na stronie 18 malazyjskiej gazety The Star, wydanie z poniedziałku (Monday), 5 September 2011.
       Niestety, oceny poszczególnych uczelni świata instytucja ta dokonuje według kryteriów które okazują się najważniejsze z punktu widzenia utrzymywania obecnie już istniejącego "status quo" - zaś które są zupełnie bezużyteczne z punktu widzenia indukowania dalszego "postępu ludzkiej nauki, techniki i jakości życia". Przykładowo, spełnianie kryteriów tej instytucji gwarantuje kontynuację dotychczasowego zaduszającego postęp "monopolu na wiedzę" dzierżonego przez starą tzw. "ateistyczną naukę ortodoksyjną" - opisywaną dokładniej m.in. w punkcie #A2.6 strony o nazwie totalizm_pl.htm, w punktach #C1 do #C6 strony o nazwie telekinetyka.htm czy w punkcie #B1 strony o nazwie tornado_pl.htm. Kryteria te obejmują bowiem recenzje (cenzurę) opracowań uczelni dokonywane przez akademików z innych uczelni, reputację danej uczelni wśród zatrudniodawców, stosunek zatrudnionych na uczelni lokalnych wykładowców do zatrudnionych tam zagranicznych wykładowców, procent międzynarodowych studentów, liczbę studentów przypadających na jednego wykładowcę, oraz liczbę obcych powołań na publikacje przypadająca na każdego wykładowcę. Jeśli dokładniej przeanalizować te kryteria, wówczas się okazuje że wszystkie one mają anty-postępowe działanie, ponieważ każda z nich zwiększa intelektualną inercję, zniechęca do podejmowania badań w nowatorskich kierunkach i tematach, popiera nacisk i wpływ innych naukowców na to co dany naukowiec ma prawo badać i jakie wyniki wolno mu publikować, zabija twórcze i niekonwencjonalne myślenie, itd., itp. Innymi słowy, instytucja ta (podobnie jak każda inna dzisiejsza instytucja sporządzająca tego typu wykazy uczelni), NIE używa do oceny poszczególnych uczelni kryteriów które byłyby istotne dla "postępu wiedzy, techniki i jakości życia na Ziemi" - czyli kryteriów postulowanych jako istotne przez nową tzw. "naukę totaliztyczną" opisywaną dokładniej m.in. w punktach #F1 do #G2 strony o nazwie god_istnieje.htm. Przykładowo, NIE uwzględnia ona nacisku jaki uczelnie powinny kłaść na wpajanie w studentów moralnego i etycznego postępowania i zachowania - wszakże "moralność" jest "kluczem do wszystkiego" (po szczegóły patrz punkt #B4 na stronie o nazwie morals_pl.htm), poziomu dyscypliny i sumienności wypracowywanych na uczelni (obrazowanego np. stosunkiem liczby studentów którzy mając do wyboru kilka terminów ochotniczo pozdawali w pierwszym terminie - do całkowitej liczby studentów, czy stosunkiem ilości projektów wydanych studentom do liczby projektów ukończonych i złożonych na czas, czy stosunkiem przeciętnej obecności na bezegzaminowych wykładach do liczby studentów zapisanych na dany przedmiot), poziomu trudności w dostaniu się na uczelnię (obrazowanego np. przez stosunek liczby kandydatów starających się w niej o wstęp do liczby kandydatów przyjętych w niej na studia), poziomu wymagań zawodowych i akademickich (odzwierciedlanego np. przez stosunek liczby studentów zaczynających studia na danej uczelni do liczby studentów kończących studia), poziomu twórczego studentów lub absolwentów (obrazowanego np. przez stosunek zdobytych miejsc do udziałów jej studentów na międzynarodowych zawodach lub imprezach twórczych, albo np. przez stosunek liczby patentów czy trademarks jakie jej studenci lub absolwenci uzyskali do całkowitej liczby studentów), poziomu twórczego jej kadry akademickiej (obrazowanego np. przez stosunek liczby odkryć i wynalazków o światowym poziomie dokonanych na danej uczelni do liczby zatrudnionych tam wykładowców), poszanowania dla prawdy i tolerancji dla odmiennych poglądów będących siłami motorycznymi postępu (po szczegóły patrz punkt #F1 strony totalizm_pl.htm czy punkt #K1 strony morals_pl.htm), metod i poziomu wykładania indukującego własne sądy i myślenie u studentów (obrazowanego np. przez procent przedmiotów które zawierają prezentacje nawzajem przeciwstawnych teorii tłumaczących te same zjawiska czy zdarzenia - jako przykłady takich przeciwstawnych teorii rozważ "powstanie wszechświata" opisywane przez starą ateistyczną i ortodoksyjną "teorię wielkiego wybuchu (bangu)" oraz przez nowy tzw. Koncept Dipolarnej Grawitacji; obie te wzajemnie przeciwstawne teorie są porównywane m.in. w punkcie #C2 strony cooking_pl.htm czy w punkcie #C12 strony o nazwie biblia.htm), itd., itp. Tymczasem wiele z owych "totaliztycznych kryteriów oceny uczelni" zadecydowało na Politechnice Wrocławskiej właśnie o światowym poziomie jakości absolwentów mojego rocznika - po szczegóły patrz punkt #E1 strony rok.htm.
       W rezultacie przyjęcia nieżyciowych kryteriów oceny uczelni, faktycznie np. moje osobiste oceny jakości uczelni w których ja wykładałem, są odwrotne niż owe oceny oficjalne. To zaś oznacza że coś jest drastycznie "nie tak" w owych oficjalnych ocenach. Wszakże NIE ma lepszej oceny jakichś uczelni niż te pochodzące od wykładowców którzy wykładali zarówno na danych z nich, jak i wykladali w innych uczelniach do nich porównywanych - a stąd którzy gruntownie poznali jakość obu grup studentów. A tak się składa, że ja wykladałem zarówno na uczelniach malezyjskich opisywanych w powyższym artykule [1#J2], jak i w uczelniach nowozelandzkich opisywanych np. w artykule [2#J2] o tytule "Professor predicts brain drain after university rankings fall".(tj. "profesor przewiduje odpływ mózgów po tym jak ocena uniwersytetu spadła), ze strony A13 nowozelandzkiej gazety o nazwie Weekend Herald, wydanie z soboty (Saturday) September 10, 2011. Zgodnie zaś tą moją osobistą oceną i porównaniami uczelni w obu tych krajach, uczelnie z Malezji wypuszczają około dwa razy lepszych absolwentów niż uczelnie z Nowej Zelandii (czyli są około dwa razy lepsze). Tymczasem oficjalne oceny uczelni Malezji grupują się wokoło ich ponumerowania około pozycji 200 na wykazie najlepszych uczelni świata. Jednocześnie oficjalne oceny uczelni z Nowej Zelandii grupują je wokół numeru 100. Zgodnie więc z owymi oficjalnymi ocenami, uczelnie w Nowej Zelandii są około dwa razy lepsze od uczelni w Malezji - co jest dokładną odwrotnością stanu faktycznego.
       W 2011 roku pierwsze miejsca na wykazie "najlepszych" uczelni świata w raporcie owej instytucji QS zajmowały:
1. Cambridge University (UK)
2. Harvard University (US)
3. Massachusetts Institute of Technology (US)
4. Yale University (US)
5. Oxford University (UK)
6. Imperial College London (UK)
"Universiti Malaya" z Malezji zajmuje tam 167 pozycję. Niestety, w 2011 roku żadna z polskich uczelni NIE widniała już na owych najważniejszych, bo pierwszych, 300 pozycjach. Czy oznacza to dalszy spadek jakości polskich uczelni i ich "dreptanie w miejscu" zamiast postępowania do przodu? Wszakże np. w 2010 roku Politechnika Warszawska widniała w owym wykazie na 228 pozycji, zaś Wydział Mechaniczny Politechniki Wrocławskiej widniał tam na 351 pozycji. (Z całej Politechniki Wrocławskiej tylko ten Wydział Mechaniczny był wówczas tam oceniany - czy to oznacza, że tylko on nadal wykazuje najwyższą jakość w całej owej uczelni?) Można więc odnieść wrażenie, że od czasu kiedy ja studiowałem i pracowałem na Politechnice Wrocławskiej, albo uczelnia ta dokonała dużego skoku w dół (lub cofnęła się do tyłu), albo też cały świat się zdegenerował i utracił zrozumienie co naprawdę liczy się u absolwentów uczelni. W obu jednak tych przypadkach najwyższy już czas aby zebrać się w sobie i zacząć jakieś energiczne i efektywne inicjatywy dla poprawy jakości akademickiej i renomy tej uczelni.
       W punkcie #E3 strony o nazwie god_istnieje.htm oraz w punkcie #A2.1 strony o nazwie totalizm_pl.htm wyjaśnione zostało ustalenie filozofii totalizmu, że aby "leżenie do góry brzuchem" i "nieczynienie niczego" NIE było najmoralniejszym postępowaniem ludzkim, Bóg ogromnie rozważnie ustanowił tzw. "pole moralne" które powoduje iż tych co zaniedbują energicznego "postępowania do przodu" owo "pole moralne" automatycznie "cofa do tyłu". Z powodu działania owego "pola moralnego", byłoby to z ogromną korzyścią dla renomy i znaczenia Politechniki Wrocławskiej (która jest tak miłą mojemu sercu) gdyby jej kierownictwo akademickie wytyczyło uczelni jakiś ambitny, dalekowzroczny i kompleksowy projekt badawczy, poczym zaczęło konsekwentnie wdrażać ten projekt w życie - przykładowo projekt stania się "pierwszą uczelnią w świecie która wdrożyła zasady 'totaliztycznej nauki' " - tak jak sugeruje to punkt #E2 na stronie o nazwie wroclaw.htm, albo projekt stania się "najmoralniejsżą uczelnią świata" (np. w zrozumieniu definicji "moralności" przytoczonej w punkcie #B5 ze strony o nazwie morals_pl.htm), albo stania się "pierwszą uczelnią świata która podjęła projekt realizacji magnokraftu" - wszakże idea magnokraftu powstała właśnie na tej uczelni, itd., itp.


#J3. Ludzie i środki konieczne aby zbudować pierwszy "magnokraft" lub pierwszy "wehikuł czasu"

       W swoich opracowaniach wyjaśniam, że pierwsze zbudowanie wehikułów które ja wynalazłem, tj. zbudowanie albo "magnokraftu", albo nawet od razu zbudowanie "wehikułu czasu", wcale NIE jest aż tak trudnym zadaniem dla wysce twórczych umysłów - jeśli posiadacze takich twórczych umysłów otrzymają wymagane warunki do pracy oraz wymaganą pomoc wykonawczą. Przykładowo, już od 1985 roku, czyli od momentu kiedy odkryłem jak działa czas, ja nieustannie propaguję opisane w rozdziale M monografii [1/5] prawdy na temat realności zbudowania "magnokraftów" i "wehikułów czasu" oraz na temat uzyskiwania dostępu do nieśmiertelności z pomocą owych "wehikułów czasu". Z kolei prawdy na temat realności budowy tylko "magnokraftów" ja propaguję juz nieustannie począwszy od 1980 roku. Już też w tamtych odległych czasach ja mogłem rozpocząć budowę "magnokraftów" lub "wehikułów czasu" - gdybym tylko otrzymał wtedy wymagane wsparcie od innych ludzi. W takim zaś przypadku, do chwili podjęcia pisania niniejszego podrozdziału - czyli po ponad ćwierć wieku, magnokrafty i wehikuły czasu byłyby już dawno zbudowane i już dawno znalazłyby się w powszechnym użyciu. Wszakże nawet znacznie bardziej kompleksowe programy, takie jak "Apollo" czy "Manhattan", dały konkretne wyniki już po 8 oraz 4 latach - co przypominam opisowo w punkcie #K2 strony immortality_pl.htm. A trzeba pamiętać, że w chwili kiedy tamte programy budowy były rozpoczynane, ich cele końcowe wyglądały równie odległe i równie niemożliwe do osiągnięcia jak dzisiaj wydaje się pierwsze zbudowanie "magnokraftu", czy pierwsze zbudowanie "wehikułu czasu". Trzeba też pamiętać, że wiedza na tematy tamtych celów budowy u ludzi którzy realizowali tamte programy, była w chwili ich rozpoczęcia nawet znacznie niższa do poziomu mojej wiedzy na temat zasad działania "magnokraftów" i "wehikułów czasu". Ponadto realizatorzy tamtych programów NIE mieli aż tak oczywistych potwierdzeń poprawności swoich idei jak te liczne potwierdzenia które ja opisałem w podrozdziałach M1.3 do M1.8 oraz w tomach 14 do 17 monografii [1/5], czy w następnych częściach tej strony (zaś które podsumowałem także w punktach #D1 do #D7 w/w strony internetowej o nazwie "immortality_pl.htm"). Na bazie swojego doświadczenia i oszacowań ja osobiście wierzę, że gdybym od początka swoich badań nad "magnokraftem" lub nad "wehikułem czasu" otrzymał wymagane w tym celu warunki pracy i wsparcie wykonawcze, wówczas nawet gdybym pracował samotnie, ciagle do końca XX wieku magnokrafty by już latały, zaś do momentu kiedy podjąłem pisanie monografii [1/5], "wehikuły czasu" już by były zbudowane i już by działały. Wystarczyłoby też gdyby moje wysiłki wspierane były nawet przez małoznaczne możliwości wykonawcze, podobne do tych które kiedyś miał Instytut Technologii Budowy Maszyn Politechniki Wrocławskiej w czasach kiedy ja pracowałem w nim na początku swej kariery naukowej, lub kiedy już po wyemigrowaniu do Nowej Zelandii i po wynalezieniu "komory oscylacyjnej" formalnie zwróciłem się do jego Rady Naukowej o pozwolenie mi abym mógł w nim przygotować swoją rpozprawę habilitacyjną na temat budowy i działania magnokraftu (niestety, pozwolenia tego Rada Naukowa Instytutu TBM Politechniki Wrocławskiej mi wówczas formalnie odmówiła). Innymi słowy, ja wierzę, że zarówno pierwszy "magnokraft" jak i pierwszy "wehikuł czasu", w korzystnej atmosferze poparcia dla twórczej pracy oraz przy pomocy wykonawczej w budowie prototypów i stanowisk badawczych ze strony instytucji w której pracowałem, ja sam byłbym w stanie zbudować siłami i środkami jakie są dostępne w dobrze wyposażonej uczelni – takiej jaką do około 1980 roku była np. Politechnika Wrocławska. Niestety, w trakcie mojej kariery zawodowej niemal nikt z moich przełożonych NIE podzielał tej mojej zawodowej opinii. Stąd nigdy nie otrzymałem szansy abym dowiódł prawdziwości takich stwierdzeń. Dlatego w niniejszym podrozdziale wyjaśnię na czym bazuję te swoje oszacowania i jak doszedłem do takich ustaleń.
       Każdy się zgodzi, że kiedy już raz zostanie opanowana technologia wykonania moich "magnokraftów" lub moich "wehikułów czasu", wówczas wyprodukowanie hardware jakie będzie się składało na owe wehikuły będzie relatywnie proste. Wszakże wehikuły te niemal NIE mają ruchomych części, zaś praktycznie jedyny nieco bardziej skomplikowany ich podzespół to pędniki magnetyczne o kształcie relatywnie prostych komór (np. kostek). Cała więc sztuka nabycia umiejętności budowania tych wehikułów sprowadza się do zgromadzenia wymaganej "wiedzy". Dlatego przykładowo dowolna fabryka o wielkości dzisiejszych typowych fabryk samochodów, działająca na terytorium dowolnego państwa, nawet tak małego jak Polska czy jak Nowa Zelandia, w przyszłości będzie w stanie zalewać rynek całą masą seryjnie produkowanych przez nią "magnokraftów" lub "wehikułów czasu". Zresztą już dzisiaj mamy do tego doskonała ilustrację z miniaturowej Korei Południowej która potrafi zalewać cały świat swoimi samochodami, z powodzeniem konkurując nawet z mocarstwem takim jak USA.
       W sposób podobny do takiej fabryki seryjnie produkującej uprzednio już dopracowane konstrukcje owych wehikułów, również zaplecze wykonawcze jakie będzie wspierało pierwszego budowniczego tych statków wcale nie będzie musiało być jakimś tam cudem technicznym. Praktycznie dowolny dobrze wyposażony warsztat wykonujący szybko i na czas to co ów pierwszy budowniczy mu zaprojektuje i zleci do wykonania, zupełnie wystarczy. W zakresie więc hardwarowego wspierania budowy pierwszych "magnokraftów" lub "wehikułów czasu" wystarczają możliwości praktycznie każdej dobrze wyposażonej uczelni technicznej, lub każdego dobrze wyposażonego instytutu przemysłowych badań i rozwoju. Nawet więc maleńkie państewka wyspiarskie zlokalizowane gdzieś na końcu świata, pod względem technicznym mogłyby pokusić się o budowę pierwszego "magnokraftu" lub pierwszego "wehikułu czasu" - jeśli tylko ich kierownictwo i kadra będą posiadali wymaganą wiarę w siebie i w swoje mozliwości twórcze.
       Nieco trudniejsze od zaplecza wykonawczego, jest stworzenie odpowiednich warunków pracy, czyli warunków do twórczego wypracowania przez jakąś osobę lub zespół sporej wiedzy koniecznej dla zbudowania pierwszych prototypów tych wehikułów. Wszakże na warunki te NIE tylko składa się wypłacana pensja oraz budynek biura w którym w relatywnym koforcie mógłby pracować dany budowniczy, lub dany zespół twórczy, ale także stworzenie tzw. "twórczej atmosfery pracy". Taka zaś "twórcza atmosfera pracy" zależy od wielu czynników, np. od "moralności" i "zawodowej etyki" osób składających się na dany zespół (która to "moralność" i "zawpodowa etyka" w dzisiejszych "upadlych czasach" niemal wszędzie są wyjątkowo niskie), od cech charakteru osoby która zespołowi temu przewodzi, od wzajemnego "lubienia się" lub "nielubienia się" wszystkich uczestników tego zespołu, od nieobecności w zespole "czarnych owiec" które swoimi intrygami, humorami i wyniszczającymi zabiegami potrafią zepsuć atmosferę pracy, itp., itd. W rezultacie, aby taka twórcza atmosfera pracy mogła zapanować w danym twórczym zespole, niemal absolutnie koniecznym jest aby zespół ten był prowadzony z iście "żelazną ręką" przez jedną wysoce twórczą osobę, która nie tylko jest bezpośrednio zaangażowana w tworzenie, ale na dodatek ma również prawo do powoływania lub do eliminowania każdego innego członka swego zepsołu. Z mojego jednak doświadczenia wynika, że w dzisiejszych czasach kierujący zepołami nie tylko że NIE są bezpośrednio zaangażowani w twórczą pracę (tj. że jedynie bawią się oni w "managerów"), ale z różnych powodów są również pozbawieni prawa do dobierania uczestników swego zespołu, oraz prawa i zdolności do eliminowania tych uczestników zespołu którzy się nie sprawdzają w działaniu. W rezultacie, typowe dzisiejsze zespoły twórcze są składankami przypadkowej zbieraniny uczestników, w których zawsze pojawiają się jakieś "czarne owce" jakie psują twórczą atmosferę pracy swoimi intrygami i brakiem zgrania z resztą zespołu, jednak których z różnych powodów nie daje się usunąć z danego zespołu.
       Najtrudniejszą jednak częścią budowy pierwszego "magnokraftu" lub pierwszego "wehikułu czasu" będzie zapewnienie wymaganego wkładu "twórczej robocizny". Aby bowiem owe wehikuły mogły stać się rzeczywistością, ktoś musi włożyć wymaganą ilość twórczej pracy w zesyntezowanie "wiedzy" technicznej wymaganej do ich budowy, czyli w wypracowanie ich działania i konstrukcji oraz w docieknięcie i przebadanie tych fragmentów dodatkowej wiedzy które są niezbędne dla ich budowy, ale które narazie nie są ludziom znane. Aby jednak móc ilościowo oszacować ile owej "twórczej robocizny" będzie konieczne dla zbudowania pierwszego "magnokraftu" lub pierwszego "wehikułu czasu", najpierw musimy wprowadzić sobie i zdefiniować jednostkę jaka pozwoli nam potem wyrażać ilościowo wkład czyjejś twórczej pracy. Jednostkę tą nazwiemy "twórczo-godziną" i oznaczymy tu symbolem [th]. W sensie jej znaczenia możemy ją porównać do "roboczo-godziny" dobrze wszystkim znanej z prac fizycznych. Wszakże znając "roboczo-godzinę" daje się ilościowo oszacować dowolne prace fizyczne, np. ustalając że upieczenie jednego bochenka chleba przy dostępności danych warunków pracy i danych narzędzi, wymaga włożenia w to np. 2 "roboczo-godzin". W podobny sposób, mając definicję "twórczo-godziny" możemy wyliczyć lub oszacować, że np. zaprojektowanie zupełnie nowego samochodu w dzisiejszych czasach przy korzystnych warunkach pracy wymaga włożenia w to około 3000 "twórczo-godzin". Możemy też wyliczyć lub oszacować (co ja już dokonałem w trakcie dotychczasowych swoich badań), że wypracowanie od zera pierwszego "magnokraftu" w dzisiejszych czasach, przy dzisiejszym poziomie techniki oraz w najkorzystniejszych warunkach pracy, wymagałoby włożenia w to około 1000000 "twórczo-godzin" (tj. około jednego miliona [th]), zaś wypracowanie od zera od razu pierwszego "wehikułu czasu" przy spełnieniu opisanych tu warunków wymagałoby włożenia w to około 2000000 "twórczo-godzin" (tj. około dwóch milionów [th]).
       Przy definiowaniu "twórczo-godziny" [th] wysoce przydatną jako wskazówka staje się definicja "godziny fizycznej harówki" [gfh] używanej dla szacowania ilości "energii moralnej zwow", zaś opisanej i zdefiniowanej w podrozdziale JE8 z tomu 8 monografii [1/5]. Podobnie więc jak w przypadku tamtej [gfh], również niniejszą [th] możemy zdefiniować w następujący sposób: "jedna jednostka wkładu czyjejś twórczej pracy technicznej, nazywana tutaj ‘twórczo-godziną’ albo [th], jest to taka ilość twórczości jaką przeciętny absolwent Wydziału Mechanicznego Politechniki Wrocławskiej z 1970 roku był w stanie wygenerować w typowych warunkach pracy w ciągu jednej godziny wytężonej i niezakłóconej niczym twórczej pracy". Jako wzorca pracy twórczej ja celowo i aż dla kilku powodów używam tutaj przykładu absolwentów Wydziału Mechnicznego Politechniki Wrocławskiej, jakich selekcję i przebieg edukacji opisałem dokładniej w "części #E" w/w strony internetowej o nazwie "rok.htm". Przykładowo, wiem o owych absolwentach, że reprezentowali oni wystarczająco dużą próbkę technicznie wysoko-wykształconych ludzi aby dawać dobre pojęcie o wielkości "średniej krajowej" zdolności twórczej do jakiej zdolna była moja generacja mieszkańców naszego kraju. Ponadto, poziom twórczy moich kolegów z uczelni poznałem najlepiej - wszakże spędziłem z nimi 6 najważniejszych lat swego życia. Na dodatek, ten szczególny rocznik absolwentów ME-PW w moim osobistym rozeznaniu reprezentował najwyższy poziom wiedzy nie tylko w Polsce, ale i na całym świecie. Stąd poziom ten mogłem następnie porównywać z poziomem twórczym absolwentów dowolnych innych uczelni na świecie w których potem wykładałem.
       Po zdefiniowaniu "twórczo-godziny" [th] jestem już w stanie zdefiniować ile pracy twórczej mi samemu zajęłoby skompletowanie określonych działań twórczych. Wszakże wiem że przykładowo wszystkie publikacje jakie ja sam przygotowałem do czasu pisania niniejszego podrozdziału i punktu, w więc wszystkie moje monografie, a także wszystkie moje strony internetowe (a ich liczba znacznie już przekracza 200), zawierają w sobie około 4000000 (tj. cztery miliony) zdefiniowanych uprzednio "twórczo-godzin". Innymi słowy, wszystkie moje publikacje zawierają w sobie wkład twórczy który jest odpowiednikiem osobistego zbudowania przeze mnie zupełnie od zera zarówno pierwszego "magnokraftu" (według mojej oceny wymagającego włożenia około jednego miliona "twórczo-godzin") jak dodatkowo także pierwszego "wehikułu czasu" (według mojej oceny wymagającego włożenia około dwóch milionów "twórczo-godzin") - i na dodatek zostałoby mi jeszcze sporo "twórczo-godzin" na przygotowanie publikacji i dokumentacji opisujących dokładnie działanie, konstrukcję oraz technologię budowy owych wehikułów.
       Problem jednak zaczyna się komplikować kiedy spróbuje się oszacować ile innych twórczych ludzi potrzeba byłoby dla zbudowania tychże wehikułów. Chodzi bowiem o to, że zdolności twórcze wcale NIE pozostają na tym samym poziomie u każdej osoby i w każdym kraju. Przykładowo, ja w swoich wędrówkach po świecie odnotowałem, że na przekór swojego bałaganiarstwa, buntowniczości, oraz zachwycania się tym co obce przy jednoczesnym zaniedbywaniu tego co własne (zgodnego z powiedzeniem "cudze chwalicie a swego nie znacie"), Polacy ciągle utrzymują poziom wielokrotnie bardziej twórczy od wielu innych narodów (chociaż istnieją też narody nawet bardziej twórcze od Polaków, np. Koreańczycy). Przykładowo, w/g moich oszacowań techniczna wydajność twórcza typowego Amerykanina spadła już do około 0.3 [th], zaś techniczna wydajność twórcza typowego Nowozelandczyka lub Australijczyka - spadła już do około 0.1 [th]. (W połączeniu z nasilającym się obecnie w instytucjach owych krajów szykanowaniem twórczych pracowników, ów spadek wydajności twórczej powoduje, że w ostatnich czasach świat przestał już słyszeć o jakimkolwiek istotnym wynalazku technicznym wypracowanym i urzeczywistnionym przez pracowników dowolnej instytucji tychże krajów. Jedyne wynalazki jakie ciągle są tam wdrażane, to te które dały się zrealizować przez ludzi pracujących na własny rachunek, czyli ludzi niezależnych od decyzji oraz wsparcia instytucji w jakich pracują.)
       Badania przeprowadzane na programistach wykazują, że różnice wydajności twórczej między bardzo dobrym i przeciętnym programistą, przy tworzeniu wcale nie tak kompleksowego produktu jakim jest zwykły program komputerowy, mogą być aż tak duże jak 1:50. (Różnice te przy tworzeniu produktu technicznego o znacznie wyższym zapotrzebowaniu na specjalistyczną wiedzę, o wielokrotnie wyższej kompleksowości, oraz o działaniu i technologii wykonania które poprzednio pozostawały zupełnie nieznane, tj. produktu takiego jak "wehikuł czasu" lub "magnokraft", z całą pewnością będą nawet wyższe niż 1:50. Tyle że dla "wehikułu czasu" narazie nikt nie potrafi pomierzyć różnic w wydajności twórczej jego realizatorów.) Innymi słowy, podobnie działający program dobry programista wykona w 1 godzinie, podczas gdy przeciętny programista potrzebuje na niego zużyć aż 50 godzin pracy - przy czym oboje owi programiści mają zbliżoną do siebie edukację i doświadczenie zawodowe. Podobne wyniki ja zaobserwowałem w swojej pracy twórczej. Przykładowo, w początkowej fazie swojej kariery naukowej ja sam przygotowałem w kilka miesięcy zupełnie nowy techniczny język programowania zwany JAP (jego nazwa "JAP" była skrótem od słów "Język Automatycznego Programowania" - patrz jego opisy na stronach 175-178 w polskim miesięczniku naukowo-technicznym "Mechanik" nr 4/1973), jednak nad podobnym do JAPu językiem programowania aż dwie duże instytucje pracowały w Polsce przez kilka kolejnych lat. (Jest też mi wiadomym, że kiedy w końcu instytucje te go opracowały, okazał się on zupełnie niezdatny do użytku.) Innym razem, jaki też utkwił mi w pamięci, ja w kilka minut potrafiłem poprawnie przewidzieć, wskazać i wyjaśnić koledze dokładny rozkład naprężeń w łożysku wałeczkowym, nad zbadaniem którego ten kolega trudził się aż przez kilka miesięcy. Na dodatek, ja jestem właśnie wynalazcą "magnokraftu" i "wehikułu czasu". Empiryka zaś wykazuje, że wynalazca z natury rzeczy jest wielokrotnie bardziej twórczy i bardziej motywowany w sprawach swego wynalazku od innych osób. Osobiście więc szacuję, że jedna godzina mojej pracy twórczej nad moim własnym wynalazkiem i nad innymi ideami których ja sam jestem autorem, jest warta co najmniej około 50 "twórczo-godzin", tj. godzin wkładu twórczego innych typowych osób o mocy porównywalnej do tej z jednostki [th], pracujących jednak nad ideą która została im podsunięta przez kogoś innego. Biorąc też pod uwagę ów fakt, że moja wydajność twórcza jest około 50 razy wyższa od zdefiniowanej uprzednio jednostki [th], daje się prosto podliczyć ilu twórczych ludzi byłoby wymagane dla zbudowania pierwszego "magnokraftu" i pierwszego "wehikułu czasu", wiedząc że ich budowa pochłonie odpowiednio 1000000 [th] (tj. "twórczo-godzin"), oraz 2000000 [th]. Przykładowo, dobrze motywowany zespół rozwojowy złożony z 100 osób, każda z których to osób wykazywałaby zdolności twórcze nie mniejsze od 1 [th], pracujący w instytucji o właściwej "atmosferze twórczej" i mający wymagane zaplecze wykonawcze, byłby w stanie zbudować "wehikuł czasu" w okresie około 7 lat. Z kolei, gdyby udało się zgromadzić nieco zdolniejszy zespół rozwojowy w którym każdy jego członek jest w stanie dawać 2 [th] z wszystkich godzin swojej pracy twórczej, wówczas już tylko 50-osobowy zespół rozwojowy byłby w stanie zbudować ten sam wehikuł w tym samym czasie około 7 lat, lub 25-osobowy zespół - w czasie około 14 lat. (Ja osobiście nie radziłbym ani skracać czasu wykonania, ani też zwiększać nadmiernie zespołu wykonawczego, bowiem zaczyna wówczas działać zjawisko "zabijania się łopatami". Zjawisko to najlepiej wyjaśnić ilustratywną sytuacją kopania dołu. Mianowicie, "jeśli jeden robotnik wykopuje dół o wielkości 1 metra sześciennego w przeciągu jednej godziny, wcale to nie oznacza, że 60 robotników wykopałoby ten sam dół w przeciągu jednej minuty" - wszakże owych 60 robotników "pozabijałoby się nawzajem łopatami". Dlatego ja osobiście uważam, że zespół rozwojowy powinien być możliwie najmniejszy, zaś zadany im czas urzeczywistnienia projektu nie powinien być krótszy niż około 7 lat, chociaż też nie powinien być dłuższy niż około 14 lat. Ludzie są bowiem tylko ludźmi i po około 10 latach pracy nad tym samym projektem przestają być twórczy i zaczynają działać rutynowo.) Jak więc powyższe podliczenia wykazują, faktycznie to nawet pojedyncze dzisiejsze uczelnie lub pojedyńcze dzisiejsze instytucje badawczo-rozwojowe (np. zlokalizowane przy obecnych fabrykach samochodów czy samolotów z nawet najmniejszych krajów) byłyby w stanie z sukcesem zrealizować budowę pierwszych "magnokraftów" i pierwszych "wehikułów czasu". Jedyne co konieczne aby tak się stało, to aby ich twórczy i moralni pracownicy oraz mocodawcy wykazywali nieustającą wiarę, motywację i zdecydowanie co do swej zdolności do osiągnięcia tego celu.
       Powyższe wyjaśnienia reprezentują adaptację podrozdziału M11 z tomu 11 mojej najnowszej monografii [1/5].


Część #K: Oglądnijmy sobie też zdjęcia już zbudowanych magnokraftów które od dawna latają ponad Ziemią:

      

#K1. Jak się okazuje magnokrafty zostały już przez kogoś zbudowane i czasami są widywane na Ziemi - chociaż starannie ukrywają przed ludźmi swoją obecność:

       Magnokraft stanowi całkowicie "ziemską" konstrukcję, tj. został on wynaleziony, rozpracowany i jest przewidziany do zbudowania na Ziemi. Jednakże, mając w pamięci unikalne atrybuty tego statku, wystarczy jedynie spojrzeć na nagłówki współczesnych gazet, czy na tytuły niektórych książek, aby uświadomić sobie, że wehikuły identyczne do magnokraftu są obserwowane na Ziemi od niepamiętnych już czasów. Te już istniejące wehikuły magnokrafto-podobne opisywane są pod nazwą UFO.
       Ja miałem honor wynalezienia i rozpracowania magnokraftu wyłącznie na podstawie moich zawodowych zainteresowań w systemach napędowych, tj. bez żadnej inspiracji czy wpływu ze strony UFO. Na początku swoich prac rozwojowych akceptowałem stwierdzenia "Tablicy Cykliczności" opisanej w punkcie #A2 tej strony, że magnokraft stanowił będzie tylko latającego następcę dla silnika elektrycznego. To bowiem sugerowały analogie i symetrie wyrażone ową Tablicą Cykliczności. W owej początkowej fazie rozwoju tego wehikułu wcale nie zdawałem sobie sprawy z podobieństwa istniejącego pomiędzy magnokraftem i UFO. (Szczerze mówiąc, to w czasach moich prac rozwojowych nad magnokraftem byłem całkowitym ignorantem w sprawach UFO - podobnie jak ignorantami w tematyce UFO byli niemal wszyscy ówcześni naukowcy.) To podobieństwo pomiędzy magnokraftami i UFO stało się oczywiste dopiero gdy pełna konstrukcja i właściwości omawianego tu statku zostały wydedukowane. Faktycznie to na podobieństwo to zwrócili dopiero uwagę czytelnicy moich artykułów, twierdzący że na własne oczy widzieli oni już działające magnokrafty, tyle tylko że określali je mianem "UFO". W trakcie naukowego weryfikowania i sprawdzania twierdzeń tych czytelników, zgromadziłem ogromny materiał dowodowy jaki dokumentował, że faktycznie na naszej planecie już operują nieznane statki popularnie zwane UFO, jakie wykazują się posiadaniem wszystkich atrybutów przewidywanych dla magnokraftu. W konsekwencji formalny dowód naukowy, stwierdzający że "UFO są już działającymi magnokraftami" został opracowany i opublikowany. Temat owego dowodu omawia odrębna strona internetowa o nazwie ufo_proof_pl.htm. Natomiast jego pełna prezentacja zawarta jest w tomie 14 monografii [1/5] oraz tomie 13 monografii [1/4].


#K2. Głosowanie i jednogłośne przyjęcie formalnej uchwały że "Magnokraft reprezentuje sobą wyjaśnienie dla technicznych aspektów UFO":

       W dniu 24 marca 2003 roku formalny dowód naukowy stwierdzjący że "UFO to już działające magnokrafty" został poddany publicznemu głosowaniu dla zaadoptowania go jako oficjalne wyjaśnienie dla technicznych aspektów UFO. W dniu owym 161 reprezentantów niemal wszystkich dziedzin życia oraz niemal każdego regionu Polski, zorganizowanych wówczas w internetową listę dyskusyjną totalizmu, głosowało nad formalną uchwałą stwierdzającą m.in. że Magnokrafty reprezentują sobą wyjaśnienie dla technicznych aspektów UFO. Wszyscy oni głosowali jednogłośnie za przyjęciem tej uchwały. Uchwała ta uzyskała więc wówczas moc obowiązującą. Ponieważ też w międzyczasie NIE zaistniało żadne zdarzenie które obaliłoby jej ważność, uchwała ta obowiązuje do dzisiaj. Badacze UFO i osoby zajmujące się Magnokraftami mają obowiązek przestrzegania jej ważności w swoich działaniach. Z treścią owej uchwały czytelnicy mogą się zapoznać na całym szeregu totaliztycznych stron internetowych. Przykładowo, jej treść jest opublikowana w punkcie #D2 strony ufo_proof_pl.htm, w punkcie #K2 strony explain_pl.htm, w punkcie #D2 strony telepathy_pl.htm, w punkcie #H2 strony ufo_pl.htm, oraz na kilku dalszych stronach.


#K3. Gdzie można zobaczyć zdjęcia już latających magnokraftów:

       Wyczerpująco zinterpretowane zdjęcia już zbudowanych i latających magnokraftów, które ludzie widują na Ziemi praktycznie od zamierzchłych czasów, pokazane zostały na wielu stronach internetowych które ja autoryzuję. Polecałbym czytelnikowi aby zaglądnął na owe strony. Wszakże pokazują one i interpretują zdjęcia owych niezwykłych wehikułów z punktu widzenia i na sposób na jaki dotychczas NIE zinterpretował ich żaden inny badacz na Ziemi. Przeglądanie tamtych stron ze zdjęciami już działających magnokraftów sugerowałbym dokonywać w następującej kolejności: (1) najpierw strona ufo_proof_pl.htm, (2) potem strona explain_pl.htm, (3) zaś dopiero potem inne strony, np. evidence_pl.htm, aliens_pl.htm, itp.


#K4. Zdjęcia i badania już latających magnokraftów mogą być źródłem nieogarniętych korzyści dla ludzkości:

       Dzisiejszą sytuację na Ziemi możnaby porównać do sytuacji jakiejś hipotetycznej cywilizacji dla dobra której ktoś zorganizował wystawę przyszłych osiągnięć tej cywilizacji i jej urządzeń technicznych z dalekiej przyszłości. Jednak szokująco naukowcy owej cywilizacji którzy są opłacani przez jej podatników za wprowadzanie postępu, zamiast odwiedzać tą wystawę i uczyć się z niej jak rozwiązywać swoje problemy, czują się nią obrażeni i ją bojkotują. W ten sposób zamiast się uczyć z tego co im ktoś pokazuje, pretendują że nic lepszego już nie może istnieć ponad to co oni już osiągnęli.
       Formalne udowodnienie że "UFO to już latające magnokrafty" jest wszakże jakby wskazaniem ludziom adresu gdzie taka "wystawa osiągnięć technicznych przyszłości" właśnie jest otwarda do zwiedzania. Wszakże ów dowód formalny ustanawia sobą tzw. "postulat zamienności UFO i magnokraftów" - którego brzemienne następstwa omawiane są m.in. w punkcie #D1 strony internetowej ufo_proof_pl.htm, oraz w punkcie #F3 strony internetowej pajak_jan.htm. Jednym zaś z owych następstw jest, że osoby zabierane do UFO widzą na własne oczy całe gamy najróżniejszych urządzeń technicznych, każde z których jest w stanie rozwiązać dziesiątki palących problemów ludzkości. Wystarczy tylko aby zamiast ignorować obserwacje urządzeń technicznych z UFO, nasi naukowcy zaczęli w końcu je badać i systematycznie odtwarzać dla dobra mieszkańców Ziemi.


Część #L: Problemy moralne jakie zaindukuje zbudowanie magnokraftów:


#L1. Dlaczego Bóg potrzebuje "niedoskonałych ludzi" oraz dlaczego "niemoralność" jest niepożądanym "następstwem ubocznym" ludzkiej niedoskonałości:

       Z chwilą kiedy wszystkie szczegóły bezgłośnego statku międzygwiezdnego nazywanego tutaj "magnokraftem" zostały dopracowane do końca i udostępnione całej ludzkości poprzez opublikowanie ich w tomach 3 oraz 2 upowszechnianej za darmo w internecie monografii [1/5], niektórzy ludzie mogliby sądzić, że ludzkość ma powody aby zacząć teraz "tańczyć z radości i dumy". Wszakże oto ludzkość ma już konstrukcję i pełną zasadę działania dla ogromnie zaawansowanego statku kosmicznego, który z szybkościami bliskimi prędkości światła będzie bezgłośnie wynosił do gwiazd ludzkich osadników, a tym samym umożliwi naszej cywilizacji kolonizowanie odległych systemów planetarnych. Można więc by sądzić, że jedyne co ludziom pozostało aby podjąć eksploatowanie niewyczerpanych zasobów kosmosu, to zbudować teraz ów "magnokraft". Jak jednak się okazuje, sprawa byłaby aż tak prosta tylko w "świecie pozbawionym Boga". Natomiast w "świecie stworzonym i mądrze rządzonym przez wszechmogącego Boga", czyli w tym świecie w którym żyje ludzkość (tak jak dokumentuje to materiał dowodowy zaprezentowany w punktach #B1 do #B3 strony o nazwie changelings_pl.htm), dostęp do każdego kolejnego technicznego osiągnięcia ludzkości jest uzależniany przez Boga od poziomu moralności ludzi którzy z osiągnięcia tego będą korzystali - najlepszym dowodem na co jest istnienie i działanie tzw. "przekleństwa wynalazców" najszerzej opisywanego w punktach #G1 do #G9 strony o nazwie eco_cars_pl.htm. Owo uzależnianie przez Boga dostępu ludzi do nowych urządzeń technicznych od poziomu ich "moralności", zostało wprowadzone na Ziemi, ponieważ "im większe korzyści daje się z czerpać z danego osiągnięcia technicznego, tym bardziej niszczycielskie owo osiągnięcie się staje - jeśli wpadnie ono w ręce niedojrzałych moralnie ludzi". Innymi słowy, ponieważ zbudowanie "magnokraftu" otwarłoby dla ludzi nieopisanie zaawansowane możliwości techniczne, stąd w przypadku gdyby ten międzygwiezdny statek kosmiczny wpadł w ręce niedojrzałych moralnie ludzi (tj. ludzi takich jak niektórzy dzisiejsi politycy, wojskowi, bankierzy, itp.), wówczas byłby on też w stanie wyrządzić ludzkości równie nieopisane szkody. Dlaczego tak właśnie by się działo, będzie to wyjaśnione w dalszych punktach z niniejszej "części #L" tej strony. Aby jednak wyjaśnienia te były zrozumiałe dla każdego, poniżej muszą one stopniowo i szczegółowo wprowadzać czytelnika w ten moralnie znaczący temat - zaczynając od samego początku.
       W punktach #C1 do #C6 strony o nazwie telekinetyka.htm opisana została nowa tzw. "nauka totaliztyczna". Bada ona otaczającą nas rzeczywistość z filozoficznie odwrotnego podejścia "a priori", niż czyni do stara oficjalna "ateistyczna nauka ortodoksyjna" - tj. ta oficjalna nauka jakiej wysoce błędnych stwierdzeń ciągle zmuszeni jesteśmy się uczyć w szkołach i na uczelniach. Dzięki temu odwrotnemu podejściu do badań, owa nowa "nauka totaliztyczna" zdołała m.in. ustalić, że głównym celem w jakim Bóg stworzył ludzi jest "przysparzanie wiedzy". Szersze omówienie tego boskiego celu stworzenia ludzi zostało zawarte w podrozdziałach A3.2 z tomu 1 i NF5 z tomu 12 mojej najnowszej monografii [1/5], zaś streszczone m.in. w punkcie #B1 totaliztycznej strony o nazwie antichrist_pl.htm. Niefortunnie dla nas, aby możliwie najefektywniej osiągać ów cel "przysparzenia wiedzy", Bóg zmuszony został aby stworzyć ludzi "maksymalnie niedoskonałymi" - tak jak dokładniej wyjaśnia to punkt #B2 na totaliztycznej stronie o nazwie antichrist_pl.htm. Wszakże ludzie "absolutnie doskonali" zaprzestaliby "przysparzania wiedzy" - a jedynie wiedliby życie bazujące na wiedzy jaką już posiadają. Im bardziej zaś ludzie są niedoskonali, tym efektywniej przysparzają oni wiedzę - jednak tylko jeśli żyją w "moralnie" zachowującej się społeczności. Niestety, ta maksymalna ludzka niedoskonałość ma "obosieczne" następstwa. Z jednej strony dopomagając Bogu w najefektywniejszym osiągnięciu głównego celu stworzenia ludzkości, z drugiej strony ta sama nasza duża wrodzona "niedoskonałość" jest też źródłem najróżniejszych problemów. Przykładowo, z jej powodu naturalną tendencją ludzi jest "lenistwo", chęć czynienia wszystkiego zgodnie z tzw. "linią najmniejszego oporu", żądza władzy, skłonność do oszukiwania i kłamania, oraz wszelkie inne ludzkie "niemoralności". Wszystkie te zaś niemoralności prowadzą do nieustannego ześlizgiwania się ludzi w szpony wysoce niemoralnej filozofii, która przez nową "totaliztyczną naukę" nazywana jest "filozofią pasożytnictwa". Owa zaś niemoralna filozofia ma to do siebie, że osoby ją praktykujące NIE tylko iż same zaprzestają "przysparzania wiedzy", ale dodatkowo uniemożliwiają aby owo "przysparzanie wiedzy" było realizowane przez innych ludzi na jakich mają one wpływ. W końcowym więc rezultacie, stworzenie ludzi "maksymalnie niedoskonałymi" prowadzi także do sytuacji, iż w co bardziej niemoralnych społecznościach zaczyna działać owo tzw. "przekleństwo wynalazców" i "wynalazcza impotencja" - opisane szerzej m.in. w punktach #G1 do #G9 w/w totaliztycznej strony o nazwie eco_cars_pl.htm. Te zaś, po osiągnięciu określonego poziomu nasilenia, potrafią całkowicie zablokować tam "przysparzanie wiedzy", czyli zrujnować główny cel dla którego Bóg stworzył ludzi.
       Następstwem takiego "obosiecznego" działania owych "maksymalnych ludzkich niedoskonałości" jest, że z punktu widzenia Boga nieustanne urzeczywistnianie "przysparzania wiedzy" (dla którego przecież Bóg stworzył ludzi), okazuje się być dosyć skomplikowanym problemem. Aby bowiem ludzie faktycznie "przysparzali wiedzę", Bóg zmuszony jest nieustannie ich zniechęcać do leżącego w ich naturze praktykowania niemoralnej filozofii pasożytnictwa, a jednocześnie nakłaniać do prowadzenia swego życia w sposób zgodny ze zbiorem określonych reguł eksperymentalnie wypracowanych przez Boga - które obecnie opisujemy generalnym określeniem "moralność". Tak bowiem się składa, że wysoce niedoskonali ludzie dobrowolnie NIE podejmują "moralnego życia". Jeśli bowiem dać im wybór i taką możliwość, sami ludzie zawsze wybierają "niemoralne życie" zgodne z "linią najmniejszego oporu" - czyli zgodne z ową filozofią pasożytnictwa. Natomiast do prowadzenia moralnego życia, niedoskonałych ludzi trzeba jakoś nieustannie zmuszać. Niestety, ta konieczność ciągłego nakłaniania ludzi do wiedzenia "moralnego życia" zmusza też Boga do wynajdowania coraz to nowych metod "perswadowania". W miarę bowiem jak wiedza i świadomość ludzi zmienia się z upływem czasu, stare metody nakłaniania do moralności zaczynają zawodzić. Bóg nieustannie zmuszony jest więc wynajdować i dodawać coraz to nowe metody takiej perswazji. W celu więc lepszego zrozumienia dalszych dedukcji, najpierw dokonajmy więc przeglądu dotychczasowych metod używanych przez Boga do nakłaniania ludzi do prowadzenia moralnego zycia, jakie to metody z upływem czasu Bóg zmuszony był wynajdować i potem wprowadzać na Ziemi na najróżniejsze sposoby.


#L2. Przegląd dotychczasowych metod używanych przez Boga dla nakłaniania ludzi do prowadzenia moralnego życia:

       Analizy historii ludzkości opisanej np. w Biblii autoryzowanej (inspirowanej) przez samego Boga i w innych świętych księgach, a także przegląd metod perswazji wpisanych w kolejne religie jakie Bóg zainspirował na Ziemi, dają dosyć interesujący przegląd metod z pomocą których w różnych historycznych epokach Bóg perswadował ludziom prowadzenie "moralnego życia" oraz jednocześnie zniechęcał ich do uprawiania niemoralności i do praktykowania wysoce niemoralnej filozofii pasożytnictwa. Ciekawostką wszystkich tych metod jest, że formują one piramidalną strukturę. Znaczy, kiedy Bóg wprowadzał w życie dowolną następną z nich, wówczas wcale NIE wycofywał z użycia żadnej z metod używanych poprzednio, a po prostu dodawał nową metodę do metod już będących w użyciu. Dlatego np. kiedy zaraz po zakończeniu drugiej wojny światowej Bóg wprowadził na uzytek coraz bardziej ateistycznego społeczeństwa nową metodę "symulowania" istot fizycznych zwanych "UFOnautami" oraz ich wehikułów UFO, wcale NIE wycofał wówczas z użycia np. "diabłów" ani "aniołów" jakie dla ateistów miały być zastąpione właśnie przez owych UFOnautów, a pozwalał aby niektórzy wierzący nadal widywali dawne diabły i anioły. Oczywiście, podobnych metod Bóg nawprowadzał aż tak dużo, że NIE dałoby się ich wszystkich opisać nawet gdyby wyłącznie ich wyjaśnieniu poświęcić całą niniejszą stronę. Niemniej aby dać tu czytelnikowi jakieś pojęcie na czym one wszystki polegają, poniżej krótko podsumuję chociaż kilka najważniejsze z nich. Oto więc skrótowy przegląd kilku najważniejszych metod powprowadzanych przez Boga w toku ludzkiej historii aby wyperswadować ludziom trwałe zaniechanie niemoralności i dobrowolne oraz ochotnicze prowadzenie swego życia zgodnie z wymaganymi od nas przez Boga "zasadami moralności":
       Pierwszą i najprostrzą metodę "nakłaniania" ludzi do prowadzenia moralnego życia, Bóg wprowadził zaraz po stworzeniu ludzi i po zaludnieniu Ziemi. Metoda ta polegała na tym, że Bóg otwarcie pokazywał się wybranym ludziom oraz osobiście, surowo i w widoczny dla każdego sposób karał On tych co próbowali żyć niemoralnie. Niestety, "produktem ubocznym" tej metody postępowania Boga było, że ludzie stali się wówczas wysoce "religijni" i zaczęli bać się podejmowania jakiejkolwiek własnej inicjatywy - aby przypadkiem inicjatywą tą NIE obrazić Boga i NIE zostać ukaranymi. W rezultacie, ludzie ci utracili "wolną wolę" i zaprzestali "przysparzania wiedzy" - czyli osiągania głównego celu w jakim oryginalnie zostali stworzeni. Gdyby więc Bóg NIE zmienił sposobu zmuszania ludzi do moralnego życia oraz NIE zaczął ukrywać swoją obecność i działania przed ludźmi, taka wmuszona ludzkości głęboka wiara i religijność spowodowałaby, że zapewne do dzisiaj ludzie żyliby w jaskiniach i nawet nie znali ognia - tak jak wyjaśnia to np. punkt #F2 strony o nazwie evil_pl.htm. Po relatywnie krótkim czasie Bóg zmuszony więc został do znalezienia i wdrożenia innej metody "perswadowania".
       Po tamtej pierwszej metodzie perswadowania, Bóg eksperymentował z wprowadzaniem wielu jej usprawnień i odmian. Ich przykladami są religie starożytnej Grecji, Rzymu, Hinduizmu, Buddyzmu i Taoizmu, a także religia nowozelandzkich Maorysów opisana w punktach #D1 i #D6 strony newzealand_visit_pl.htm. Żadne jednak z tych usprawnień i odmian NIE spowodowały trwałego zaadoptowania przez ludzi zasad moralnego życia. Bóg zmuszony był więc eksperymentować dalej.
       Jednym z przełomów w kolejnych metodach perswadowania ludziom prowadzenia moralnego życia, było naoczne im "zilustrowanie" do czego prowadzi "niemoralność", jednak bez odbierania ludziom "wolnej woli" poprzez ich upewnienie czy ujawnienie, że kary za niemoralne zycie wymierza sam Bóg. W ten sposób narodziła się idea "symulowanego" stworzenia ludziom "diabłów", "Szatana", "serpentów", "demonów" i innych podobnych nadprzyrodzonych istot, wprowadzonych do użycia przez chrześcijaństwo. Owe istoty miały jakoby "kusić" ludzi do popełniania "niemoralności". Kiedy zaś owe niemoralności zostały już popełnione, owe istoty przewrotnie "odwracały się tyłem do skuszonych przez siebie ludzi" i "wywijały im najróżniejsze niemoralne świństwa" jakie przez ludzi zostawały rozumiane jako "kary za niemoralność". Niestety, takie "symulowanie" przez Boga istnienia nadprzyrodzonych "kusicieli" spełniało swe funkcje tylko do czasu kiedy wiedza ludzkości podniosła się do określonego poziomu, tj. do poziomu lokomotyw i pierwszych samolotów. Przy aż tak wysokim bowiem poziomie wiedzy, dalsze symulowanie kusicieli o nadprzyrodzonych mocach zaczęło kolidować z filozoficznymi fundamentami ateistycznego "przysparzania wiedzy", a tym samym zaczęło szkodzić głównemu celowi stworzenia ludzkości. Bóg ponownie zmuszony więc został do dodatkowego wprowadzenia jeszcze innej metody perswadowania.
       Najnowszy przełom w metodach perswadowania, Bóg wprowadził wkrótce po zakończeniu drugiej wojny światowej. Bazuje on także na obrazowym "ilustrowaniu" następstw niemoralności. Polega jednak na "zasymulowaniu" istnienia szatańskich istot fizycznych, popularnie zwanych "UFOnautami". Dla coraz bardziej ateistycznych ludzi owi UFOnauci mają zastąpić dawne "diabły" i inne nadprzyrodzone istoty. UFOnauci są bowiem "symulowani" przez Boga rzekomo jako kosmiczni krewniacy ludzi. Ich cywilizacje są "symulowane" tak jakby były kopiami ludzkości, które już dawno temu osiągnęły wysoki poziom zaawansowania technicznego - tj. które już od dawna budują działające wersje ichnich "magnokraftów" (tj. wehikułów popularnie zwanych UFO), jednak które równocześnie cechują się praktykowaniem moralnie upadłej filozofii szatańskiego pasożytnictwa. Owa zaś filozofia UFOnautów powoduje, że sekretnie okupują oni Ziemię i ludzkość, wyciągając z tej okupacji najróżniejsze pasozytnicze korzyści. Dzięki "zasymulowaniu" przez Boga takiej właśnie sytuacji skrytej okupacji Ziemi przez technicznie wysoko rozwiniętych, chociaż moralnie upadłych krewniaków ludzi, Bóg jest w stanie zilustrować ludziom naocznie i przekonywująco do czego prowadzi praktykowanie niemoralnego zycia. W ten sposób Bóg osiąga aż kilka korzyści. Przykładowo, może uczyć ludzi moralnego życia bez udzielania im pewności swego istnienia, a tym samym bez odbierania im tzw. "wolnej woli".
       Oczywiście, Bóg ciągle trzyma w zanadrzu nawet jeszcze bardziej drastyczne, dalsze metody "perswadowania" ludziom aby jednak podjęli trwałe prowadzenie moralnego życia. Jedną dobrze już zapowiedzianą ludziom z takich metod, jest wysłanie na Ziemię szatańskiej istoty znanej nam jako Antychryst. Wyjaśnienie okoliczności i powodów przysłania tej istoty zawarte jest na odrębnej stronie o nazwie antichrist_pl.htm.
       Dla niektórych czytelników idea którą zaprezentowałem powyżej zapewne okaże się szokiem. Wszakże większość z nas wierzy, że Bóg wie już absolutnie wszystko i wcale nie potrzebuje się uczyć ani eksperymentować np. z wprowadzaniem coraz to nowych metod "perswadowania" ludziom aby żyli moralnie. Ci jednak z czytelników, którzy uważnie czytają totaliztyczne strony, wiedzą już zapewne np. z treści punktu #M1 na stronie evolution_pl.htm - dyskutującego wersety 18:20-21 z bibilijnej "Księgi Rodzaju", że w owych wersetach Bóg sam otwarcie się przyznaje iż NIE wie wszystkiego i niektórych sprawach ciągle empirycznie sprawdza, bada, poznaje, uczy się, itp. (Odnotuj, że z innych punktów widzenia ten istotny bibilijny werset 18:20-21 jest też analizowany w #B5 z totaliztycznej strony o nazwie seismograph_pl.htm, w #D6 z totaliztycznej strony o nazwie newzealand_visit_pl.htm, czy w #B4 z totaliztycznej strony o nazwie will_pl.htm.)


#L2.1. Paradoks prawdy o istnieniu Boga - jej zaakceptowanie eliminuje głód poznawania wszelkich innych istotnych prawd:

       Nawet tak krótki historyczny przegląd kolejnych metod wprowadzanych przez Boga w celu perswadowania ludziom aby wiedli moralne życie, jak ów przegląd zaprezentowany w powyższym punkcie #L2, ujawnia niezwykły paradoks prawdy na temat istnienia Boga. Mianowicie, zaakceptowanie prawdy iż "Bóg istnieje" powoduje u ludzi zanik głodu na poznawanie innych istotnych prawd życiowych. Innymi słowy, te osoby które zaczynają być pewne że Bóg istnieje, raptownie zaprzestają wysiłków poznawania innych prawd. W ten zaś sposób, stają się oni co najmniej bezużyteczni, jeśli NIE szkodliwi, dla głównego celu w jakim Bóg stworzył ludzi - tj. dla "przysparzania wiedzy". Tak więc jak wyjaśniłem to np. w punkcie #C3 (i #C4) strony o nazwie will_pl.htm, gdyby ludzkość składała się wyłącznie z ludzi pewnych istnienia Boga, wówczas zapewne do dzisiaj ludzie ciągle mieszkalibyśmy w jaskiniach i nawet NIE znali ognia. Aby więc faktycznie "przysparzać wiedzę", w witalnym interesie zarówno Boga jak i całej ludzkości leży, aby jednak utrzymywać na Ziemi określoną proporcję "ateistów". Wszakże cechą ateistów jest, że ich wewnętrzna niepewność w sprawie istnienia Boga indukuje u nich ciekawość i głód poznawania wszelkich możliwych prawd. Dzięki zaś temu głodowi, ateiści idealnie realizują boski cel "przysparzania wiedzy" w jakim Bóg stworzył i utrzymuje ludzkość. Tyle tylko, że aby móc swobodnie dokonywać tego "przysparzania wiedzy", owi ateiści muszą żyć w moralnie zachowywujących się społecznościach.
       Niestety, ateiści także mają wrodzoną wadę jaka komplikuje realizowanie boskiego celu "przysparzania wiedzy". Mianowicie, mają oni tendencję do ignorowania boskich wymagań moralnych i do własnego (jakoby "naukowego") interpretowania zasad i praw moralnych. W rezultacie, ateiści powodują wypaczanie moralności i staczanie się ludzkości w niemoralność i w szpony pasożytniczych filozofii - tak jak wyjaśnia to punkt #B2 na stronie morals_pl.htm. Stąd, gdyby ludzkość np. składała się wyłącznie z ateistów, wówczas szybko ludzie staliby się równie niemoralni jak mieszkańcy bibilijnych miast Sodoma i Gomora - czego przedsmak już obecnie daje nam np. porównanie co stałoby się na Ziemi gdyby Drugi Jezus ujawnił teraz swoje istnienie (tak jak wyjaśnione to zostało w punkcie #G3 strony przepowiednie.htm).
       Niefortunnie, poprzez wprowadzanie "niemoralności" ateizm uruchamia działanie ogromnie szkodliwego "skutku ubocznego". Wszakże "niemoralność" indukuje zadziałanie tzw. "przekleństwa wynalazców" oraz "wynalazczej impotencji". Te zaś szybko blokują i całkowicie unicestwiają możność dalszego "przysparzania wiedzy". Faktycznie to już poziom ateizmu jaki zaistniał w końcu 20 wieku spowodował, że w początkach 21 wieku na Ziemi całkowicie zaniknął "faktyczny postęp" (tj. zaniknął rodzaj postępu definiowany w punkcie #G4 strony o nazwie eco_cars_pl.htm, a polegający na urzeczywistnianiu całkowicie nowych idei), zaś ludzkość zaczęła się ograniczać wyłącznie do "pozornego postępu" (tj. do wyszukiwania odmiennych zastosowań dla tego co znane jest jej już od bardzo dawna). W rezultacie, w interesie zarówno Boga jak i ludzkości leży, aby na Ziemi nieustannie obecna też była określona proporcja ludzi wiedzących o istnieniu Boga i stąd przestrzegających wydane ludziom przez Boga zasady moralności i moralnego życia. Ci bowiem pewni istnienia Boga ludzie balansują blokujące postęp wiedzy następstwa "skutków ubocznych" ateizmu (tj. balansują oni następstwa "niemoralności") i powodują, że na Ziemi nieustannie istnieją obszary w których panujący tam poziom moralności umożliwia żyjącym tam ateistom efektywne "przysparzanie wiedzy". Dlatego Bóg używa najróżniejszych metod jakich skutkiem jest dynamiczne współistnienie na Ziemi zarówno ludzi pewnych istnienia Boga (którzy utrzymują "moralność" ale zaniedbują "przysparzanie wiedzy") jak i ateistów (którzy rozwijają "przysparzanie wiedzy" ale zaniedbują "moralność"). Jedna z tych metod polega na powodowaniu nieustającej walki pomiędzy dwoma obozami, tj. obozem ludzi wierzących i obozem ateistów, oraz na upewnianiu się że żaden z tych obozów NIE uzyska trwałego zwycięstwa nad drugim, oraz że ich nieustające zmagania zawsze oscylują wokół sprzyjającego celom Boga punktu równowagi. Wysiłki autora tej strony, aby oficjalnie ustanowić nową tzw. "totaliztyczną naukę", a jednocześnie aby przypadkowo NIE zniszczyć starej "ateistycznej nauki ortodoksyjnej", starają się wyjść naprzeciw owym intencjom Boga.
       Nie jest trudno odnotować, że z powodu ludzkiej inercji, na przełomie 20 i 21 wieku balans owych zmagań pomiędzy ateistami i ludźmi pewnymi istnienia Boga przechylił się niepożądanie mocno w kierunku ateizmu. To właśnie z powodu owego niebezpiecznego przechylenia się balansu w kierunku ateizmu, Bóg pozwala aby na Ziemi pojawiły się teraz formalne dowody naukowe dotyczące Boga, duszy, stworzenia, itp. - jakich historię i krókie streszczenia omawia m.in. punkt #G3 ze strony o nazwie god_proof_pl.htm, a także pojawiły się idee upowszechniane m.in. przez totalizm oraz przez Koncept Dipolarnej Grawitacji - w tym opisywana na tej stronie idea "magnokraftu" oraz opisywana w punktach #C1 i #C6 strony telekinetyka.htm idea oficjalnego powołania nowej "totaliztycznej nauki" jaka stworzyłaby balans i konkurencję dla starej "ateistycznej nauki ortodoksyjnej". Idee te są wszakże jedną z dróg prowadzących do przywrócenia tego ogromnie istotnego balansu.


#L3. Niedoskonałość ludzka powoduje także, że niemal wszystko co ludzie zdołają zbudować, włączając w to magnokrafty, używają oni potem do niszczenia:

Motto: "Jeśli magnokraft użyć do zabijania i do niszczenia, wówczas cała ludzkość może przestać istnieć w przeciągu jednego dnia."

       "Symulowanie" przez Boga skrytej okupacji Ziemi przez UFOnautów praktykujących filozofię szatańskiego pasozytnictwa, dostarcza ogromnie dalekowzrocznego i bardzo mądrego rozwiązania dla jednego z owych problemów wynikających z wysokiej niedoskonałości ludzi, tj. dla "problemu moralnego" jaki ujawni się ludzkości w chwili zbudowania przez nią działających magnokraftów. O problemie tym starałem się już ostrzegać m.in. w podrozdziałach G14 do G14.2 z tomu 3 swojej najnowszej monografii [1/5], a także i na kilku swoich stronach internetowych - np. na stronie o nazwie military_magnocraft_pl.htm. Problem ten polega na tym, że potencjał zniszczeniowy magnokraftów jest aż tak duży, iż gdyby oddać ów statek w ręce dzisiejszych moralnie niedoskonałych wojskowych, wówczas zapewne zniszczyliby oni nim całą ludzkość w przeciągu zaledwie jednego dnia. Wszakże maksymalnie niedoskonali ludzie nadal trwają przy swoim barbarzyńskim zwyczaju, że cokolwiek zdołają zbudować, zawsze w końcowym efekcie używają to do niszczenia. Oczywiście, Bóg doskonale zdaje sobie z tego sprawę. Dlatego aby zapobiec takiemu zniszczeniu całej ludzkości, Bóg podjął aż kilka bardzo rozumnych i dalekowzrocznych posunięć. Przykładowo, Bóg ilustruje obrazowo ludziom jakie byłyby konsekwencje użycia tego statku międzygwiezdnego, gdyby wpadł on w ręce moralnie niedojrzałych ludzi. Dokonajmy więc teraz przeglądu niektórych z owych konsekwencji już od dawna przewidująco i rozumnie ilustrowanych ludziom przez Boga.


#L4. Jak "symulowanie" przez Boga skrytej okupacji Ziemi przez moralnie upadłych UFOnautów ilustruje ludzkości następstwa niemoralnego użycia magnokraftów do zniewalania i eksploatowania ludzkich kolonistów z innych systemów gwiezdnych:

       Po zbudowaniu magnokraftów ludzkość osiągnie zdolność do kolonizowania innych systemów gwiezdnych, czyli do osadzania tam samodzielnych kolonii ludzkości. Jednak następstwo zaistnienia takich kolonii w sytuacji kiedy ludzkość ciągle NIE osiągnęła jeszcze zdolności do trwałego utrzymywania wymaganego poziomu moralności i moralnego życia, w końcowym efekcie sprowadziłoby się do zamieniania przez ludzi owych własnych krewniaków-kolonistów w niewolników. Omówieniu tego zamieniania poświęciłem punkty #B1 do #B6 (a także całą resztę) z odrębnej totaliztycznej strony o nazwie evil_pl.htm.
       Bóg oczywiście doskonale zdaje sobie sprawę, że posiadając magnokrafty do swej dyspozycji, ludzkość szybko zamieniliby w niewolników swoich własnych krewniaków jakich uprzednio wysłałaby w kosmos do skolonizowania innych systemów gwiezdnych. Aby więc zilustrować ludzkości, jak niemoralne byłoby takie zamienienie swych krewniaków w niewolników, od sporego już czasu Bóg "symuluje" na Ziemi sytuację, że sama ludzkość jest już skrycie zniewalana, okupowana, rabowana i spychana w dół, przez technicznie bardziej od siebie zaawansowanych, ale podupadłych moralnie, kosmicznych krewniaków ludzi którzy już od dawna dysponują statkami w rodzaju magnokraftów. Owi "symulowani" przez Boga moralnie podupadli krewnancy ludzi, popularnie są nazywani "UFOnautami". Aż cały szereg totaliztycznych stron opisuje, jak poprzez "symulowanie" skrytej okupacji Ziemi przez owych szatańskich UFOnautów, Bóg ilustruje ludziom obrazowo do czego może prowadzić rozwój techniczny dokonywany bez równoczesnego rozwoju moralnego. Na każdej z owych stron systematycznie wyjaśniane są kolejne cechy i możliwości zniszczeniowe magnokraftów, oraz ilustrowane są nam (na materiale dowodowym już nam dostępnym dzięki boskiej "symulacji" skrytej okupacji Ziemi przez UFOnautów), jak owe cechy i możliwości zniszczeniowe magnokraftów mogą być wykorzystywane dla najefektywniejszego rabunku i zniewalania ludzi. Wymieńmy więc teraz najniebezpieczniejsze z owych zniszczeniowych cech i mozliwości magnokraftów i wskażmy totaliztyczne strony, które ujawniają jak użycie owych cech dla skrytego rabunku i zniewalania ludzi jest już obecnie ilustrowane nam przez Boga.
       1. Możliwość generowania niszczycielskich tornad i huraganów przez magnokrafty. Następstwa tej zdolności zniszczeniowej magnokraftów są zilustrowane materiałem dowodowym zaprezentowanym przykładowo na stronach o nazwach tornado_pl.htm, katrina_pl.htm i hurricane_pl.htm.
       2. Możliwość generowania przez magnokrafty fal tsunami, trzęsień ziemi, obsuwisk ziemi i innych rzekomo "naturalnych" kataklizmów. Ta zdolność magnokraftów jest zilustrowana materiałem dowodowym zaprezentowanym przykładowo na stronach o nazwach day26_pl.htm, landslips_pl.htm, oraz we fragmentach strony quake_pl.htm.
       3. Możliwość użycia magnokraftów do inicjowania pożarów, powodzi i innych kataklizmów wyglądających jak wybryki natury. Ta zdolność magnokraftów jest zilustrowana materiałem dowodowym zaprezentowanym przykładowo na stronach o nazwach military_magnocraft_pl.htm, czy bandits_pl.htm. Z kolei material dowodowy jaki dokumentuje, że faktycznie to owe "wybryki natury" są sterowane przez Boga (a stąd ludzie mogą się przed nimi efektywnie bronić), są ilustrowane w puktach #I5 i #I3 ze strony o nazwie petone_pl.htm.
       4. Możliwość użycia magnokraftów do skrytego powstrzymywania postępu technicznego ludzkości. Ta zdolność magnokraftów jest zilustrowana materiałem dowodowym zaprezentowanym przykładowo na stronach o nazwach shuttle_pl.htm, wtc_pl.htm, czy nawet katowice.htm.
       5. Możliwość użycia magnokraftów do obalania systemów politycznych i do załamywania wybranych krajów. Ta zdolność magnokraftów jest zilustrowana materiałem dowodowym zaprezentowanym przykładowo na stronach o nazwach antichrist_pl.htm, czy tapanui_pl.htm.
       Oczywiście, niezależnie od powyższych sposobów użycia magnokraftów do bezpośredniego niszczenia i zniewalania, owe kosmiczne wehikuły międzygwiezdne mogą też być używane dla szybkiego i nieodnotowalnego transportowania. To z kolei pozwala symulacjom skrytych okupantów Ziemi na dokonywanie masowych uprowadzeń, gwałtów i eksploatacji biologicznych zasobów ludzi - po ich opisy patrz rozdział U z tomu 16 mojej najnowszej monografii [1/5], a także pozwala UFOnautom na prowadzenie działań opisywanych przykładowo na totaliztycznych stronach o nazwach aliens_pl.htm, sabotages_pl.htm, plague_pl.htm, predators_pl.htm, changelings_pl.htm, oraz na kilku jeszcze innych.


#L5. Jak "symulowanie" przez Boga następstw militarnego i zniszczeniowego użycia magnokraftów (UFO) ilustruje niemoralność próby zniewalania, zastraszania i cofania w rozwoju swoich bliźnich:

       Następstwa zniszczeniowego użycia magnokraftów pozwalają także na błyskawiczne wymazywanie z istnienia całych miast i krajów przez wojskowych dysponujących magnokraftem. Ostrzegawczemu zaprezentowaniu ogromnego potencjału zniszczeniowego magnokraftu poświęciłem m.in. w/w podrozdziały G14 do G14.2 z tomu 3 swojej najnowszej monografii [1/5].
       Oczywiście, Bóg również doskonale zdaje sobie sprawę, że posiadając magnokrafty wojskowi i niemoralni politycy szybko anihilowaliby wiele miast i krajów zamieszkałych przez ich wrogów. Aby więc naocznie zilustrować także ludzkości, jak niemoralne byłoby takie "wymazywanie magnokraftami z istnienia" całych miast i krajów, a także aby zilustrować jak łatwo jest dokonywać zniszczeń posiadając magnokrafty, od sporego już czasu Bóg "symuluje" na Ziemi sytuację, że niektóre społeczności, a także cała ludzkość, są powtarzalnie atakowane i niszczone przez posiadaczy wehikułów UFO identycznych do naszych magnokratów. Również aż cały szereg totaliztycznych stron poświęcilem opisom, jak poprzez "symulowanie" użycia UFO do wyniszczania ludzi i dorobku ludzkiego, Bóg ilustruje nam do czego może prowadzić rozwój magnokraftu dokonany bez równoczesnego rozwoju moralnego ludzkości. Najlepszym przykładem jawnego użycia magnokraftu jako broni masowego zniszczenia, może być zniszczenie przez UFO małej wioski w Etiopii, zwanej "Saladare" - opisywane w punkcie #E5 strony o nazwie military_magnocraft_pl.htm. Inne przykłady niemal jawnego użycia wehikułów UFO jako "broni masowego zniszczenia" opisane są na totaliztycznej stronie o nazwie day26_pl.htm; na totaliztycznej stronie o nazwie evidence_pl.htm (np. patrz tam punkt #E2); na stronie wtc_pl.htm - która cała jest poświęcona wyjaśnieniu jak drapacze chmur "WTC" z Nowego Jorku zostały zniszczone przez "symulację" wehikułu UFO typu K6; na stronie tapanui_pl.htm - która cała jest zadedykowana do zilustrowania jak za pomocą eksplozji kilku magnokraftów (UFO) daje się przemieścić bieguny Ziemi, wywołując w ten sposób "małą epokę lodową" i trwale zmieniając klimat na całej naszej planecie; a także opisane są w aż kilku fragmentach totaliztycznej strony o nazwie bandits_pl.htm.


#L6. Jak "symulowanie" UFO przez Boga przygotowuje też rodzaj "kosmiczych pomocy dydaktycznych", z pomocą których w przyszłości będzie możliwe szkolenie ludzi na efektywnych "żołnierzy Boga":

       W przeciwieństwie do ludzi, którzy typowo tak działają aby osiągać jeden ze swoich celów z pomocą jednego rodzaju działań, wszystko co Bóg czyni zawsze służy osiąganiu pojedyńczym boskim działaniem aż całego szeregu nadrzędnych boskich celów naraz. "Symulacje" UFO też więc służą więcej niż jednemu celowi. Aby dać tutaj czytelnikowi też pojęcie, jaki może być przykład innego boskiego celu symulowania UFO i UFOnautów, polecam tu przeglądnięcie punktu #B1.1 na stronie o nazwie antichrist_pl.htm, oraz punktu #J3 na stronie o nazwie malbork.htm. Owe bowiem strony i punkty omawiają m.in. środki zaradcze ujawniane analizami autora tej strony, iż Bóg najprawdopodobniej przygotowuje je na wypadek, że nasz świat i nasz Bóg może w przyszłości być skonfrontowany z innym światem rządzonym przez innego boga. Jak bowiem można się domyślić, w przypadku zaistnienia takiej konfrontacji, Bóg potrzebuje mieć z góry przygotowany plan działania, oraz dobrze wyszkoloną armię swoich własnych "żołnierzy". Jak też się okazuje, "symulacje" UFO, UFOnautów, oraz planet jakie UFOnauci zamieszkują, pozwalają Bogu począwszy już od obecnych czasów podejmować i prowadzić selekcjonowanie oraz szkolenie ludzi na przyszłych efektywnych "żołnierzy Boga". Przebieg i wyniki tego szkolenia już od dawna są zaplanowane do nasilenia, kiedy ludzkość będzie mogła już podróżować po całym wszechświecie fizycznym w międzygwiezdnych miastach-wehikułach opisywanych w punkcie #J3 na stronie o nazwie malbork.htm, zaś wzmiankowanych w Biblii pod nazwą "Nowe Jeruzalem".


Część #M: Podsumowanie, oraz informacje końcowe tej strony:


#M1. Podsumowanie tej strony:

       Na początku tej strony przypomnieliśmy sobie, że w swojej nieskończonej mądrości Bóg potworzył wszystko parami. Dlatego m.in. "silnik elektryczny" ma swoją parę w formie opisywanego tutaj "magnokraftu", zaś każdy problem ma parę w postaci swojego rozwiązania. Zwykłe zaś rozglądnięcie się dookoła po dzisiejszym świecie fizycznym ujawnia jednoznacznie co jest głównym problemem dzisiejszej ludzkości oraz co może dostarczyć rozwiązanie dla tego problemu. Wszakże problemem tym jest pasożytnicza filozofia upowszechniająca się wśród ludzi. To bowiem właśnie owa pasożytnicza filozofia podsyca niezaspokojone łakomstwo ludzi u szczytu. To ona powoduje że podczas gdy jedna grupa narodów marnotrawi żywność, inne narody umierają z głodu. To ona też indukuje wyniszczanie natury i nieodwracalne zmiany klimatu. Jednym zaś z rozwiązań dla tego problemu ludzkości byłby właśnie magnokraft opisywany na tej stronie - oczywiście gdyby ludzie podjęli jego budowę. Wszakże zbudowanie magnokraftów wyniosłoby ludzi na inne planety oraz otwarło dla ludzkości niewyczerpane zasoby kosmosu. Niestety, z badań historycznych wynika, że tylko wynalazca jest w stanie zbudować wynalezione przez siebie urządzenie szybko, tanio, oraz bezboleśnie. Kiedy zaś wynalazcy NIE pozwoli się go zbudować, innym ludziom ta sama budowa zajmie potem nieporównanie więcej czasu oraz nieproporcjonalnie większe nakłady i koszta. Pytanie które warto więc sobie zadać, to czy jest rozsądnym kontynuowanie już ponad ćwierćwiecznego ignorowania wynalazku magnokraftu oraz pozwalanie aby czas na zbudowanie tego statku przez jego wynalazcę zwolna uległ wyczerpaniu. Czy jest to cywilizowane aby w 21 wieku wynalazca "magnokraftu", "komory oscylacyjnej", oraz twórca "Konceptu Dipolarnej Grawitacji" i "filozofii totalizmu" wegetował bezrobotny oraz marnował swoje możliwości bezczynnością wymuszaną na nim przez tych co powinni widzieć jednak wolą celowo utrzymywać swoje oczy ciasno zamknięte. Czyż jest to racjonalne aby każdy kto może coś zdziałać w tej sprawie raczej zadowalał się oglądaniem w telewizji nieskończonych raportów o kolejnych błędach i pomyłkach popełnianych przez dzisiejszych polityków, czyniąc się tak zajętym telewizyjną rzeczywistością iż w prawdziwym życiu NIE ma już czasu na czynne poparcie rozwoju takich urządzeń jak opisywany tu magnokraft, czy jak "wehikuł czasu" zdolny otworzyć dostęp ludzi do nieśmiertelności.


#M2. Jak dzięki stronie "skorowidz.htm" daje się znaleźć totaliztyczne opisy interesujących nas tematów:

       Cały szereg tematów równie interesujących jak te z niniejszej strony, też omówionych zostało pod kątem unikalnym dla filozofii totalizmu. Wszystkie owe pokrewne tematy można odnaleźć i wywoływać za pośrednictwem skorowidza specjalnie przygotowanego aby ułatwiać ich odnajdowanie. Nazwa "skorowidz" oznacza wykaz, zwykle podawany na końcu książek, który pozwala na szybkie odnalezienie interesującego nas opisu czy tematu. Moje strony internetowe też mają taki właśnie "skorowidz" - tyle że dodatkowo zaopatrzony w zielone linki które po kliknięciu na nie myszą natychmiast otwierają stronę z tematem jaki kogoś interesuje. Skorowidz ten znajduje się na stronie o nazwie skorowidz.htm. Można go też wywołać z "organizującej" części "Menu 1" każdej totaliztycznej strony. Radzę aby do niego zaglądnąć i zacząć z niego systematycznie korzystać - wszakże przybliża on setki totaliztycznych tematów które mogą zainteresować każdego.


#M3. Emaile autora tej strony:

       Aktualne adresy emailowe autora tej strony, tj. oficjalnie dra inż. Jana Pająk, zaś kurtuazyjnie Prof. dra inż. Jana Pająk, pod jakie można wysyłać ewentualne uwagi, własne opinie, lub informacje jakie zdaniem czytelnika autor tej strony powinien poznać, podane są na autobiograficznej stronie internetowej o nazwie pajak_jan.htm (dla jej wersji w języku HTML), lub o nazwie pajak_jan.pdf (dla wersji strony "pajak_jan.pdf" w bezpiecznym formacie PDF - które to bezpieczne wersje PDF dalszych stron autora mogą też być ładowane z pomocą linków z punktu #B1 strony o nazwie tekst_11.htm).
       Prawo autora do używania kurtuazyjnego tytułu "Profesor" wynika ze zwyczaju iż "z profesorami jest jak z generałami", znaczy raz profesor, zawsze już profesor. Z kolei w swojej karierze naukowej autor tej strony był profesorem aż na 4-ch odmiennych uniwersytetach, tj. na 3-ch z nich był tzw. "Associate Professor" w hierarchii uczelnianej bazowanej na angielskim systemie uczelnianym (w okresie od 1 września 1992 roku, do 31 października 1998 roku) - który to Zachodni tytuł stanowi odpowiednik "profesora nadzwyczajnego" na polskich uczelniach. Z kolei na jednym uniwersytecie autor był (Full) "Professor" (od 1 marca 2007 roku do 31 grudnia 2007 roku - tj. na ostatnim miejscu pracy z naukowej kariery autora) który to tytuł jest odpowiednikiem pełnego "profesora zwyczajnego" z polskich uczelni.
       Proszę jednak odnotować, że dla całego szeregu powodów (np. mojego chronicznego deficytu czasu, prowadzenia badań wyłącznie na zasadzie mojego prywatnego hobby naukowego, pozostawania niezatrudnionym i wynikający z tego mój brak oficjalnego statusu jaki pozwalałby mi zajmować oficjalne stanowisko w określonych sprawach, istnienia w Polsce aż całej armii zawodowych profesorów uczelnianych - których obowiązki zawodowe obejmują m.in. udzielanie odpowiedzi na zapytania społeczeństwa, itd., itp.) począszy od 1 stycznia 2013 roku ja przyjąłem żelazną zasadę, że NIE odpowiadam na żadne emaile wysyłane do mnie przez czytelników moich stron - o czym niniejszym szczerze i uczciwie informuję wszystkich zainteresowanych. Stąd jeśli czytelnik ma sprawę która wymaga odpowiedzi, wówczas NIE powinien do mnie pisać, bowiem w takiej sytuacji wysłanie mi emaila domagającego się odpowiedzi w świetle ustaleń filozofii totalizmu byłoby działaniem niemoralnym. Wszakże spowodowałoby, że czytelnik doznałby zawodu ponieważ z całą pewnością NIE otrzymałby odpowiedzi. Ponadto taki email odbierałby i mi sporo "energii moralnej" ponieważ z jego powodu i ja czułbym się winnym, że NIE znalazłem czasu na napisanie odpowiedzi. Natomiast w/g totalizmu "moralnym działanien" w takiej sytuacji byłoby albo niezobowiązujące mnie do odpisania przesłanie mi jakichś informacji które zdaniem czytelnika są warte abym je poznał, albo teź napisanie raczej do któregoś z zawodowych profesorów polskich uczelni - wszakże oni są opłacani z podatków obywateli między innymi za udzielanie odpowiedzi na zapytania społeczeństwa, a ponadto wszyscy oni mają sekretarki (tak że korespondencja NIE zjada im czasu który powinni przeznaczać na badania).

Fot. #M1 (G1 z [4b])
Fot. #M1 (G1 z [4b]): Dr inż. Jan Pająk, czyli ja - autor tej strony pokazany na tle pięknego krajobrazu Nowej Zelandii.
       W czasach wykonania tego zdjęcia wykładałem informatykę na jednej z nowozelandzkich politechnik. Specjalizowałem się wówczas w Inżynierii Softwarowej (Software Engineering), potem zaś również w technologii stron internetowych oraz w przetwarzaniu informacji z użyciem technologii internetowej. Jednak w oryginalnej specjalizacji naukowej opanowałem dosyć wysoki poziom ekspertyzy w inżynierii, naukach fizycznych, oraz matematyce, których dotyczyła moja edukacja oraz znacząca proporcja doświadczenia zawodowego. Z kolei moje badania, finansowane z mojej prywatnej kieszeni i prowadzone nieustannie od 1972 roku, przez zażenowanych decydentów zwykle opatrywane przezwiskiem "hobbystyczne" (ja wolę je nazywać "free lance"), obejmują między innymi także rozwój nowych kierunków ludzkiej techniki i filozofii, włączając w to nowe zasady działania urządzeń napędowych przyszłości, nowe zasady generowania oraz przechowywania energii, nowe sposoby komunikowania się na odległości międzygwiezdne, nowe systemy do zdalnego wykrywania trzęsień ziemi i do podnoszenia przedtrzęsieniowego alarmu, oraz wiele więcej. Owe badania zostały nazwane moim "hobby" nie z mojego wyboru, a z koniecznosci czy z "musu". Stało się tak ponieważ moje już około 40-letnie poszukiwania instytucji która zaakceptowałaby moją nieprzerwanie otwartą ofertę oficjalnego dokonywania w niej badań tych tematów, jak dotychczas okazały się bezowocne (tj. prawdopodobnie narazie taka instytucja wogóle nie istnieje na Ziemi - jeśli przypadkowo ktoś by ją znalazł lub stworzył, wówczas proszę pamiętać aby dać mi znać). Zresztą nazwa "hobby" zupełnie nie pasuje do tematyki tych badań. Wszakże sugeruje ona nastawienie głównie na osiągnięcie jakichś korzyści osobistych. Tymczasem jakież to korzyści osobiste może ktoś osiągnąć poprzez budowę statku międzygwiezdnego, akumulatora energii o nieograniczonej pojemności, czy urządzenia alarmującego przed nadejściem potężnego trzęsienia ziemi. Ponieważ narazie nie istnieje instytucja na Ziemi, która zainteresowana byłaby w sponsorowaniu tych badań, aby jakoś zarobić na ich finansowanie (i na własne życie), kiedy tylko znajdowałem jakieś zatrudnienie wówczas głównie zajmowałem się wykładaniem i badaniami w dowolnym obszarze w jakim ktoś aktualnie mnie wynajął do pracy. Z kolei fundusze jakie zdołałem zarobić, a także niemal cały wolny czas jaki mi pozostawał do dyspozycji, przeznaczałem na owe niby "hobbystyczne" badania technologii i filozofii przyszłości. Po dalsze szczegóły na temat przebiegu mojego życia i losu nieustannego wędrowca, warto odwiedzić stronę internetową pajak_jan.htm - o mnie.


#M4. Kopia tej strony jest też upowszechniana jako broszurka z serii [11] w bezpiecznym formacie PDF:

       Niniejsza strona dostępna jest także w formie broszurki oznaczanej symbolem [11], którą przygotowałem w "PDF" (od "Portable Document Format") - obecnie uważanym za najbezpieczniejszy z wszystkich internetowych formatów, jako że do niego normalnie wirusy się NIE doczepiają. Ta klarowna broszurka jest gotowa zarówno do drukowania, jak i do wygodnego czytania z ekranu komputera. Ciągle ma ona też aktywne wszystkie swoje zielone linki. Stąd jeśli jest czytana z ekranu komputera podłączonego do internetu, wówczas po kliknięciu na owe linki otworzą się linkowane nimi strony lub ilustracje. Niestety, ponieważ jej objętość jest około dwukrotnie wyższa niż objętość strony internetowej jakiej treść ona publikuje, ograniczenia pamięci na sporej liczbie darmowych serwerów jakie ja używam, NIE pozwalają aby ją na nich oferować (jeśli więc NIE załaduje się ona z niniejszego adresu, ponieważ NIE jest ona tu dostępna, wówczas należy kliknąć na któryś odmienny adres z Menu 3, poczym sprawdzić czy stamtąd juź się załaduje). Aby otworzyć ową broszurkę (lub/i załadować ją do własnego komputera), wystarczy albo kliknąć na następujący zielony link albo też z którejś totaliztycznej witryny otworzyć sobie plik nazywany tak jak w powyższym linku.
       Jeśli zaś czytelnik zechce też sprawdzić, czy jakaś inna totaliztyczna strona właśnie studiowana przez niego, też jest już dostępna w formie takiej PDF broszurki, wówczas powinien sprawdzić, czy wyszczególniona ona została w linkach z "części #B" strony o nazwie tekst_11.htm. Owe linki wskazują bowiem wszystkie totaliztyczne strony, które już zostały opublikowane jako takie broszurki z serii [11] w formacie PDF. Życzę przyjemnego czytania!


#M5. Copyrights © 2013 by Dr Jan Pająk:

       Copyrights © 2013 by Dr Jan Pająk. Wszelkie prawa zastrzeżone. Niniejsza strona stanowi raport z wyników badań jej autora - tyle że napisany jest on popularnym językiem (aby mógł być zrozumiany również przez czytelników o nienaukowej orientacji). Idee zaprezentowane na tej stronie są unikalne dla badań autora i dlatego w tym samym ujęciu co na tej stronie (oraz co w innych opracowaniach autora) idee te uprzednio NIE były jeszcze publikowane przez żadnego innego badacza. Jako taka, strona ta prezentuje idee które stanowią intelektualną własność jej autora. Dlatego jej treść podlega tym samym prawom intelektualnej własności jak każde inne opracowanie naukowe. Szczególnie jej autor zastrzega dla siebie intelektualną własność odkryć naukowych, wynalazków i zasad działania opisanych na tej stronie. Zastrzega więc sobie, aby podczas powtarzania w innych opracowaniach jakiejkolwiek idei zaprezentowanej na niniejszej stronie (tj. jakiejkolwiek teorii, zasady działania, dedukcji, intepretacji, urządzenia, dowodu, itp.), powtarzająca osoba oddała pełny kredyt autorowi tej strony, poprzez wyraźne wyjaśnienie iż autorem danej idei, zasady i/lub badań, jest Dr Jan Pająk, poprzez wskazanie internetowego adresu niniejszej strony pod którym idea ta i strona oryginalnie były opublikowane, oraz poprzez podanie daty najnowszego aktualizowania tej strony (tj. daty wskazywanej poniżej).
* * *
If you prefer to read in English
click on the flag below

(Jeśli preferujesz czytanie w
angielskim kliknij na flagę poniżej)


Data założenia tej strony internetowej: 25 września 2004 roku
Data jej najnowszego aktualizowania: 21 października 2013 roku
(Sprawdź w adresach z Menu 4 czy istnieje już nowsza aktualizacja)